(北京邮电学院 朱云龙)目前半导体技术飞跃发展,在很多电子仪器上都广泛使用,半导体收音机也是我们发展的方向。最近我们结合教学研究工作试制了几种方案的半导体收音机,现就其中一种加以介绍,供有关生产部门和业余爱好者参考。

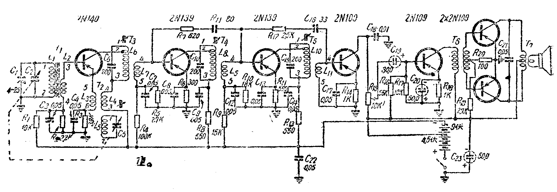
这是一架超外差式收音机,它的收听频率范围是520—1600千周,灵敏度达300微伏/米,通频带6000周,输出功率当非线性失真小于10%时为100毫瓦。电路如图1,是由7只P-N-P型晶体三极管组成。2N140作变频,2只2N139作两级中频放大,1只2N109作集电极检波,另一只2N109作低频放大,末级由2只2N109作推挽功率放大。由于晶体管都是用P-N-P型的,所以集电极都用负压供给,正端接地。又从设讦观点及晶体管特性考虑到2N139和2N140希望用9伏而2N109则用4.5伏,因此用6个1.5伏干电池串联供给,在4.5伏上抽一头供2N109使用。为了使各级间能得到最大的放大系数及良好的匹配,本机全部采用共发射极电路,同时用二级中放来保证检波有足够大的输入电压以减小检波的非线性失真。

T\(_{1}\)、T2、T\(_{3}\)、T4、T\(_{5}\)是自行绕制,它的数据如图2。T1是磁性天线,在长50毫米、直径8毫米的磁性瓷棒上用7股45号纱包线初级绕90圈,次级绕7圈,L\(_{1}\)为490微亨。T2是振荡线圈,是在直径8毫米的塑料管上绕制,中间用长16毫米、直径6毫米华北厂出品的TM\(_{4}\)磁性瓷作铁心,导线用7股45号纱包线。其中L5为290微亨。T3、T\(_{4}\)、T5都是中周变压器,所用导线、线圈管及铁心和振荡线圈一样。其中L\(_{6}\)、L8、L\(_{1}\)0都是610微亨,中频频率选用465千周。也可以采用华北厂出品的友谊牌小型中周变压器。T6、T\(_{7}\)是用华北厂出的半导体小型低频的级间变压器和输出变压器,喇叭是用2.5寸的小喇叭,阻抗为10欧。C2、C\(_{5}\)是用华北厂出的小型双连电容器,它的电容量C2是12—200微微法,C\(_{5}\)是15—85微微法。