(金林一 要福祥)广播电台和广播站对节目录制或放送的计时工作,一般是利用普通时钟或手动跑表。我们在技术革新运动当中试制了一部利用电子控制的自动计时器,它的作用能在录、放音开始后自动计时,录放完毕计时电表自动复原,返回到零点,再放就再计时。这部计时器制成后曾经长时期的实际使用,接触良好,运转灵活,适合使用上的要求。

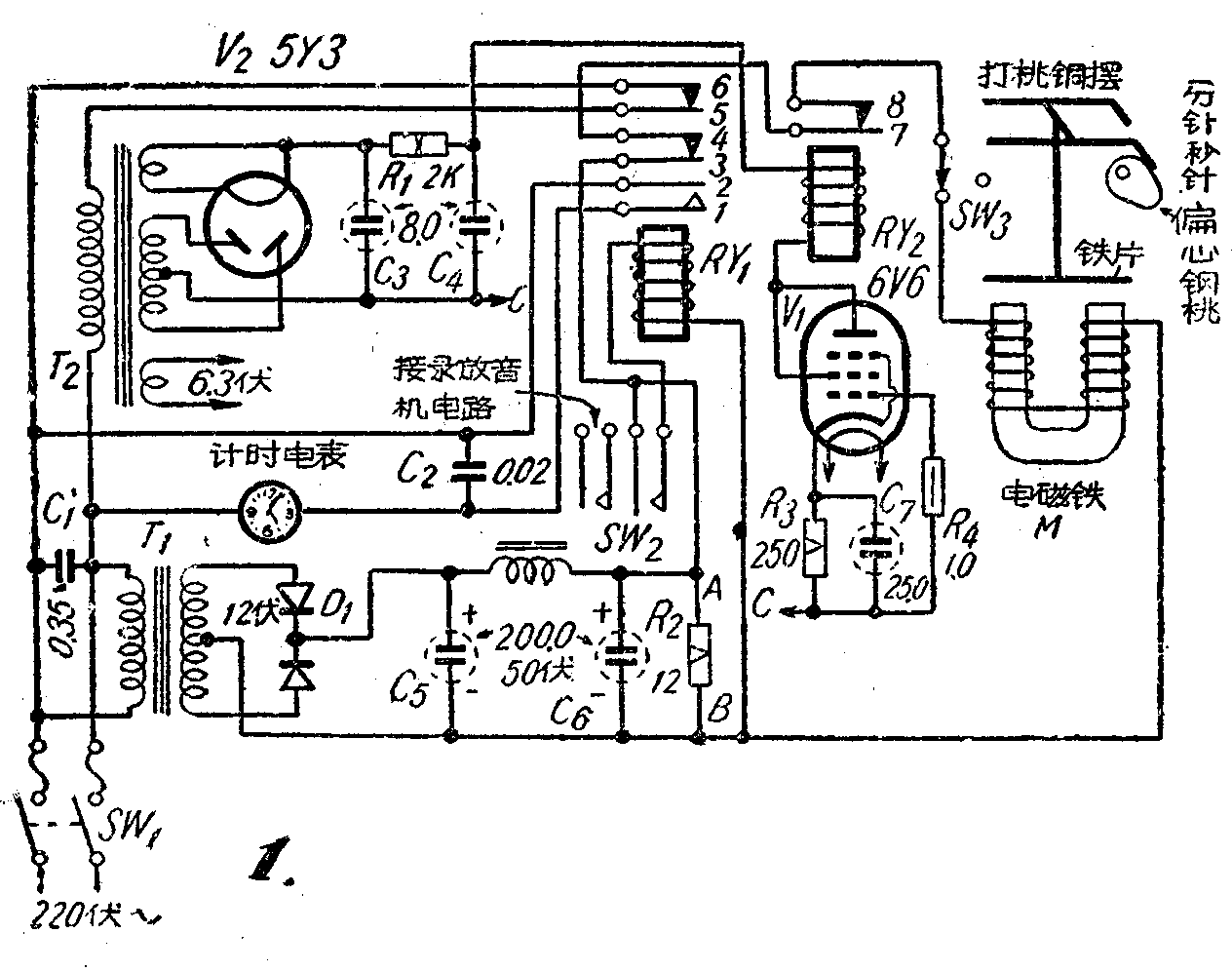
自动计时器的全部线路如图1。工作过程是这样的:①录音或放音前先将SW\(_{1}\)闭合,220伏电源经变压器T1、硒整流片D\(_{1}\)降压整流后,在A和B两端可得6伏直流电压。录放音开始时,连接录放音机电路的SW2闭合,继电器R\(_{y1}\)有电流,吸动接点1、2闭合,接通计时电表电路,电表开始转动计时。②录放音停止时,SW2开路,R\(_{y1}\)断电使接点1、2断开,电表停止计时。③Ryl的3、4和R\(_{y2}\)的7、8接点都是常闭式的,录放音停止时,这些接点恢复闭合,A、B端6伏电压经接点3、4和7、8流过电磁铁M,吸动铁片,拉动打桃铜柄,迫使计时电表上分针秒针偏心钢桃旋转,使分秒针复位,返回至零点位置。④Ry1上的5、6接点也是常闭式的,录放音停止,SW\(_{2}\)断开时,接点5、6恢复闭合,使电源变压器T2的电源回路接通,电子管V\(_{1}\)和V2开始工作,约8秒钟后,V\(_{1}\)的屏流经过继电器Ry2,吸动衡铁,断开接点7、8,切断电磁铁M的电流,使铁片和打桃铜柄借弹簧拉力返回原位,完成自动释放程序。⑤如果需要连续计时,无须分秒针自动打回,可以在录放音过程中将SW\(_{3}\)断开。
这部计时器的实际制作包括自动控制线路和计时电表改造两个部分。控制线路里T\(_{1}\)为低压12伏有中心抽头的电源变压器,用18/7—5型硒片两片组成全渡整流,经过LC滤波,有6伏直流输出。T2为一般五灯机电源变压器,高压由5Y3整流,供给6V6用。R\(_{y1}\)为6伏280毫安3对接点直流继电器,Ry2为6伏20毫安单接点直流继电器,图1中的接点均为不工作时的位置。C\(_{1}\)、C2为消灭火花电容器,R\(_{1}\)作为假负荷,分去一部分整流后的电流,使电压比较稳定,Ry1和电磁铁M可以工作平滑。SW\(_{2}\)为并联在放音录音机控制电路的闸力接触片,放音开始时接通,停止时断开。
控制电路里的计时电表是用5时电钟,参照马针表(跑表)自动复位结构改造的,方法是把电钟上层传动部分的时针轮、时针跨轮,时针传动顶杆全都拆掉,只剩用原有的三角形铜板、分针轮、秒针轮和跨轮。另外按照秒针轮和分针轮的原径粗细,分别做两只直径稍大一点的铜质套管,必须套在轴上可以旋转灵活。另用钢质材料,磨制两个桃形小偏心轮,桃的周圆用油石打磨得非常光滑,在桃形的尾端钻出一个与铜套管外径相同的圆孔,将铜套管下端套进孔内,使套管与桃成垂直形焊接起来。在套管根部左右两边各开一条约为圆周1/3的隙缝,再用钢丝弯制小弹簧夹子,弹簧顶端用钢丝固定在钢桃的中央,夹子一端分从套管左右隙缝伸进套管里边,目的是在钢桃套管套进秒针或分针轴上时,可以夹在轴上,在钢桃没有受到阻力时,套管可以随着针轴旋转,但在受到阻力时又可随着阻力自己转动(见图2)铜套管和钢桃制成后,套在分针和秒针轴上,分针轮和秒针钢桃之间,以及秒针钢桃与秒针轮之间,还应加做支架隔开,使它们各自旋转灵活。分针和秒针轴在受到套管钢桃夹着的部位,还要锉出一圈浅槽,套管钢桃上的弹簧夹到轴上的槽里,使套管钢桃的在轴上的部位固定,不致上下移动。最后把分针和秒针分别改焊在铜套管的上端。

录放音停止后,计时分针秒针复位返还开始时的零点,是靠电磁铁M线圈通过电流生磁,吸动铁片,带动两个有弹簧拉着的铜柄打动钢桃旋转返回到一定地位。电磁铁系用软铁弯成马蹄形,用23号线每面绕1500圈,两面共3000圈,吸力约为1/4斤,电流2.5安。图2是打桃结构的示意图。打桃铜柄尖端的三角部分须用钢质材料,取其硬滑耐磨。由于钢桃是偏心的,铜柄尖端又是三角形的,所以压在桃上,可以使桃旋转回到对三角尖一边成为最平的部位。