(一)本刊1959年第2期介绍的“电子自动报尿器”,对托儿所、妇产院来说,是个很有用的设备。按原文介绍的装置,要知道哪个婴儿尿湿尿布,还必须进行检查,虽然第8期里提到了一个改进的办法,也还必须搬动开关和分线器,还不能算是十分完善。我们试验了一个新的表示床位的方法,设备比较复杂一点,但是可以完全自动表示出床位,方便不少。
自动表示床位的原理仍然是应用笛卡氏座标法,但将开关与分线器改为电子管控制,改进的线路如附图,并多做一只灯匣来表示出尿湿的床位。照图安装,用10只控制电子管和一只整流管,便能控制100个床位。线路里各控制电子管用6H1П,整流管用5Y3,蜂鸣器系用永华电工器材厂产品3伏直流峰鸣器改制,将下端接点拆除不用。各继电器也用永华蜂鸣器改制,将原接点反转,并增加上接点片一片,原用0.274毫米线拆除,改用0.09(43号)漆包线绕满即可。各电阻R全用1兆欧。(史福隆)

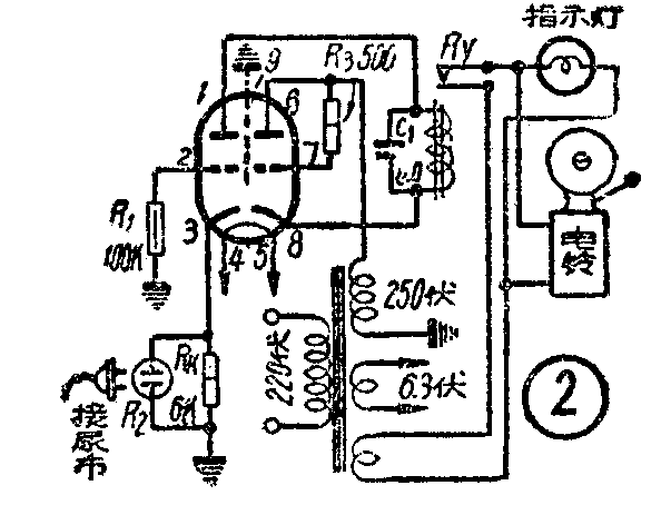
(二)按照本刊1959年第2和第8期介绍的电子自动报尿器进行试制,在试验中感到丙电压用于电池不很方便,同时也不经济。在试作中我们进行改进,将原来尿布湿后的电阻(R\(_{2}\))改加在阴极回路里如附图,这样便可以不用另加丙电干电池了。工作原理是利用阴极电阻阻值变化控制屏流的变动。阴极电阻Rk为6K欧时,屏流截止无输出,继电器不动作,当尿布湿后,尿布的电阻约为3.5K至4K欧,比阴极电阻低,和阴极电阻并联,栅偏压减小,屏极即有2毫安的屏流流动,继电器动作。

原图利用电子管6H1П一半作半波整流,整流电压为150伏,现为提高使继电器R\(_{y}\)更灵敏,整流电压需要提高到250伏,因全机阴极电流很低,故不会损坏电子管,原滤波电容器C2可以省略不用。继电器需要非常灵敏,应用0.09毫米直径的漆包线绕成直流电阻为2000欧。这样改制经过试用,动作灵敏,并无延时影响。(啜夫前)