(周彝仁)在大闹技术革命向机械化、自动化进军的今天,电子学在工业上的应用愈来愈广。在纺织技术中,以高压静电的应用来说,就有静电纺纱、静电植绒等许多用途。我们曾参考兄弟单位的经验。利用旧有设备,制成了一具高压静电发生器,用在梳棉机和静电操车上,经过实验,证明性能很好。
高压静电发生器实质上就是一具高压电整流器,利用整流输出高压静电产生的强电场,造成两异极间的吸收力。它的特点是电压高(在6千伏以上),负荷小(在200微安左右)。

高压静电发生器接线方式有两种如图1中甲和乙,区别在于高压整流管灯丝处于高压端和低压端的位置不同。两种接线的选择可以根据设备条件而定。例如高压变压器上已有两只高压瓷套管,其中一只并能承受两倍以上的电压,我们就可选择高压整流管灯丝处于低压端的接线法。这时灯丝电源变压器采用一般的绝缘即可。如果高压变压器只有一只高压瓷套管,即如一般高压试验变压器一样,就要选择高压整流管灯丝处于高压端的接线法。这时的灯丝电源变压器须要特别设计,它的次级绕组对地和初级绕组之间的绝缘要求很高,设计中还要考虑最高使用电压和安全系数等。

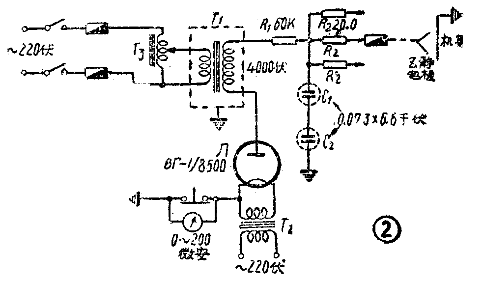
我们装置的高压静电发生器接线是属于高压整流管丝极处于低压端的一种。线路如图2。其中高压整流管Л是主要的元件,根据使用要求,它的负荷是持续的,因此必须具备足够的抗电强度和发射电流。我们采用国产汞弧整流管BГ-1/8500。在选用高压整流管时应注意的是,由于线路里接有高压电容器C,整流器在工作中将受到两倍的反电压,如输出最高电压为6千伏,则整流器两端将受到12千伏的巅值反电压。在这样工作条件下,对于丝极电压的正确度要求很高,例如我们所采用的2.5伏丝压变动范围不允许超过±0.2伏以上。如果电源变动较大,应在输入端加装自耦变压器,以便调节。电子管管脚的接触状态也不能忽视。如果接触不良,即使接触电阻很小,也会造成很大的电压降,致使灯丝发热量不够,水银不能完全蒸发,促成电子管迅速失效。
高压变压器T\(_{1}\)采用的是6000伏/100伏,400伏安的电压互感器,它具有两只高压瓷套管,正适合使高压整流管灯丝处于低压端的要求。灯丝电源变压器是自绕一般绝缘的220伏/2.5伏,50伏安变压路。R1 是限流电阻,用来预防静电极与地短路时限制短路电流,达到保护高压变压器和微安表的目的。它的阻值可按每伏10欧计算,这里用了一只5瓦600K的炭质电阻。滤波稳压电容器C是由两只6.6千伏油浸纸质电力电容器,各为0.073微法,串联起来,使它能够承受12千伏的反电压,电容值一般造为0.01至0.1微法。R\(_{2}\)是为防止误触静电极发生电击事故的保护电阻,是20兆欧5瓦炭质电阻,阻值不宜太大,否则会减弱静电场的作用。静电极Z为镀锌铁皮制成,它的大小须按使用要求设计。它与地之间实际是构成一个电容器的形式,与机身之间的绝缘要求很高;用1000伏摇表测量其绝缘电阻应在2000兆欧以上,否则将因泄漏电流过大而减弱静电场作用。直流微安表用以检测静电发生器发射电流量,这里是接在低压侧的,这样操作比较安全。Ta是调节电源电压的自耦变压器,我们用的是单相3千伏安的。
整个静电发生器装在一只木制箱中,分为上下两层,上层装载高压器件,如整流管、高压变压器等。下层装置低压器件,如灯丝变压器,自耦调压变压器等。高压静电通过木箱顶部高压瓷套管输出,高压输出导线采用汽车用高压火花塞线。高压电容器最好与其他器件分开,单独安置,因为有时它会爆炸。各接地线最好连在一起,构成接地网,接地电阻不大于2欧,这样才可保证机件的使用安全可靠。