我们试装了两架交直流两用12瓦扩音机,它不仅可以供田头、工地使用,也适合于白天没有市电电源的城镇、人民公社或工矿企业建立小型有线广播站。现在介绍出来,供大家参考。
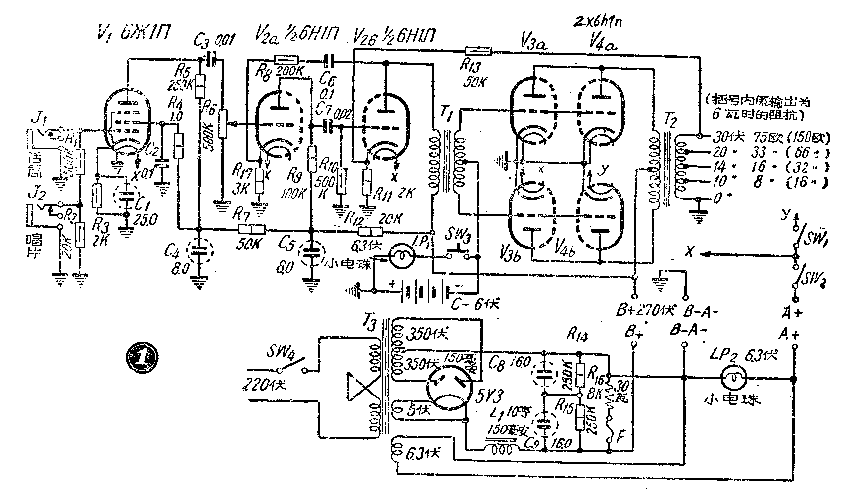
全机共用5只电子管:6Ж1П作话筒电压放大,GHlП作第二电压放大和推动级,2×6H1П作并联推挽乙类放大(单用1只6H1П作乙类放大时输出最大功率6瓦),5У3在用交流电源时作整流管,用直流电源时可以作乙电池充电管。
6H1П作乙类放大时特性如下:
灯丝电压6.3伏
灯丝电流0.6安
栅偏压-6伏
屏极电压 270伏
输入峰压(栅至栅)25伏
推动电力0.24瓦
零信号时屏流(2×6H1П)8毫安
最大信号输入时满负荷屏流 88亳安
屏极负荷电阻 6600欧
最大输出功率12瓦
这架机器的电路见图1。图中C\(_{6}\)、R8和R\(_{17}\)以及R13和R\(_{11}\)组成了负回授网络,用以改善音质、全机电路简单,除输入和输出变压器T1、T\(_{2}\)需自绕外,制作容易,现把T1、T\(_{2}\)的绕制数据开列如下:

输入变压器T\(_{1}\)用质量较好的硅钢片,截面积为2.56平方厘米,初级用中规0.1号漆包线绕30O0圈,次级用中规0.16号漆包线绕1600圈,在800圈处抽头,铁芯顺插。垫一张O.2毫米绝缘纸,绕法如图2。

输出变压器T2也用质量较好的硅钢片,截面积6.75平方厘米,初级用中规0.18号漆包线绕2200圈,在1100圈处抽头,次级共232圈,0-8欧用中规0.81号漆包线绕76圈,8—16欧线段用中规0.71号漆包线绕32圈,16-33欧线段用中规0.56号漆包线绕47圈,33—75欧用中规0.45号漆包线绕77圈。铁芯对镶,不必留空隙,绕法如图3。

安装时,底板上零件的排列如图4。

扩音机在每次使用时,应先按按钮SW\(_{3}\),看小电珠发光亮度是否正常,如亮度不够,表示C电电压不足,应换新电池,如果C电电压不足或漏接C电,将使强放管屏流过大而失效。一般C电池可用三个月以上。
在用直流电源时,我们用一个容量为30安时的蓄电池来供给灯丝电源,乙电用6个45伏干电池串联接成270伏使用。
全机灯丝电流(6伏时)为1.8安,30安时的蓄电池可以使用15小时,再行充电,但最好随用随充,不要超过15小时。蓄电池电压不应低于5.6伏,否则会降低蓄电池的使用寿命。
乙电池消耗比较大,最好也进行充电,以便延长乙电池寿命(作为固定装置时,乙电用于电池不够经济,最好改用乙电蓄电池供电,节省维护费用——编者)。只要乙电池的锌皮没有腐蚀,内部电液没有干涸,进行充电都有一定效果。充电适时,可以使电池寿命延长一倍左右。我们用6个45伏乙电串联,作12瓦输出,曾作如下测试:新一次用30小时,乙电降至245伏,用40毫安电流充电5小时,电压升高到275伏;第二次使用30小时,电压降至235伏,用40毫安电流充电6小时,电压回升到270伏;第三次用20小时,电压降为230伏,再用40亳安充电6小时,电压回升到268伏,目前尚在使用。估计作12瓦输出时,电池费用每小时约4角多。
假使用6瓦输出时,电池费用就省得多了。
充电时电路接法见图5。充电时应注意下面几点:

1.充电时应注意电池电压的变化情况,若经一两小时,电压、电流不见增加,应停止充电,加以检查。
2.充电电流大小可调节可变电阻。充电电流不宜过大,以免电池发热,影响充电效果。
3.一般只要电压回升,不应当测量短路电流,否则即使安培表与电池接合的时间仅仅是一个极短的瞬间,也会由于大量放电,大大缩短电池寿命。
4.充电时,把机内泄放电阻断开,我们是在机内安装保险丝来控制,以免突然停电时,乙电放电,造成无调损失。(陈今凡)