Л-2型自动控制器是供个别交通岗位变换有色信号灯和交叉控制成串有色交通灯之用。个别岗位的自动控制器间的联系用双线。作交叉控制用的自动控制器间连接的方块图如图1所示。

串联联接有这样的优点,它不需要特殊的同步脉冲发生器。双线联络线可以有两种,一种是空中的,一种是地下的。当供给电压为60伏时,脉冲电流不超过50毫安。两个自动控制器间连接线的电阻可达2000欧,因此完全可以使用野外的电话双铁线。

Л-2型自动控制器的原理图如图2。自动控制器由五个时间继电器组成。其中有四个是由两只6H8C电子管Л\(_{1}\)、Л2来动作。这些继电器是用作延迟燃点交通灯的信号。所有四个PKH圆形铁心继电器的接点组相互间的连接使得它们能够按顺序地动作。
继电器P\(_{4}\)首先接通,然后P3等相继接通。这些继电器的簧片一直保持到继电器P1接通。P\(_{1}\)刚一合上,其他衔铁就有次序地一个个地释放,然后再周而复始。吸持时间(即信号灯亮的时间)由电容器C7、C\(_{8}\)、C9、C\(_{1}\)0的电容量和R6至R\(_{9}\)、R17至R\(_{26}\)的电阻数值决定。信号灯燃亮的时间的长短可以容易地用变化电位器的数值来达到。
所有电子管的屏极由变压器TP\(_{1}\)高压线圈直接供给。电容器C1至C\(_{5}\)是用来平滑继电器线圈中的交流电流的脉动成份。继电器P1—P\(_{4}\)的接点轮流接通具有较大功率接点的执行继电器MKY-48,它是用来变换彩色信号灯的。
MKY-48型继电器P\(_{7}\)是用来接收同步信号,这种同步信号是由于前一级控制器继电器P1的接点1—2闭合的结果。这些接点一合上的时候,P\(_{7}\)继电器的衔铁即将吸上,而它的接点4—5即连上,继电器的线圈此时构成闭合回路直到继电器P8动作。这个继电器的动作时间由电位器R\(_{16}\)的数值决定。当继电器P8动作时,它的接点1—2释放,因此P\(_{6}\)的线圈中电流切断,控制器将回复到原来状态,以准备接收下一同步脉冲。
第五时间继点器P\(_{8}\)的3—4接点的闭合将引起C7经过R\(_{ll}\)迅速放电而使循环结束。
因为这种自动控制器每一部都有闭合循环作用,当任何外来的意外原因而使同步破坏时,自动设备仍单独继续工作。为了能得到同步的稳定,需要事先进行调整。
这种自动控制器的底盘在遇意外时应能随时调换,调换动作应能在三分钟内完成。
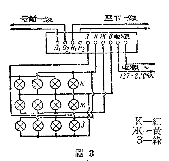
在Л-2自动控制器中的所有直流继电器使自动控制器在长时期内不停止工作。所有继电器平均每分钟动作一次,每一继电器的接点每一昼夜需动作1440次。使用MKY-48型直流继电器,可在足够长的时间内,不致产生衔铁粘合现象而停止工作。自动控制器接到交通灯的线路见图3。

这种自动控制器装在厚1.5毫米的铁皮做成的垂直框架上,尺寸为250×225毫米,外形如本文标题旁图案所示,基本零件排列如图4、5所示。底盘装于300×260×180毫米的金属外壳内,外壳以1毫米厚的铁片做成。这种自动控制器完全采用国产的通用无线电零件制成。


所有PKH圆形铁心继电器线圈,均用0.1毫米径漆包线绕20000圈。线圈直流电阻为2000欧。MKY-48直流继电器,用0.1毫米径漆包线绕1900圈,所有继电器均垂直装置,以便利检查和调整接点。
电源变压器TP\(_{1}\)用Ш-19钢片叠厚至56毫米。初级圈Ⅰ(抽头1、2、3)有两线圈,各用0.6毫米径漆包线绕500及365圈,升压圈Ⅱ(抽4、5),用0.35毫米径漆包线绕1020圈。继电器供电线圈Ⅲ(抽头6、7)用0.23毫米径漆包线绕240圈。灯丝线圈Ⅳ用1.0毫米径漆包线绕24圈。执行继电器MKY-48用ДГЦ-25锗二极管供电。
面板正面装各个电位器的旋钮和刻度盘,度盘上刻度为交通灯燃亮持续时间秒数,左上角装电位器P\(_{16}\)旋钮及按时间刻度的刻度盘,以表示循环周期长短。
自动控制器可用四个带螺钉孔的脚装于建筑物的墙壁上,或用一对轭铁装于电杆上。
自动控制器可按正规的继电器调整方法调整,这里应特别指出的是PKH圆形铁心继电器应同时开合,接点簧片弹力应合工厂规定数值。在采用MKY-48继电器时,它的两组切换接点应并联。继电器P3应调整使接点1—2断开比接点3—4闭合略慢。自动控制器作交替顺序使用时,调整与接法如下:
整个控制器上的R\(_{17}\)、R18、R\(_{19}\)及R20电位器,开始由较高位数的刻度然后到低位数的刻度盘,逐渐精确到秒,以确定工作循环周期。要将第一控制器比其余四个后5秒,可旋动及R\(_{17}\)延长绿灯燃亮时间。
R\(_{16}\)阻值变化,所有控制器都改变循环周期,这种时间,是使交通灯间的一段路上的交通疏通的时间。
时间的改变应用秒表校正。因此必需在输出板上,将接线柱a\(_{1}\)、a2联上,同时按下秒表,当P\(_{8}\)动作时,停下秒表。秒表所指时间即为周期改变时间。然后这部控制器联入联环中,因之接通时间应该没有差别,经过几个循环之后,名个控制器动作应该完全彼此同步。
各继电器接点应该每两个月清刷一次。最好用洁净酒精洗擦,并用麂皮擦干。PKH圆形铁心继电器接点不应用砂纸擦,否则将很快就损坏掉。
6H8C屏流不应小于7.8毫安,若小于此数,则电子管即应调换。自动控制器停止工作,一般可能是电压降低,若电源电压比正常电压低20%则不能工作。(苏联 Б.卡赞采夫 译自苏联无线电杂志1959年6月号)