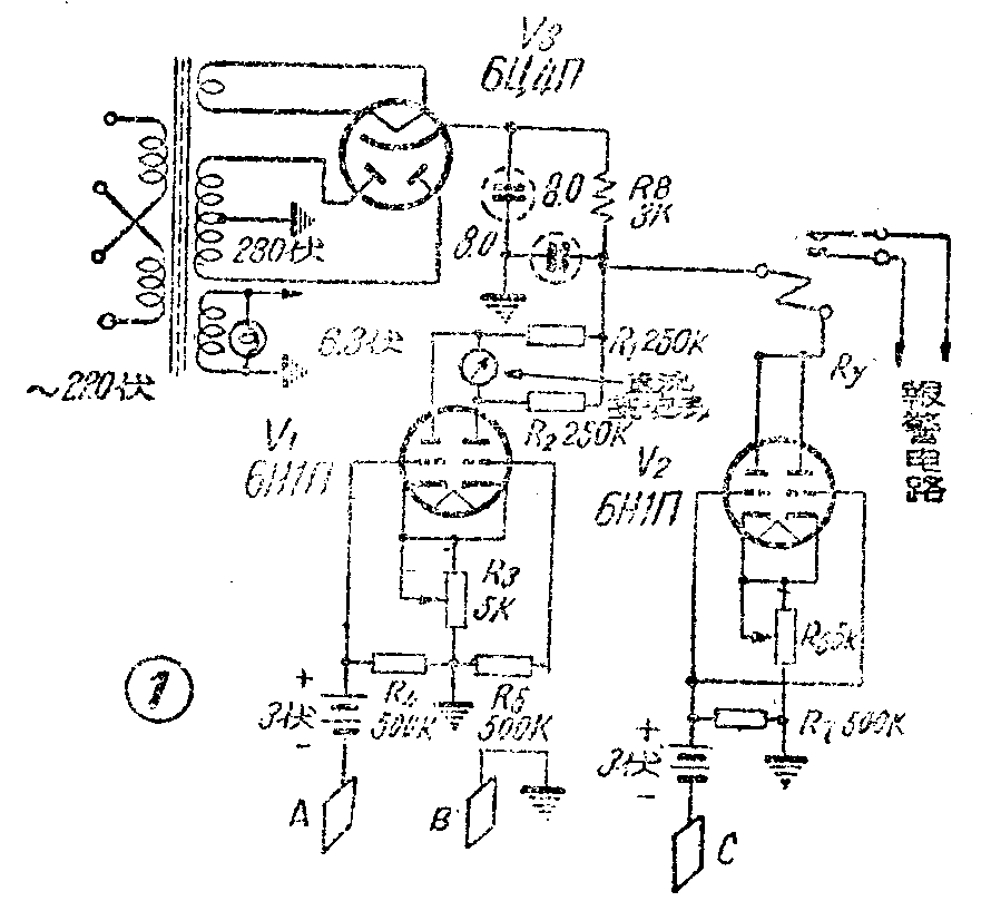
(歧)这里介绍一种利用双三极管桥式平衡直流放大电路构成的电子自动水位测量报警器,线路如图1。A、B、C是安装在测量水槽里的三块金属极板(图2)。这具测量报警器的简单工作原理是,在平常水位很低时,A和B两块金属板之间绝缘不导电,3伏电池不起作用,V\(_{1}\)的两个三极部分有很高的栅负压,使屏流近于截止。由于电桥两边平衡,毫安表上没有电流通过。而个三极部分的工作点由R3确定。当水位升高而使A、B两板之间导电时,3伏电池被接通,很显然,左边三极部分的栅负电压被抵销了一部分,因而使它的屏流增大,电桥失去平衡,毫安表上就有电流通过。如果水位继续升高,A、B两板之间的电阻就越小,左边三极部分的栅负压就越低,屏流就越大,电桥越不平衡,毫安表上通过的电流就越大。这样,根据亳安表上电流值的读数就可以知道水位的高度。如果水位继续升高,最后使金属板C与B接通了,这时另一只双三极管V\(_{2}\)栅极电路中的3伏电池被接通,栅负压减小,引起屏流增大,继电器Ry就开始工作,接在报警电路里的红灯或警铃就被接通发出警报。V\(_{2}\)在平时也是处在近于屏流截止状态的,其工作点由R6确定。全机直流高压由一只6Ц4П整流供给。因为要使电桥工作稳定,故加了滤波装置。


电路中直流亳安表的量程有15毫安便可够用。继电器自制可按1957年本刊第1期上介绍的方法制作,电磁铁可用长宽50×20毫米的厚一点的铁片弯制,线包用36—42号漆包线绕3500圈。金属板在水槽中的位置是A、B放在水池的较下部分,当水位较高时就可浸着。C板是放在较高的认为有发出警报必要的部位上。水槽系与河湖相通,槽里的水不要经常更换,因为各种成分的水,导电性是稍有差异的。

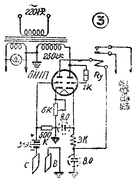
这只仪器也可以把左边电桥部分省略,只要报警部分,接线如图3。这时只用一只双三极管就够了,半只放大,半只整流,但是继电器线包要增加绕成5000圈。