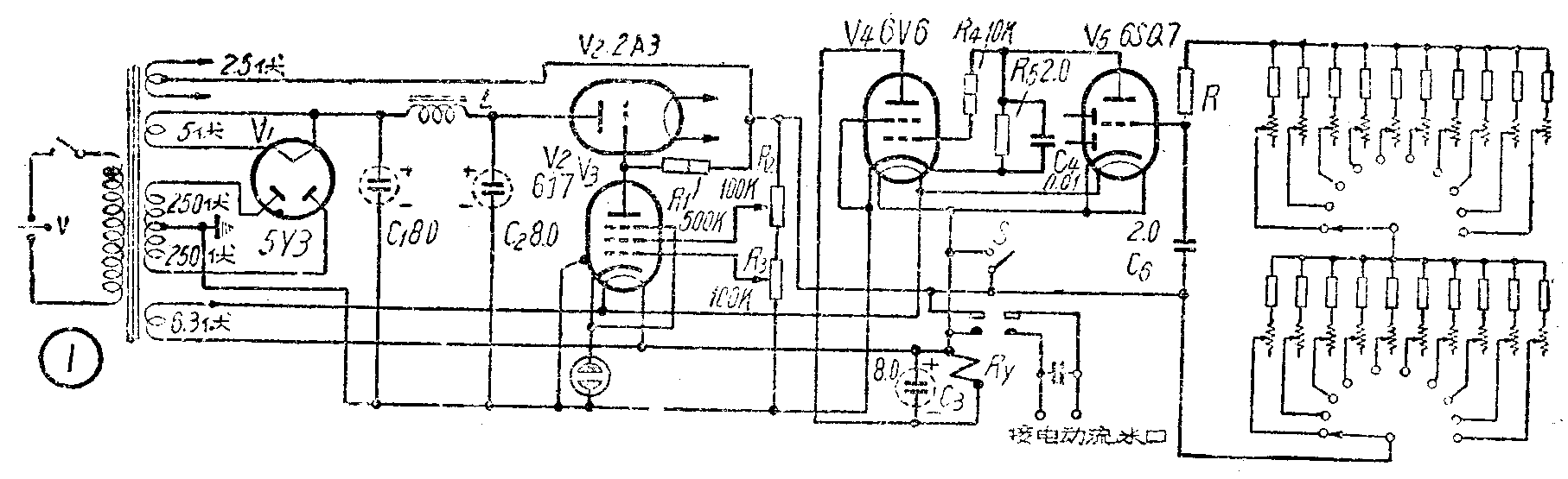
在技术革新高潮中,我们帮助粮食供应站搞自动化装置,参照去年本刊第12期上介绍的电子时间控制器线路,改装成了一部按照时间控制流量的自动售粮器。时间的控制对于流量有直接影响。为了提高售粮的精确度,在原来的时间控制器前面加了一个稳压装置,以避免市内电源电压和负荷电流变化对时间控制的影响。稳压器采用两只收信电于管代替专用的充气稳压管,稳压程度也很高。机器的全部装置线路见图1。稳压器的工作原理参见“收音机的特殊电路”一书第10章(本社出版)。

经过实验,如果交流电源电压从170伏变至250伏,稳压管输出电压保持恒定在180伏。负荷电流从5毫安增大到30毫安时,输出电压还是180伏。如果没有图中R\(_{2}\)、R2那样数值的电位器,可用150K电阻代替R\(_{2}\),50K代替R3,确定数值可以根据要求输出电压的大小来决定。时间控制器的工作原理参阅第1期文内介绍。不再赘述,但要注意现在是用直流高压,须将高压正极接至揿动开关S,负极接至6V6的阴极,并将此极接地。作为时间控制主要元件的电容和电阻,在这里电容器C\(_{6}\)是用了单只固定的,靠变更Ra和R\(_{b}\) 来交换控制时间。Ra、R\(_{b}\)都各用一只固定电阻和一只电位器串联,便于流量预先调整,调节定了以后,再将电位器轴用锡焊牢固定。受时间继电器控制的是售粮箱上的流米口装置,它的结构如图2。控制并关的磁铁P用低频变压器的山形铁心改制,线包有26号漆包线绕满。流米口为一较窄的椭圆形口。由于拉簧的作用,拉门经常是闭着挡住流米口,在磁铁P线包通电流时,吸动拉门,流米口打开。拉门铁板与米箱接筋处镶有小滚珠,保证开关灵活。在控制时间调整的过程中,我们试用电容Ca为2微法,R\(_{a}\)为100K、200K……至1兆欧,所得时间约近l秒、2沙……至仍秒。Ca用10微法, R\(_{a}\)为10 K、20K……至100K时,时间为2秒、4秒……至20秒。按照控制时间和粮种来改动流米口的大小,调节至每秒流粮2斤,能达到很高的售粮精确度。粮食流出的速度和粮箱中存粮多少也有关系,所以粮箱中还必须随时保持有一定高度的存粮,才能保证准确。粮箱的结构示意见图3,这里就不再详谈了。(薛君敖)

