目前全国人民都在热烈地响应党的号召,正以冲天干劲投入到以机械化、半机械化、自动化、半自动化为中心的技术革新、技术革命运动中来。不少机械设备实现自动化时需要加装各种控制装备,这里谈谈几种实验有效的光电管控制、微电流接触控制和时间控制等简单装置,作为实现技术革新的参考。
(一)光电管继电器 光电管的特点是在受到光线照射时能够产生电流,通过放大器放大以后,可以用来为我们做出很多工作,例如通过继电器做成自动操纵、自动计数、自动报警、使机床在操作者处于危险部位时自动停机等各种设备。由于这种控制器一般装置比较简单,而且可以利用接线深入到机器设备上一些不易达到的地方,因之应用范围很广。
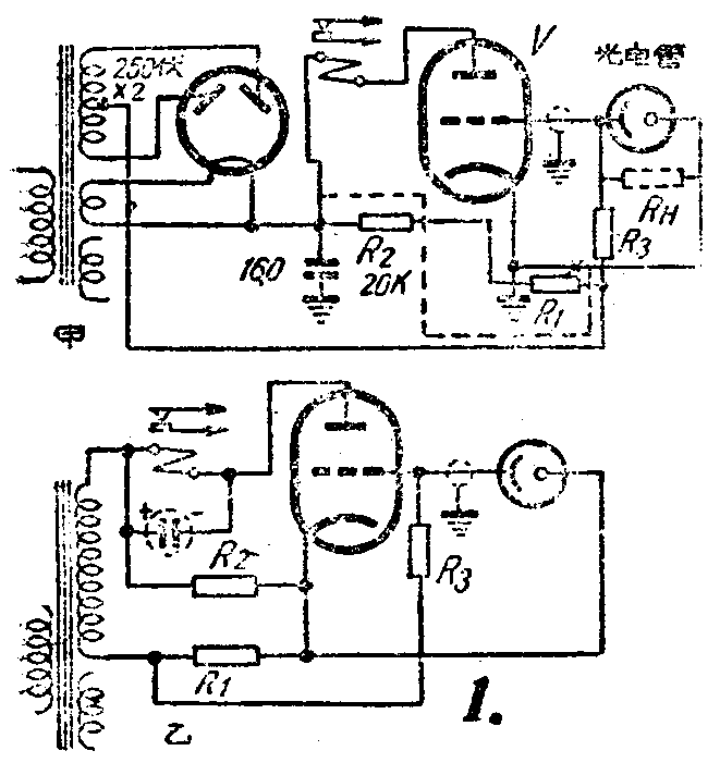
最常用的光电管继电器线路如图1甲。它的工作原理是在电子管V的栅极上接入一个较高的负电压,电压值要足以使电子管处于屏流截止状态。把灵敏的继电器串接在电子管的屏极回路里,光电管的阴极接在电子管的栅极上,阳极则接在电子管阴极的地电位。此时电子管的栅负压又兼供给光电管电压。当光电管受到光线照射时,内阻就显著降低,像是在栅极与地之间接入一只电阻(R\(_{H}\))与栅极电阻R3串联,起着分压电阻的作用,等于将电子管V的栅负压降低,使它足以产生屏流,继电器就开始工作,以达到光控的目的。电子管栅极电阻R\(_{3}\)的阻值必须足够大,控制的灵敏度才比较高。如果阻值过小,分压作用不显著,相对的光源就须增强,这样不仅降低了机件的灵敏度,而且影响了光电管的使用寿命。电阻过大也有不利,因为这一部分的接线可能比较长,还必须使用金属隔离线,稍有漏电,也会严重地妨碍正常工作。通常这只电阻阻值是在10兆欧至15兆欧之间最为适宜。电阻R1大小根据光电管特性决定,可用10千欧的可变电阻调整。

图1乙是简化了的线路,省去一只整流管,工作情况和图1甲一样,电子管兼做整流工作。缺点是继电器两端的直流电压降是脉动的,会使接触点产生跳动,必须在继电器的两端并联一只较大容量的电容器,作为滤波使用。如果用的是电解电容器,它的负极要接在靠近电子管的屏极端,方向不能弄错,容量在8至16微法就够了。尽管这种接法的稳定性比较前者要差一些,但是可以省去一只整流管,也是值得采用的。
在这两个线路里,电子管要送用在正常工作情况下屏流不低于10毫安的,否则就要求继电器的灵敏度很高,或者电子管过荷,容易衰老。一般可用6SN7、6J5、6H1П等三极管,或用6SJ7、6SK7、 6Ж1П等五极管接成三极管使用。继电器的灵敏度须在5毫安左右才能保证工作的稳定性,因为这种单级光电管控制的线路,还不能够充分地利用电子管的最大工作电流。此外,采用哪种型式的光电管,对于它的工作特性必须事先了解。
光电管的最高工作电压不能超过它的规定极限值,特别是充气光电管更是如此。虽是同一工厂生产的同一种光电管,它们的最高工作电压也不一定相同,需要根据每只光电管所附的说明来使用。一旦超出所规定的电压,光电管内部立即出现紫色闪光的电离现象,能严重地缩短使用寿命,同时也破坏了工作的正常性。但是工作电压也不能降低太多,这样做又将使灵敏度大大地降低。
具体装置可以采用221型单级充气式光电管为例。这种光电管的工作电压较低,适合用于图1的线路。许多类似的一些光电管的性能,绝大多数与221型相同,即使型号、工作特性不明,也可以按照此种线路试装。使用这种光电管时,电阻R\(_{1}\)两端的电压降调至80~90伏,用一只手电泡或6~8伏指示灯泡作光源,照射光电管,这时继电器应该能够很灵敏地工作。如果发现不够灵敏,最好用电流表测量由于管屏极电流的变化情况,一般在不工作时,即没有光线照射光电管时,电子管的静屏流不应大于0.5毫安,大于此数说明工作不正常,可能是栅极部分有了漏电。正常工作时电流应达10亳安左右。如果测试结果符合上述情况,继电器还不动作,那么问题是在继电路的本身,如果是由于继电器内阻过低,可换用42—45号漆包线重新绕制。测试时如果电子管的屏流根本不起变化,可能是光电管的正负极接反了。如果继电器工作不稳定,有跳动现象,除了要检查继电器的灵敏度外,还要检查滤波电容器是否良好。可以更换新的一试。
采用工作电压较高的ФЭУ型或ЦГ型光电管时,用这种线路灵敏度就嫌不够,这时可以按图1甲虚线所示,将光电管电压直接取自高压正端。R\(_{1}\)两端电压降只调至电子管的截止屏流点。ФЭУ型是有反射屏的光电倍增管,反射屏要与发射屏并接成为单级使用。当然,这时的灵敏度就和ЦГ型的差不多,不能起倍增的作用。
(二)微电流接触控制器 这是利用经过电流很小的接触点的闭合,来起控制的作用。线路和光电管控制一样,只不过是把光电管两端改为接触点而已(图2),这种控制方法和光电管控制相比较,有以下几个不同点:

1.可以有效地利用电子管的屏流。接触点闭合,线路里栅压等于零,在使用强放管时屏流可以达到最高值,这样对继电器的灵敏度要求就不高。
2.接触点的电流极小,可以控制在万分之几毫安左右,对接触点的处理要求也不高。
3.特别适用于时钟控制或微小力量的点接触控制系统方面。
4.比光电管控制的装制成本低,而且经久耐用。
要注意的是采用这种线路时,必须考虑加装限流装置,最简单的方法是在电子管的阴极上加接一只适当的负压电阻(R\(_{k}\)),使屏流被控制在一定的范围内。

(三)时间控制器 时间控制器的装置,在自动、联动化或一般的机械程序控制方面,都有着比较重要的地位。图3是最简单的时间控制器。电子管可以采用一般旁热型整流管或强放管,时间控制用低阻线绕电位器串接在电子管的加热极电路里。缺点是控制时间受到电源电压变化的影响较大,控制时间的范围又比较小,不能达到接近于零的时间,输出电压还不能太低。还有一点是灯丝的热情性太大。在短时间内开启几乎不起控制作用,所以应用范围不广。

图4是一种比较理想的时间控制器。这种线路特点在于控制时间可以低到百分之几秒(这是继电器接触点移动的时间),最高可达若干分钟,而且相当稳定,变更控制时间只需调节电位器R\(_{2}\),还很方便。如事先用跑表把电位器上每点的控制时间记在刻度盘上,便可随时选取所需控制时间。曾以这种方法制成自动晒图机和热处理联动生产线,效果都很满意。电子管的选用,和前面谈到光电管控制器的要求相同,可以采用三极管或五极管接成三极使用。它的工作原理是:接触点K张开时,当交流是正半周时,如图4所示位置,电流就通过电阻R1、R\(_{2}\)、R3形成回路(利用控制栅极整流),此时屏极无论在正半周或负半周都没有屏流。R\(_{1}\)、C1两端产生一个直流电压降,靠近栅极的是负极。R\(_{1}\)、C1的数值大小,可以决定控制时间的长短,若R\(_{1}\)为1兆欧、C1为2微法时,最长控制时间约为10秒(这是根据实验结果得出的),其中任何一个数值的加倍或减半,都能使得控制时间加倍或减半,依此类推,即可得到所需控制时间的数值。
当接触点K是闭合的,情况就不同了。交流电压瞬间至屏极时就能产生屏流,又因为C\(_{1}\)原已充电,使栅极处于高负压点,屏流还不能立即产生,需要栅极负压经R1线放至不足以截止屏流的一点时,屏流才产生,就是说从打开接触点K至继电器动作时止,这当中有一段放电时间,这样就达到了时间控制的目的。这时的R\(_{3}\)完全不起作用。
如果控制时间需要低于R\(_{1}\)、C1所决定的放电时间,可以调节R\(_{2}\)至合适的一点,因为R2的另一端是接在比较电子管阴极电位更为正的方面,有一定的抵消电容器C\(_{1}\)负电位的作用,因之使用起来很是方便。图中R2是5~10千欧的线绕电位器,如不易购得,也可采取控制R\(_{1}\)的方法来获得控制时间,这时R2就可以用一只固定式的线绕电阻来代替。(张大鋆)