自动键又名快键。它是一种人工高速发报的工具。近几年来,在国际和国内高速收发报比赛中,不少运动员都运用它创造出高速发报的新纪录,因之它亦开始为广大的无线电爱好者所欢迎。这里向大家介绍目前最通用的一种快键。它的基本性能:发报速度——每分钟能发110-1450个点;输出音频信号——功率不小于10毫瓦,基频为800—1000周/秒。它的构造是由一部快键振荡器(外形如图1,内部装置如图2)和一个手控电键(如图3)组成的。搬动键柄就可以进行发报,当把键柄搬向左边与左边接触点相联时,快键振荡器自动地连续输出“划—”的信号;而当搬向右边与右边接触点相联时,振荡器就自动连续输出“点·”的信号。因此快键振荡器的构造与一般音频振荡器不同,它们间的区别在于快键振荡器比一般音频振荡器多了一个自动键电路。



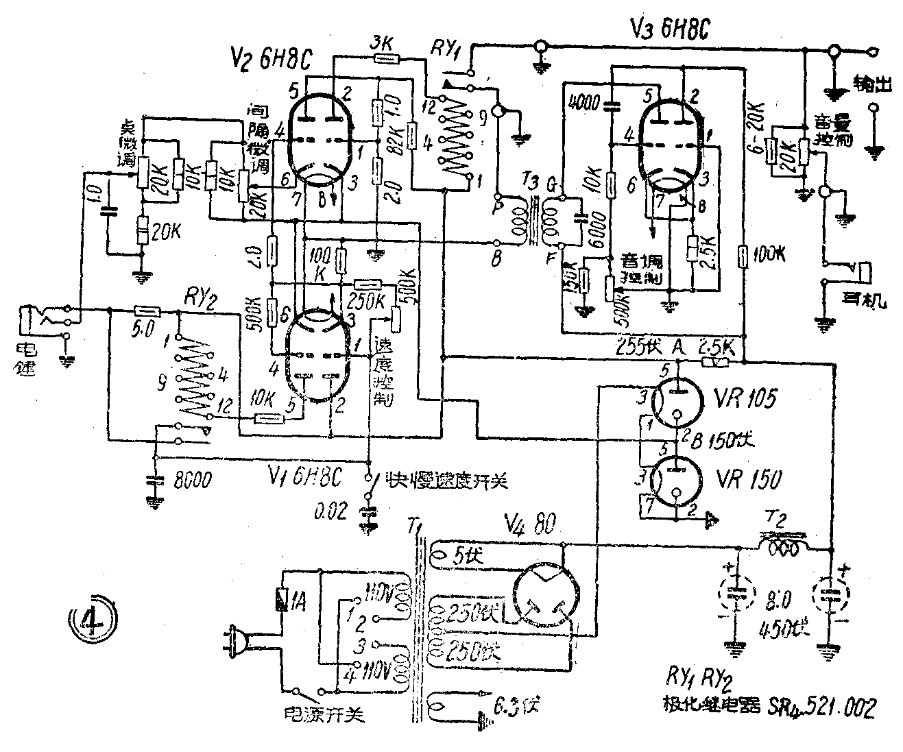
快键振荡器的线路如图4。一只6H8C(V\(_{3}\))作阴极阻容耦合音频振荡,音频信号经T3输出,在输出的一端串以继电器RY\(_{1}\)的接点;另两只6H8C(V1、V\(_{2}\))组成自动键电路,控制Ryl动作,使音频信号时断时续,自动地发出“点”“划”符号。全机的电源部分,是由整流管80和稳压管VR105、VR150组成的全波稳压整流电路。A点输出为+255伏,B点输出为+150伏。

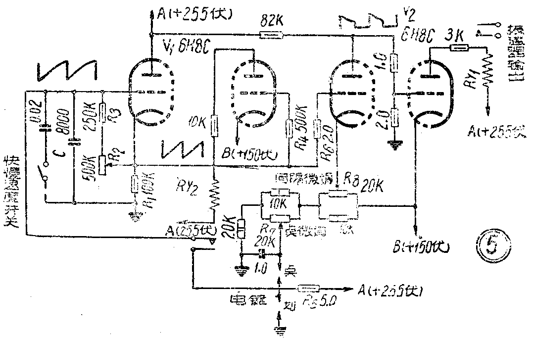
自动键电路的简单工作原理 为明了起见,将这部分电路单独画出(如图5)。当接通电源后,V\(_{1}\)左侧三极管工作,在它的阴极电阻R1上产生一正电压,经R\(_{2}\)、R3给电容器C充电,使栅压逐渐升高,屏流加大,R\(_{1}\)上正电压增加。这个增大了的正电压经R4加到V\(_{1}\)右侧三极管栅极,使之导电,RY2吸动,接点接通。在未按电键时,V\(_{1}\)左侧三极管栅极经R5接至A点,维持有一正电压,因此RY\(_{2}\)接点永远接通。当按键时,V1左侧三极管栅极接地(发“划”时)或接一低正电压(发“点”时),C很快放电,栅压立即降低,引起R\(_{1}\)上电压突然降低,而使V1右侧三极管屏流截止,RY\(_{2}\)接点立即离开。此时,R1上的正电压又经R\(_{2}\)、R3给C充电,V\(_{1}\)左侧三极管栅压又逐渐升高,R1上正电压亦随之升高。到一定程度又使V\(_{1}\)右侧三极管导电,RY2吸动,C又放电。重复上述动作,这样在R\(_{1}\)上产生的变动电压经R6加到V\(_{2}\)左侧三极管的栅极,使其屏流时有时截止,产生一矩形波,经V2右侧三极管放大后,控制RY\(_{1}\)动作。

RY\(_{2}\)重复一次动作的时间,是由R2,R\(_{3}\),C的充电时间常数来决定的,因之改变他们的数值,就可以控制发报速度。调节电位器R8,将改变V\(_{2}\)左侧三极管阴极电位,控制该电子管导电时间长短,即调节了“点”“划”的间隔。当发点时,调节电位器R7,可改变C放电后的电位,即改变C充电到RY\(_{2}\)开始动作的时间,这样调节R7就可以调节“点”的大小。
音频振荡及电源部分系一般普通电路,这里就不详细介绍了。本机所用电子管6H8C80,VR105,VB150可用6H1Π,6Ц4П,CГ3C,CГ4C代替。RY\(_{1}\)、RY2可用上海出品的SR4、521、002型号的极化继电器。(葛言)