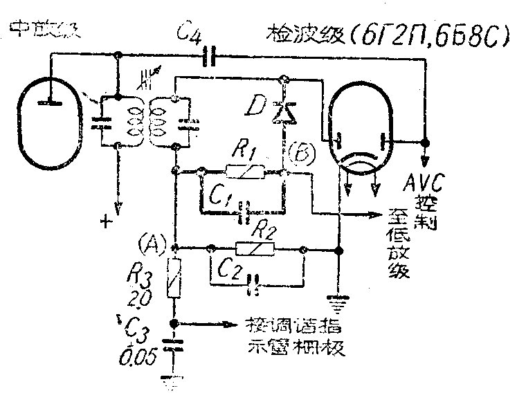
附图是一个外差式接收机中检波级的倍压检波线路,按照这个线路的接线,在(B)点取得的低频电压振幅要比在(A)点上取得的增加一倍。因此在简单的接收机中,特别是在不增加结构重量而要获得较大电压放大率的接收机中,采用这个线路是很适宜的。例如在使用一只6A2Π作变频,一只6Б8C五极作中放双二极作检波和自动音量控制,和一只6H1Π一半作低放一半作电源整流这样的三管超外差接收机中,检波后只有一级低频放大,采用这个检波线路,便可得到较高的低频增益。图中D是一只晶体二极管,最好是用Д2或Д9型的半导体管,也可以用普通的固定或活动矿石。R\(_{1}\)、R2可用300K至500K,C\(_{1}\)、C2100至250微微法。R\(_{3}\)、C2是接用调谐指示管的滤波电阻和电容。自动音量控制电压经C\(_{4}\)取自中放管的屏极回路,C4可用50至100微微法。(王绪荣根据苏联“无线电”杂志材料编写)
