自动控制和自动监测系统所要解决的基本问题之一,就是把某一过程的各种参量(温度,压力、运动速度,重量等等)变换成为适当的电的信号。为了这种变换,就要使用一种叫做“发送器”的特殊装置。
借助普通的电测仪表由发送器所得到的电信号,可用来控制不同的工艺过程(在这种情况下仪表的度盘以温度、压力等等单位刻度)。此发送器所得到的信号,可在自动化生产中控制设备的工作。
现在已经研究出许多不同用途的、利用非电量变换成为电量的原理的发送器。
下面介绍一下在自动监测和自动控制系统中用到的发送器的基本类型。
温度发送器。热电偶是最简单的由热能到电能的变换器。实际上热电偶发出的电动势每100℃在1到4.5毫伏范围内变化。
广泛应用具有大的温度系数的线绕电阻和半导体电阻作为温度发送器。这种发送器叫做电阻温度计。
线绕电阻温度计由细的导线做成。可和自动平衡电桥和电位计一起使用。
半导体电阻温度计可作为热变电阻用,具有比线绕电阻大很多的负温度系数,然而稳定性小,不能耐高温。
测量较高温度,可使用辐射高温计和光学高温计。和使用分米波或厘米波的无线电辐射表。
位移发送器。为了检查物体在空间的位移和在不同机器的工作过程中机械零件的运动,可使用变阻器式、电容式和电感式发送器。它们和普通的可变电阻、电容器和电感的区别,仅在于结构的不同,具有高准确度并能在困难的条件下(湿度大、振动)工作。

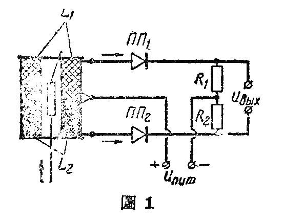
图1是使用最广的电感式发送器。当铁心1向箭头示方向移动时,L\(_{1}\)的电感增大,L2的电感减小,这就引起电桥的不平衡,并且在发送器的输出端产生和铁心移动成比例的电压。

变压器式发送器(图2)在结构方面和电感式发送器相似。铁心1由中间位置向上或向下移动时,使初级线圈1和两个相对连接的次级线圈Ⅱ\(_{a}\)和Ⅱб之间的互感改变,这就引起在发送器的输出端产生和铁心位移成比例的电压。
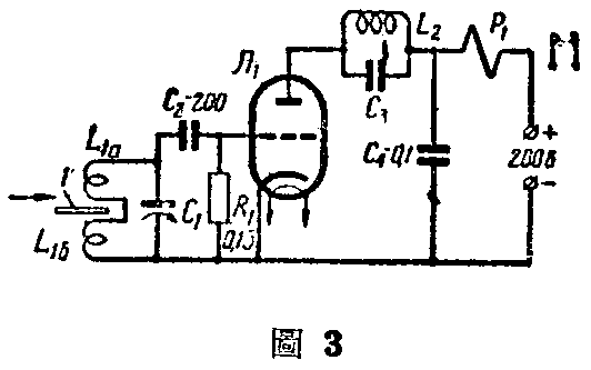
电感式发送器和变压器式发送器的电源,通常是用频率为50周的交流电源供电。也有用频率达几十兆周的电压的发送器。图3就是这种线路之一。电感线圈和微调电容器C\(_{1}\)组成栅极振荡器回路,细的屏蔽小签形式的铝衔铁1,在两个串联连接的扁平线圈L1a和L\(_{1б}\)中运动,小签的0.1—0.2毫米的移动都能引起栅极回路的失调、振荡中断使继电器P1动作。图3所示电路也可以和电容式发送器一块儿使用。

在许多情况下使用具有光电管、发光体和不透明的可动闸板作为位移发送器。为了测量放在不透明的贮存器中的任意物质的水平面,使用由γ放射源和计数器组成的系统。
作为液面发送器所采用的系统,其工作原理基于测量超声波脉冲由容器底部到液面和由液面返回容器底部的时间。这种系统按动作原理和方块图来说和雷达或声波定位器相似。为了同样目的也可使用高频系统,其基础是具有做成管状的空腔谐振器的特高频振荡器。随着管子向液体中的沉入,谐振器的谐振频率也改变。谐振频率可以直接测量或者借助两个进入在管子上所开的缝隙中的探针来测量驻波的相移。
力发送器。为了把机械力变为电的信号可以利用附有反作用弹簧的电容式的、变阻器式的和电感式的位移发送器。在特殊的发送器类型中应当指出“张力发送器”。这种发送器的工作原理是金属(半导体)的电阻在其变形时的改变(利用“张力发送器”的仪器即一般称的“电阻应变仪”——编者注)
电阻的相对改变和发送器工作元件的伸长成比例\(\frac{ΔR}{R}\)=KΔl;l;灵敏系数K通常随所采用的金属的不同在2到12的范围内变化。


张力发送器可能是粘贴的(图4),和不粘贴的(图5)。粘贴的是由纸或漆做成的膜片,膜片上贴有细的(0.02—0.04毫米)做成拉直回线形状的导线。这种发送器粘贴在零件的表面,当零件变形时改变自己的电阻。发送器是接在桥式线路中的。为了消除温度的影响使用具有小温度系数的合金(例如康铜),并且在相邻桥臂接入第二个发送器,这个发送器不接负载或者是贴在零件的变形具有相反符号的地方。近来开始使用细的箔来代替导线,用腐蚀的方法可由箔做成所需形状的元件。箔发送器要可靠得多,并且有很大的灵敏度。图6和图7说明了用发送器来测量弹簧的变形和轴的扭矩。在测量扭矩的情况下,在轴上固定着由绝缘材料做成的管子,管子上放有用来供给电源和取出输出电压的集电环。


不粘贴的发送器(图5)作成为两个细的在绝缘架2中拉紧的系统1。
张力发送器电阻的最大变化不超过1%,因此为高阻式的(张力发送器电阻的平均值等于200欧姆),一般将几个发送器串连使用,测量时需要灵敏的放大器。半导体张力发送器有大几十倍的灵敏度,然而其稳定性不高。炭精棒可作为张力发送器,其结构和炭精送话器相似。
为了测量力可利用铁磁材料的导磁率和变形的关系(和磁致伸缩相反的现象)。按这种原理构成的发送器是一个具有铁心的感受被测力的扼流圈。这种发送器的电路连接和图1或图2的电路相似。

补偿式力发送器是很有趣味的。这种发送器由于自己的准确度,大的输出功率和没有测量元件的位移,近年来应用很广。图8是这种发送器的电路之一。被测力由电动系统的动作平衡(和电动扬声器相似)。当反作用力F\(_{1}\)和F2不相等时,杠杆1产生由电感发送器感受的位移。这个发送器控制动力系统中线圈2的电流,使得建立平衡。这时线圈中的电流和被测力成比例。
可以用其它类型的位移发送器来作成这种系统。可以用电磁铁或移动负荷的电动机来代替电动式系统。这种系统广泛用于压力发送器、重量系统和其它装置中。
旋转速度发送器。测速发电机(由旋转的永久磁铁激磁的发电机)是最简单的旋转速度变为电流的变换器。测速发电机所发出的电动势和被测旋转速度成正比。为了测量旋转速度还利用和变阻器式或电感式位移发送器组合在一起的离心机构。近来开始广泛使用旋转速度的频率发送器。其中最简单的结构如下:可动线圈放在装有永久磁铁的轴的附近。可以根据由于轴的旋转而在线圈中激励的脉冲的频率来判断旋转速度。

加速度和振动发送器。为了测量加速度使用惯性类型的发送器(图9)。这种发送器由下列元件组成:支架1,挂有负荷2的弹簧3。当有加速度时,负荷由于惯性而使弹簧3变形,并产生相对支架的位移。在负荷和支架之间放有任意类型的发送器4(例如变阻器式)。其电阻的变化和加速度的大小成正比。为了消除不应有的振荡,负荷附有空气阻尼器5。这种发送器可以很好地来测量位移的振幅和振动时的加速度。
压力发送器。气体或液体的压力是许多工艺过程的重要参数。为了测量压力使用不同的弹性元件:波形管(图10),钟形系统(图11),U型差动压力计(图12)和其它的元件。在这些装置中媒质的压力变成位移或者力,然后借助某种发送器把机械力变为电的信号。

图10是由波纹管和变阻器式发送器组成的系统。在被测压力的作用下波纹管变形,变阻器式发送器的电阻改变。

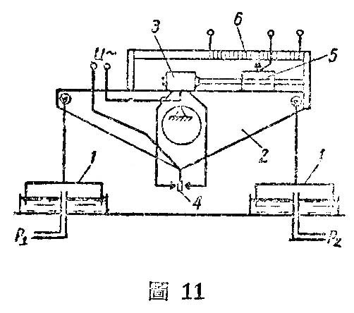
图11是具有移动负荷的补偿(钟形)系统。这里天平梁2感受进到沉入到液体中的钟下面的气体的压力差。控制触点4的电动机使负荷移动,直到建立平衡为止。和被测压力差成比例的负荷的位移借助变阻器式发送器6变成电的信号。
电感式发送器的使用如图12所示。

为了测量非常小的压力(例如,真空度)可使用电离发送器,电离发送器是一个外壳用管子和检查容器相连的电子管。用特殊的装置来测量和压力有关的气体分子的电离电流。
液体(气体)流量发送器。和压力一样,液体和气体的流量也是重要的工艺参数之一。在大多数情况下是根据放在液流或气流中的膜片上的压力落差来测量流量(图13)。

一般还广泛采用有叶轮的流量计。和容积流量成正比的叶轮的旋转速度借速度发送器变成电量。

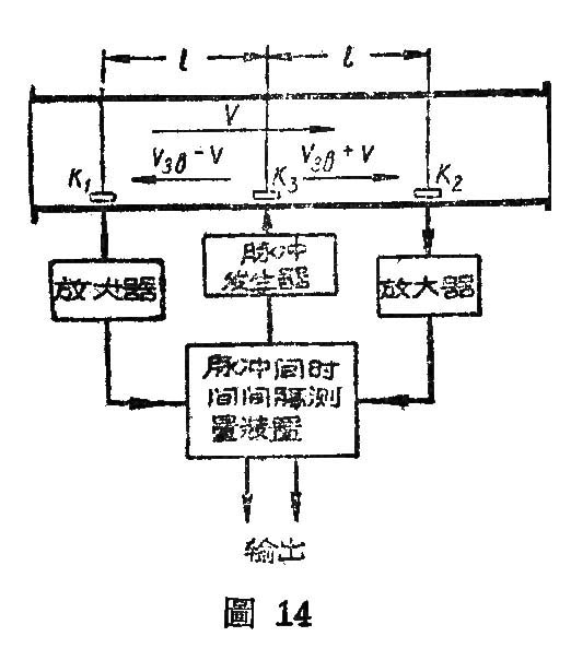
近来出现了新的监测液体或气体流量的方法。在这些方法中应该指出的是超声波的方法。图14说明了这种方法。两个压电晶体K\(_{1}\)和K2感受压电晶体K\(_{3}\)辐射的超声脉冲。因为声音由晶体K3到K\(_{1}\)的运动和液流方向相反,而到K2和液流方向一致,故所接受的脉冲之间将移动一个和液体的运动速度成比例的周期。借助特殊的电子装置可以测量这个时间位移。

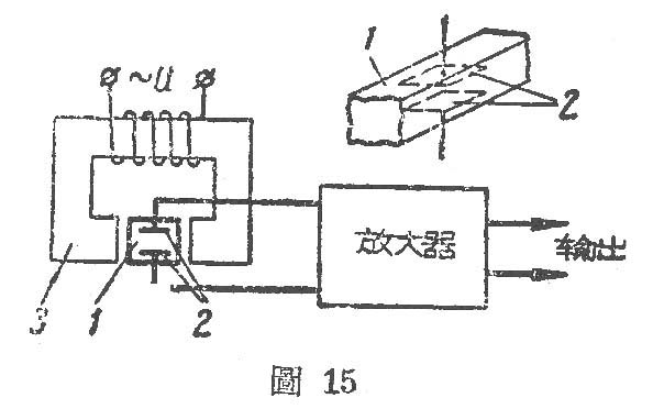
电磁流量计的工作原理(图15)建立在测量当导电液体在磁场中运动时在导电液体中所感应的电动势的基础上。在管1中(沿管1有液体流动)放有两个和放大器连接的电极2。管子放在交流电磁铁3的两极之间。在这种系统中,当磁场强度为2—5千奥(斯特)时所能取得的电动势大约为10—15微伏。
粘度发送器。通常利用沉在被试液体中的园鼓来测量液体的粘度。园鼓由电动机带着旋转。测量电动机线圈所需要的电流,根据媒质的制动动作来确定粘度。另外还研究出了振动式粘度发送器。在振动式发送器中测量放在被试液体中的弹性薄片机械振荡的衰减速度。
温度发送器。大家已经知道几种有不同结构原理的湿度发送器。由两个接入特殊的桥式线路中的电阻温度计所组成的干湿球温度计式发送器应用极广。
其他如用毛发湿度计可借头发的伸长而用位移发送器来测量。
最近几年来电解式发送器应用很广,电解式发送器是一个作成膜片形状的锶盐电阻。湿度的改变引起膜片电阻的急剧改变。
溶液浓度发送器。溶液的浓度可以按溶液的密度或导电性来测量。最简单的是测量两个电极间导电性。通常利用桥式线路作为这种测量装置。还一种无电极的测量溶液浓度的发送器,这是一个用交流的沉入液体中的电感线圈。在磁场的作用下液体中的线圈产生感应电流。这些电流的大小(也即是线圈的阻抗),由液体的导电性(溶液的浓度)决定。
气体分析器。为了控制许多工艺过程必须连续测量混合气体的成分。广泛使用气体分析器。有一种气体分析器是测量混合气体的导电性的就是一种典型例子。由电流加热的铂导线绕成的螺旋线放在很大的滑车上。螺旋线组成电桥的两个臂,一个螺旋线放在密封箱中,气体围绕另一螺旋线流动。当气体导电性下降时,电桥过热,平衡破坏。(治竹君摘译自苏联“无线电”杂志1959年第10期 (苏联)д.阿格依金)