编者按:本刊今年第1期介绍了一种利用电话选择器的作息自动响铃设备,实际上,这是属于程序控制的一种简单自动化设备,可以应用在许多定时作业自动线上(例如本期介绍的广播自动化就是一个例子)。这一制作引起了许多读者和单位的重视,许多读者还提出利用不同方式进行控制的方法经验。这里补充介绍原来设备能在夜间响铃的改进方法,并选载两项利用其他方式实现自动响铃的经验和方案,供大家在大搞自动化的技术革新中参考。
(一)
今年本刊第1期介绍的“作息自动响铃设备”响铃时间是适应我们单位作息情况而安排的,白天响铃,夜间停止。如果在夜间和早晨6点以前也需要响铃的话,只须按原图在复制表盘上的内、外接点连线以外,按照夜间需要响铃时间,连接出第三排接点,接到选择器上线弧②上原来夜间不响铃的空接点上(见附图),这样18点以后到次日6点以前的响铃便可通过分针—时针—第三排接点——线弧接点来完成。如果星期日晚间也需要响铃的话,把线弧上星期日的空接点也连接上就可以了。如果需要表示灯夜间不熄灭,可以把线弧③的有关接点接连起来。”第1期上介绍使用的选择器是史端乔式自动电话总机上的选线器(一组四连各有25个接点),也可用具有17接点的旋转式第二预选器。(史振藩)

(二)
我们制作的这一自动响铃设备采用了电子控制时间的方法,不限在白天,一天24小时内都可响铃,结构简单,取材方便,经过试用,证明很可靠,一昼夜误差在半分钟以内。

构造 ①在地球牌电钟表盘上,如图1所示,钉上三圈金属片P\(_{1}\)、P2和P\(_{3}\)。P3沿直径剪成a和b两个半圆。在钉上时,这两个半圆之间应离开,有1毫米的空隙,互相绝缘。②取宽为8毫米的闹钟发条,剪成长170毫米和46毫米各一根,先退火使弹性变小,然后如图2弯成弓形,在(1)、(2)、(3)、(4)、(5)、(6)各点上打出4毫米直径的小孔,并在(1)、(3)、(4)、(5)各点焊上滚珠一个。在(7)处打一个7毫米直径的孔。在(2)处按上一只收音机上的拉线滑轮,并须能灵活转动。③取下电钟的时针、分针和秒针。使时针轴穿过并焊妥在长发条的孔(7)上。短发条用螺丝固定在P\(_{3}\)中心C点的轴上。为了接触可靠,应在短发条和表盘之间垫上一个弹簧(见图2)。长短发条(1)、(3)、(5)上的滚珠应能和P1、P\(_{2}\)、P3很好地接触,并能在上面滑动。滚珠(4)在表盘纸面上滑动,是为了平衡而用的。④把P\(_{1}\)和a连接,P2和b连接。最后装上原来的分针和秒针。时针就以长发条代替了。⑤用玻璃胶纸(文化用品店出售)剪成5毫米宽的小条,贴在P\(_{1}\)、P2需要打铃的时刻上。P\(_{1}\)为白天打铃,P2为晚间打铃。

原理 ①当时针处在不打铃位置时,电源从变压器T初级的d点经长发条—金属片P\(_{1}\)—金属片a—短发条e点成短路,整流管V灯丝未燃,屏流为零,继电器Ry不动作。这时候L\(_{1}\)发红光。②当时针处在打铃前5分钟左右的位置时,由于滚珠(1)遇到玻璃纸,变压器初级有了电流,整流管灯丝开始燃热、这时候整流屏压是从f·g两点取得,大约是150伏,3分钟以后,屏流达到15毫安,但不足以使Ry动作。这时候氖管L\(_{2}\)发光,表示5分钟左右以后就要打铃了。③时针上滚珠(1)完全通过了玻璃纸,重新和P1相通时,变压器T的初级又被短路,整流管V屏极电压升高到220伏,屏流增高到40毫安,使R\(_{y}\)动作,接通电铃。由于此时整流管V的丝极电压已经消失,整流系靠阴极余热放射电子来完成,屏流逐渐下降,最后切断Ry的电流,电铃电路断开,打铃完毕。调节电阻R变更灯丝电压,可以调节铃响时间长短由15秒到40秒钟。④时针走到下午4点半左右,小滑轮开始拨动短发条,到6点钟滚珠(5)滑过a和b间的空隙,转到左方和b接通,开始晚间打铃。小滑轮在长发条上的位置,应定在恰能拨动短发条旋转180°的地方。
这只响铃器的材料,变压器T是初级220伏,次级6到12伏都可应用。继电器R\(_{y}\)用交流110伏、220伏的,或是直流60伏、120伏的都可以。玻璃胶纸长短无甚大关系,胶纸的尾端是开始响铃的位置。由于控制白天响铃的接点是在长发条的尾部,因此纸条是贴在钟面表示时间的对方,例如需要在下午1点半响铃,纸条实际是贴在P1的7点钟位置上。使用中圆金属片P\(_{1}\)、P2、P\(_{3}\)应保持光亮,以免接触不良,贴好玻璃纸后,应用少许汽油擦净。电钟的动力是靠磨擦力带动时轮走动的,如发现摩擦力不足,秒针快慢正确,而时针越走越慢时,应拆下电钟加垫铁片,增加摩擦力。电钟转动力矩很大,是完全可以带动和拨动长短发条走动的。(丘元才)
(三)

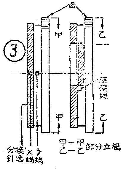
这里介绍另一种利用普通时钟,附加一套齿轮接点和接线金属排来完成自动响铃作用的设备制作方法。它可以在一周内从星期一到星期六每天24小时内按照需要定时响铃。星期日可以不响,也可以照常响。具体制作材料和工作程序如下:①接线金属排 在一块绝缘板的上下面纵横各钉宽在8毫米左右的铜片条,纵排12根,每根依次序视为5分、10分、15分……60分。横排24根,每根依次序视为1点、2点、3点……24点。纵横各金属条交叉的地方,钻孔贯通。在贯通的地方,用异线相连起来,便是需要响铃的时间,例如图1所示,需要在3点55分响铃,便在横排第11根与纵排第3根交叉处连接起来。②点选择器 由24块小金属弧片与选时针组成,每块弧片所对的中心角为2π/24=15°作为选择小时,即1点至24点之用。③日选择器 由2块金属弧片和选日针组成,作为选择工作日和星期日之用。星期日休息,不须要响铃,当选日针指向红格时,整个电路切断。④齿轮组 选时针和选日针的运行是由固着在B、C两只附加齿轮上来完成的。图1中A轮应与主钟的时针轴焊接,时针走一周,A轮随着走一圈。但A轮和B轮直径比为1:2,所以A轮走2圈,B轮才走1圈。A轮12小时走1圈,所以把B轮一周分为24小时份,便可在24小时内的任何小时内控制响铃。日选择器的C齿轮直径与A轮直径之比应为14:1,也就是A轮走14圈,G轮才走1圈,相等于一星期(七天)走完一圈。C轮上金属片所对的中心角为(2π/7)×6=308.568°,其余(2π/7)×1=51.428°部分作为星期日用。


使用中星期一至星期六的响铃时间是相同的,用香蕉插头按选定时间插入金属排的相当时间插孔内即可。当选日针指向红格时,即星期日的24小时内电路断开,如需照常响铃可将开关S闭合,如需变更时间,可将香蕉插重新安排,亦可单设一组接线排专供星期日使用。在装置上由于增加了传动系统的负载,所用时钟应选用较大型的。日选择器与点选择器的弧片要求准确,尤其是片与片间的缝隙,应该愈小愈好,并须绝缘良好而又平整光滑。齿轮为绝缘体,加工要求细致,齿数应按上述关系设计。至于使用何种材料,如何加工,以及响铃继电器使用何种电源等等,应按具体情况考虑,这里不再多谈了。(陆忠祥)