在当前全国声势浩大的技术革新和技术革命运动中,国营上海第一制药厂职工热烈响应党的号召,大胆设想彻底进行生产方法的革新,经过不懈努力,贯彻“两条腿走路”的方针,土洋结合,首先在一个车间里实现了无人操作自动生产工段。
这个可以不用人值班的“无人工段”是在生产合成维生素乙\(_{1}\)所需用的原药乙腈工段里实现的。这个工段的生产过程要求在药物合成反应中保持恒定的温度,加料要保持恒等的速度和数量,这些都是可以实现生产过程自动化的特点。在以前,对于生产过程自动化,不少人认为技术复杂,高不可攀,实现生产无人操作只是理想,不敢轻予尝试。但是在党的正确领导和启发下,职工们解放了思想,破除了迷信,发扬了敢想敢干的共产主义风格,积极苦干,终于成功地利用物理和化学原理,采取一些土办法,对于设备装置进行变革,达到生产过程的连续化和稳定化。经过这样变革,这一工段原有的手工操作劳动力全部可以解放出来,设备的起动、停止和偶然需要调整的工作,可以由邻近工段兼管,按照工作量计算,节约人力80%以上。
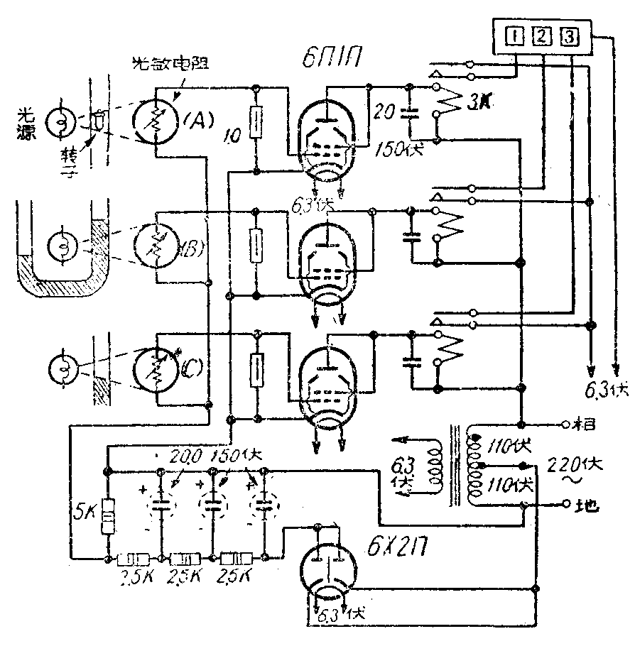
这个“无人工段”的自动化生产,也和其他生产自动线一样,是应用电子器件设备。在这个工段里,除了控制温度恒定用的电子恒温控制设备以外,为了发现生产过程中的偶然故障和不正常现象,及时进行纠正,还有一套利用光电控制的装置,作为“无人工段”的监督机构。这一装置主要是监视药物合成中各种流量的情形,线路结构如附图。工作原理以图中(A)为例,在流量正常时,转子流量计中的转子将光源遮住,光敏电阻的阻值很大(20兆欧以上),电子管6∏1∏的栅极无负压,成为整流管,继电器有电流通过,衔铁吸下,指示灯或电铃①电路断开无信号。如果流量过低失常,转子下降,光源照射光敏电阻,使阻值下降至100千欧以下,这样经过整流管6X2∏取得约为40伏的丙负电压,可经光敏电阻加在6∏1∏的栅极上,使屏阴极间电流停止。继电器无电流通过,衔铁释放,指示灯或电铃电路被接通,便会发出告警信号通知相邻工段值班工人前来调整。

这个试探性的“无人工段”已经投入生产,在试验过程中,职工们遇到过不少的问题和困难,在党的支持下,都一一得到解决。这说明我们的一切工作,只要紧紧地依靠党的领导,按照党的指示努力,不论存在多大困难,我们将是攻无不克,战无不胜的。(简政)