问:我台手摇发电机,不久前烧毁过一次,影响通信好多天。现在又有些不正常现象,使我非常担心。请告应如何维护,才能保证正常工作。
答:手摇发电机线圈烧坏,往往由于整流子部分短路,以致被短路的发电子部分线圈通过过量电流,产生高热,终致烧毁。整流子为什么会短路?一般是由于炭刷滑接不平稳,以致有时发生火花,使整流子不规则地磨损,这样,由炭刷上落下的粉末,会很快积聚在整流子的槽子内,使部分整流子短路,最后便会烧毁。防免办法,应注意经常维护。定期检查炭刷弹力是否合适,接触是否良好,清除整流子槽内积存炭粉,在运转时,不容许炭刷发生火花。齿轮箱和发电子轴承亦需定期检查润滑情况。根据维护要求结合具体工作情况,订出检修维护的工作计划,有恒地坚持执行,就能经常保证正常工作。(姚锡康答)
问:我厂有一部25瓦定阻抗输出扩音机,我们想安装舌簧喇叭,未知怎样计算?
答:定阻抗输出扩音机,只有在负载阻抗与输出阻抗匹配时,才能得到额定输出功率和最小失真度。一部25瓦扩音机,当输出阻抗是250欧时,其输出电压=\(\sqrt{PZ}\)=25×250≈79伏,舌簧喇叭阻抗一般是5-12千欧,工作电压20—60伏,故不能直接跨接在扩音机250欧输出上,以免电压过高,舌簧振动过剧,声音发沙。需要加线间变压器降低电压使用,简单计算如下:
线间变压器初级阻抗=250欧,
设舌簧喇叭消耗功率为0.25瓦,阻抗为8千欧,
25瓦扩音机可带25÷0.25=100只喇叭,
线间变压器次级阻抗=8000100=80欧,
变压比=\(\frac{\sqrt{初级阻抗}}{次级阻抗}\)=250;80=1.765。
选用一个25瓦线间变压器,变压比近似1.765就行了。
问:我们厂里有一部250瓦扩音机,输出电压有120伏,240伏抽头,安装有8只10瓦8欧恒磁高音喇叭,因为我们不懂线间变压器匹配方法,直到现在喇叭音质音量没有很好地解决。
答:250瓦扩音机在阻抗匹配不能带25只10瓦8欧恒磁高音喇叭,现在只带了8只,潜力还很大。定电压输出扩音机一般都具有良好的电压调整率,在负荷轻的条件下,可以不考虑阻抗匹配,喇叭线间变压器初级电压与扩音机输出电压相符接上就行,但是有些线间变压器没有标明电压数值,仅有阻抗数值,可以通过简单计算,选用抽头:
设输出电压用240伏输送,则
线间变压器初级阻抗=\(\frac{(扩音机输出电压)}{^{2}}\)喇叭功率=2402;10=5760欧
如输出电压用120伏输运,则线间变压器初级阻抗=\(\frac{120}{^{2}}\)10=1440欧。
问:我站有一部50瓦扩音机,输出阻抗并联是72欧,串联是280欧,只能接很多0.5瓦高阻抗喇叭,不能接10瓦或25瓦低阻抗喇叭,怎样才能解决这个问题?我们买回一个上海生产的复用线间变压器,初级并联是120伏,串联是240伏,次级有11伏、20伏抽头,正适合10瓦和25瓦使用,为什么接上后声音很小?
答:用50瓦扩音机同时带上高阻抗和低阻抗喇叭,是完全可以的。接上线间变压器声音小。变压器本身如果是好的,问题就在于阻抗匹配了。现在举一个匹配例子来说明:
假设50瓦扩音机带一个10瓦8欧,一个25瓦8欧低阻喇叭和30个0.5瓦5000欧高阻抗喇叭,扩音机输出阻抗为280欧。

喇叭线间变压器初级阻抗=\(\frac{扩大机输出功率×输出阻抗}{喇叭功率}\)
10瓦喇叭线间变压器初级阻抗=\(\frac{50×280}{10}\)=1400欧
25瓦喇叭线间变压器初级阻抗=\(\frac{50×280}{25}\)=560欧
0.5瓦(30个)线间变压器初级阻抗=50×2800.5×30=933欧
次级阻抗=\(\frac{5000}{30}\)=166.5
变压比=\(\frac{\sqrt{933}}{166.5}\)=2.36
再计算复用变压器是否能用:
扩音机输山电压(280欧)=\(\sqrt{5}\)0×280=118伏
10瓦喇叭工作电压=\(\sqrt{1}\)0×8≈9伏
25瓦喇叭工作电压=\(\sqrt{25×8}\)≈14.1伏
由此可见,复用变压器初级用120伏,次级用11伏接10瓦喇叭比较合适,接25瓦喇叭喇叭功率稍为低些,但也可以用。(以上杨彬质答)
问:我县广播站利用电话线把广播送到公社,我们曾经把接在干线与喇叭用户线之间的变压器接头加以调整,升高喇叭线电压,喇叭反而不响,把电压调低了,喇叭反而响了,这是什么道理?

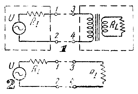
答:这个现象是完全符合实际情况和电工学原理的,可以这样理解:从线路变压器的角度看,广播干线只有两个线头,可以看作是一个发电机和一个内阻抗(R\(_{I}\))串联起来如图1。从广播干线角度看,可以把所有喇叭看作是经过变压器把阻抗升高后的一个等效负荷电阻如图2。如果负荷电阻(RL)的阻值大,在串联电路内分到的电压就高(但电流不一定大)。如果阻值小,分到的电压就低(但电流不一定小)。只有R\(_{L}\)和RI相等时,广播喇叭才能得到最大电功率。当你把用户线电压升高时,变压器电压比数低了,阻抗比数也低了,实际上反射到初级等效电阻R\(_{L}\)阻值减少了,分到的电压和电功率都低了,因此喇叭就更加不响。当你把用户线电压降低时,变压器电压比数高了,阻抗比数也高了,等效电阻RL阻值升高了,接近于R\(_{I}\)=RL的状态,喇叭分到的电压和电功率都高了,所以响了。盲目地升高用户喇叭电压实际上对广播和电话都是没有好处的。只有当R\(_{L}\)大于RI时,升高电压才能使喇叭更响。当R\(_{L}\)小于RI时,升高电压反而不响。有线广播的喇叭电压一般可用15伏到30伏。喇叭增多了,超过线路负担能力,就要用适当降低喇叭电压和提高干线送端电压的办法,使喇叭得到合适的音量。(方锡答)
问:用电话的送话器直接接入扩音机的话筒插口内,声音极小,何故?
答:电话用的送话器是碳砂式的,使用时是串连在电池的回路里,声音震动膜片的时候,使碳砂受到的压力变化因而接触电阻也起变化,引起回路里的电流也随着相应的音频变化,它自己没有电压输出,所以不能像晶体式或动圈式的话筒那样,直接接入扩音机的输入端使用。这种话筒使用在扩音机的时候,需另加电池和话筒变压器(如附图)。它的音质并不优美,但是灵敏度却比其它型式的话筒高。

问:输出变压器不接负载能被烧毁,电源变压器不接负载为什么不会损坏?
答:输出变压器和电源变压器比作用是不相同的,输出变压器是一个阻抗变换的工具,次级接上不同的阻抗在初级可以反射出不同的阻抗来;输出变压器初级两端的电压和初级反射出的阻抗大小成正比,次级没有负载,相当于接上一个无穷大的阻抗,所以初级所呈现的阻抗也很大,两端的电压会变得很高,往往能将变压器打穿。电源变压器初级阻抗虽然也会随负载的接上而有所变更,但是它两端是固定的额定电源电压,所以空载时也不会损坏。(以上冯报本答)
问:一架五灯超外差收音机产生振荡,拔去变频管仍有叫啸,但拔掉中放管即消除,什么缘故?
答:中放级是很容易产生振荡的。可检查(1)退耦滤波电容器(附图C\(_{1}\)和C2)是否有断路现象。(2)退耦滤波电容要用较大数值,太小也会产生振荡。(3)若是帘栅电压过高,应该增大降压电阻R\(_{1}\)的值。(4)将中周变压器初级线圈的两根接线互相倒换并变更焊接位置试试。(5)有时中放管本身内部结构有毛病也会引起振荡的,可更换新电子管试一下。(陈庆麟答)

问:一架外差式收音机因将中频变压器校乱,结果只收到中央人民广播电台,而且满度盘都是,调整双连可变电容器不起作用。何故?
答:中央人民广播电台的频率是640千周。且电力较强。中频变压器校乱以后,频率可能往高处移动,或频带展宽至广播段以内,因此该电台的信号即可不经过变频作用而直接通过中频变压器形成高放式收音机。远处电台信号较弱,中频失谐后,不能将变频电路所产生的465千周的信号加以有效的放大,故调整可变电容器即不起作用。
问:不慎将外差机第二中放管的屏极和帘栅极接线互相调换接错了,收音机连续发出汽船声。为什么?
答:屏极和帘栅极接错以后,帘栅极成为输出端,实际上形成一只三极管,失去了原有帘栅极的屏蔽作用,正回输大为增加,所以产生汽船声的间歇振荡。(以上郑宽君答)
问:矿石既然可以检波,是否可以用来整流?
答:以原理上讲是可以的,因为检波和整流同样都是利用检波器在通过电流时的单方向特性。但作为 交流整流时,一则要输出较高的电压,二则要供给较大的电流,这些都不是一块矿石的那个小接触点所能胜任的,因此就必须用多块矿石串联和并联起来,所以是不切实际的。
问:外差机本地振荡级调谐电容器上面并联的小型半可变电容器起什么作用?
答:它主要是调整振荡级槽路在高频部分与混频槽路的同步。因为这个电容器变大时,等于将调谐电容器的最小容量增加了,高频部分的刻度将显著的往容量减小的方向移动,低频端电台的移动则不太明显。
问:励磁喇叭的励磁圈短路以后,磁力消失,但为什么音圈的阻抗会变得很低呢?
答:因为喇叭的励磁圈和音圈实际上是一个以喇叭中心的柱形电磁铁为铁心的互耦变压器,当励磁圈短路以后,给音圈一个很大的负载,所以阻抗变低。(以上郑宽君答)