节约是社会主义经济的基本原则之一,在工业上节约一切可能节约的人力、物力、原材料等,是当前社会主义建设增产节约运动中一个很重要的任务。这里介绍的框架式收音机,虽然只是一项业余制作,在节约金属材料方面,有一定的意义。尤其对收音机制造工艺来说,可节省底盘等大量的金属材料并合理利用空间,很有参考价值。 编者
一般产品收音机,在机械结构上都用一块金属板作为底板,用来支持电子管和零件,主要是取其牢固,有的地方还可以起屏蔽作用。但在业余者自己制作的收音机中,除了利用现成底板以外,对于金属底板的处理,无论是新制或改造,常常都是制作中最感困难的问题。作者最近曾用12号铅丝(即镀锌铁线)弯制框架,试装了一部交流、干电池两用携带式的五灯超外差式收音机,效果也很好。用铅丝框架装收音机,不需要在铁板上凿洞开孔等烦难手续,并且没有底板上下的界线,可以充分利用空间,把机体做得更小并能节省一个金属的底板,从节约的观点看也是很有意义的。在弯制框架时,就把收音机的外形固定下来,按照线路的特点和设计要求,可以把各种零件在框架内安置到最适当的位置上。这样做另外一个优点就是节省了底板厚金属材料。
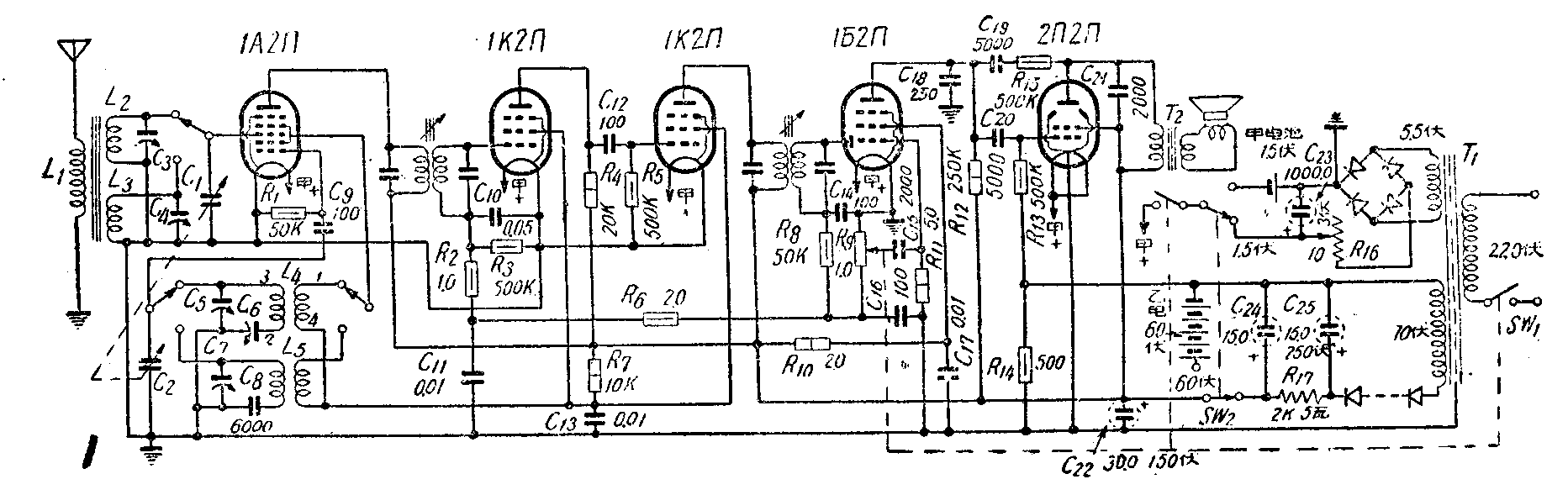
这部收音机线路见图1。这是一部利用省电管具有两级中放的超外差机。1A2П变频,两只1K2П作中频放大,1B2П作检波和第一音频放大, 2П2П作强放。天地线回路采用磁性天线,使灵敏度和选择性都极满意。磁性天线是用一根长100毫米、直径10毫米的磁性瓷棒,上面绕制三个线圈。L\(_{1}\)是天线线圈,用30号漆包线单层密绕50圈,是为了接收远地电台接用天线而设的。L2是中波线圈,用拆自旧线圈上的9股绞合线单层密绕50圈。L\(_{3}\)是短被线圈(6-18兆周)用26号漆包线间绕9.5圈。绕制时先用普通白报纸在磁性瓷棒上裹两圈,再用牛皮纸在上面裹两圈,粘牢后绕线。绕好后抽去中间白报纸,使牛皮纸线圈可在棒上活动,便于调节。磁性天线的按装见图2。振荡线圈采用美通610R和640R的振荡线圈,省去自己设计和绕制的麻烦,并可使调整工作容易些。两级中放之间采用阻容交连,省去一只中频变压器,减少一些调整,缩小了全机体积。第二级中放没有接用自动音量控制电压;加在第一级中放上的自动音量控制电压也较小,所以两级中放虽然没有采用变压器交连,对于接收微弱信号,效果仍然很好。1Б2П和2П2П两管屏回路间的电容器C19和电阻R\(_{15}\)是负回授低音提升电路,可以改善输出音质。


这部收音机使用交流电源时,由框架右下方的整流器供电。这个整流器,包括变压器T\(_{1}\)、硒堆、电容器、电阻、双刀双掷开关SW2及电源进线插头等装置在另一个特制的铅丝框架上(图3),自成一个单元,然后再固定在前述的框架上。这样做的好处是整流器可以整个拆下,便于收音机的检修,也可作为独立的代乙电源使用。整流器内,由11片硒片串联作半波整流供给乙电;用8片硒片每4片桥接成一组,然后两组并联供给甲电。硒片的连接见图4。变压器自制,铁心叠厚2.25平方厘米,初级220伏,用0.12毫米径漆包线绕3960圈;次级高压圈70伏,用同号线绕1260圈;另一次级5.5伏,用0.28毫米径漆包线绕99圈。整流器有四根接线引出甲乙电源。甲一自甲电滤波电容器C\(_{23}\)外壳接到1A2П管座第一脚;乙一自C24、C\(_{25}\)的外壳用一段皮线沿框架边缘接到R13和R\(_{14}\)之间。甲+自C23、R\(_{16}\)接到SW2的右上焊片;乙+ 自C\(_{24}\)、R17接到SW\(_{2}\)的右下焊片。SW2的中上焊片接出引线,经过电位器R\(_{9}\)上的一组开关接到第二只1K2П管座的第七脚;中下焊片接出引线焊接到双连电容器下部的接线架上。如此,当SW2扳向整流器方向时就将整流器与收音机部分的电路接通了。交流电源进线是利用一付卡口汽车灯泡的灯火和插座做成活动式的,不用时可以将引线取下单独保存。


干电池供电系用20只四号3伏小电池串联得到60伏电压供给乙电。用普通手电筒电池二节供给甲电。甲、乙两组电源各电池间均用铜线焊接装在一只硬纸盒内,引出四根电源线,甲—接到第二只1K2П管座第一脚,乙—接至整流器C\(_{24}\)、C25的外壳;甲+接到整流器上双刀双掷开关SW\(_{2}\)左上焊片;乙+接到左下焊片。这样,当SW2扳向左时,便是使用干电池电源了。本机铅丝框架下半部除了整流器以外,留有14×8×8厘米的空间,专供容纳这盒电池之用。如果制一固定电池盒按装在框架内,换装电池比较方便,但是各节电池必须逐个焊接,以免接触不良而使电源中断。这样的电池对于经常开用的收音机,和用大型乙电相比,较为经济。当然也可以使用小型叠层式电池做乙电源,并且可使收音机体做得更小些。
铅丝框架的形状和尺寸见图5。主要由上中下三层及前后共五个铅丝框构成(图5中的粗线)。先按图中尺寸做好上述五个铅丝框,再在各框相接处用细铅丝缠绕,使它固定成形,并在缠绕处用锡焊牢。框架结构完成,再按图中的形状和位置,将安装各主要零件的支架用锡焊上。

整流器装在一个单独的框架上(见图6)。待收音部分焊接好后,将整个整流器固定在收音机框架右下部,按前述方法接通电源,即可进行调整和使用。

铜丝框架制成后,首先将主要零件如线圈、双连、电子管座、中频变压器、输出变压器、喇叭等,以及几个必要的接线架安装在框架内相应位置上,然后再行焊接。磁性天线和波段开关通至变频级等部分,以最后安装较为方便,在主要较大零件中,波段开关、振荡线圈和电位器R\(_{0}\)须先和部分其他零件焊接后,再向框架内安装。波段开关是一只四刀双掷扳动开关。先估计出各脚的接线长度焊好接线, 把开关焊牢在第一只1K2П和第一只中频变压器之间的电子管座支架延长部分上,然后再把开关上已焊好的接线焊接到相当部位。两只振荡线圈、电源开关、电位器R9和电容器C\(_{15}\)都先在外接好再装到框架上去。磁性天线是全机最后安装的一组零件,先按图2装架好,再用细铅丝固定在框架右上方。焊接线路的步骤可按常法,先焊接好甲乙电源线,然后再从强放级开始逐级向前焊接电阻电容器等零件,整机焊接完毕后如图7。

收音机焊接好后,应对线路仔细校对一次。调整时接上天线,接通电源,将R\(_{9}\)旋至大半,调节双连应当可以收到电台播音。找一个音量适中的电台,开始调整中频变压器,先从第二中频变压器的次级开始,微调线圈中的磁芯,使声音最响,然后逐级向前调整。如调整过程中音量增大太多,可用R9将声音调小。如此反复调整1—2次,中频即已大致调好,然后再在双连的频率较高和较低两端各找一个固定的电台校整同步。校好后,再自后向前将中频变压器微调一次,这部收音机装置即告完成了。(马宗超)