用电话幻线远程供电,是解决当前一些无电源地区建站的一种方法,但过去有的地区曾因在电话线上馈送高压发生人身事故,各地广播站在采用这种方法时,应和县邮电局取得联系,并根据当地线路设备情况,特别注意安全——编者。
建立公社广播站,首先遇到的是如何解决电源问题。根据公社广播站规模的大小和条件的不同,解决电源问题的办法也就各异,由发电厂或水电站供给交流电源,当然最方便最经济,但目前还不是所有的公社都具备这种条件。是不是一定要有交流电源才能办公社广播站呢?公社广播站是不是一定要用250瓦或300瓦的扩大机呢?根据实际经验,一般来说,一部10瓦左右的扩大机,就能带动200只或更多的喇叭,并保证有足够的音量,不必要一下子就使用较大的机器;条件差一些的公社,使用不到1瓦或几瓦的机器,也就能带动几十只到近两百只喇叭,满足广播工作需要。
使用几瓦到几十瓦以内的扩大机,即使没有交流电源,还是可以把公社广播站办起来。解决这一类型扩大机电源的办法,从现有的实际情况看来.也是多种多样的。例如利用干电池、蓄电池,利用农村现成的功力如风力、水力、畜力来带动小型发电机等等。不过干电池只能带动两三瓦左右省电式扩大机;蓄电池一般可以供给10瓦左右的机器,必要时也可以供给50瓦以下的机器。但蓄电池也是比较珍贵的电源,使用蓄电池供电的扩大机,最好设计得特别省电,例如末级采用甲乙\(_{2}\)类或乙类放大。
实践证明,利用电话线的幻线传送300伏左右的直流电,直接供给扩大机乙电,乙电蓄电池就可以不用。或者利用电话线,从有交流电源的地区,使用250伏以下的电压对远处的乙电蓄电池进行充电,也就解决了使用乙电蓄电池时,由于运输不便,充电困难,以及在运输途中打翻打破等等的缺点。
根据我们的经验,利用电话幻线传送直流电源,是解决公社站扩大机乙电或乙电充电问题的一个好办法。
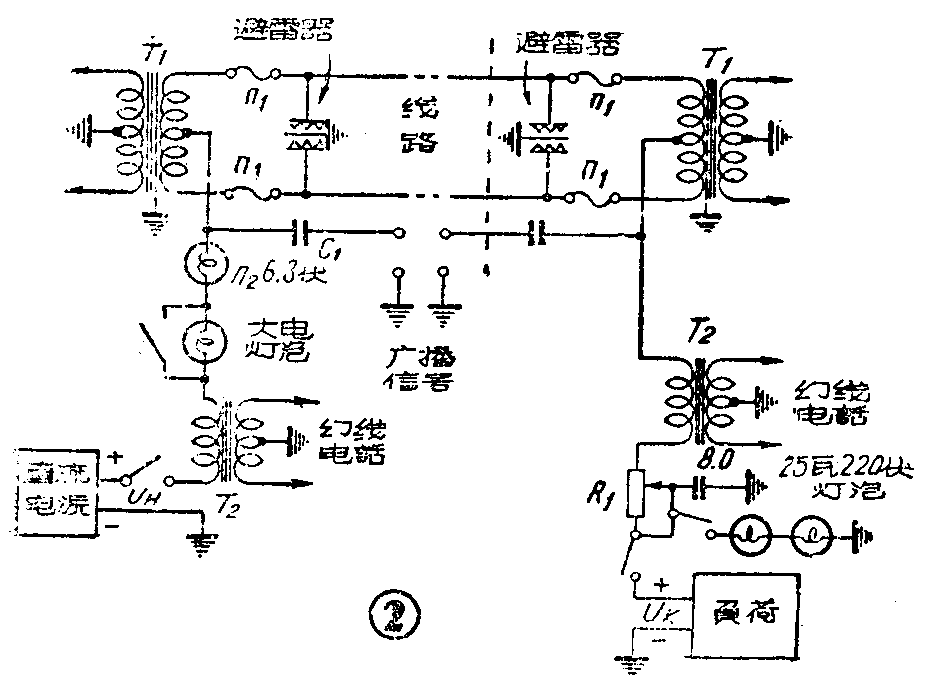
利用电话幻线远程供电的原理
用电话幻线传送50周交流电源,对电话还有一定的干扰,因此,使用的不多,一般还是光传送直流电源。用电话幻线传送直流电的原理见图1。

我们知道,利用幻线打电话或传送广播时,音频电流是从线圈的中心头送进去的,由于电流分开向两个线圈流动,电流的大小相等,方向相反,由电流建立起来的磁力线也就大小相等,方向相反,互相抵消,不会在线圈两端产生感应电压。不过由于线路上不可能完全平衡,每半个线圈所产生的磁力线不能完全抵消,干扰或多或少地还是存在的。
用电话线传送直流电时,由于直流电的大小和方向是不变化的,除掉在线路接通和切断的一瞬间以外,线圈里根本不会产生感应电压。如果我们从线圈的中心抽头送进直流电流,由于直流电分向两方流过,对铁芯的直流磁化作用,恰巧也是大小相等,方向相反,互相抵消。因而也不会影响线圈的电感量,即使线路有些不平衡,也不去干扰电话,影响通话。
远程供电的实用线路

实际使用的远程供电电路见图2。图中П\(_{1}\)是原来电话线上的保险丝;П2是专门保护直流电源的保险丝。若外线对地短路,保险丝就烧断。П\(_{2}\)一定要比П1细,以免烧断П\(_{1}\),老是跑到邮电局去换保险丝,太不方便。П2可以用小电珠代替,线路上传送的电流,最好大体上比小电珠容许通过的电流略小一些。一般小电珠容许通过的电流见表一。
(表一)
品名 电压 规定电流
(伏) (毫安)
公明 8 150
保久 6.3 230
公明 6.3 255
福安 4.5 255
红星大无畏 3.8 325
保久、福安 2.5 325
奇异、明月 3.8 400
大无畏 2.5 400
当用小电珠代替П\(_{2}\)时,可从小电珠的亮度判别线上电流的大小,当作一个指示灯。
T\(_{2}\)的初级线圈当作扼流圈用来防止由于导线不平衡时可能对实线回路产生干扰,它的直流电阻要小,感抗要大,以免减弱电话振铃信号,铁芯之间约留0.3毫米的空气隙。
R\(_{1}\)是一只线绕可变电阻,用来调整电压,一般用125—250欧左右,如果电流在200毫安左右,就有50伏左右的调整范围。此外,也可以在站内整流器上调整电压。
除П\(_{2}\)用小电珠代替外,送端直流电路内还串有普通大电灯泡一只,一般可用220伏60瓦。灯泡旁并联一只开关,可以把灯泡接入或把它短路。如果电源是供给扩大机使用的,那么在开始送电时应先把大灯泡接入,确知外线不碰地和负荷已经接入后,再用开关把大灯泡短路,送出全部电压。如果电源是供受端充电用的,那么大灯泡应该始终接入,即串联在电路里以限制充电电流,保护整流器。同时也作为充电电流的自助调节器,还可以根据它的亮度来推测下面电箱是否已经充好。受端用2只220伏15瓦电灯泡串联起来作假负荷,这样,在切断负荷时,送端电压不致过高,也可以作为来电指示灯。
直流供电的传送距离
直流供电的容许距离,是根据送端电压和受端电压,线路长短和线径以及使用电流来决定的。
钢线回路在+30℃时的直流电阻见表二。
(表二)
线径(毫米) 1.5 2.0 2.5 30 4.0
单线每公里电阻(欧) 81.5 46.0 29.4 20.4 11.5
幻线每公里电阻(欧) 41 23 15 11 6
直流供电距离可以用下面的公式计算:
D=U\(_{H}\)-UK;I-2R\(_{T}\)-2RG-2R\(_{L}\);RI,
式中D-最大传送距离(公里),U\(_{H}\)-送端电压(伏),UK-受端电压(伏),I-传送电流(安),R\(_{T}\)-线路变压器或转电线圈两半个线圈并联时的直流电阻(欧),RG-接地电阻,一般约10—20欧,R\(_{L}\)-扼流圈直流电阻(欧),RI-幻线每公里的直流电阻,即两条线并联后每公里的直流电阻(欧)。
(表三)
传送 电压 线径(毫米)
电流 送端 终端 1.5 2.0 2.5 3.0 4.0
(毫安) 电压 电压 最大距离(公里)
(伏) (伏)
100 250 220 5.5 9.5 14.5 20 37
100 250 180 15 27 41 56 104
100 250 110 30 32 51 120 220
200 250 220 1.7 3 4.6 6.4 12
200 250 180 1.5 12 18 24.5 45
200 250 110 1.5 27 41 56 104
300 250 220 - - - - -
300 250 180 - 3.7 5.7 8 14
300 250 110 9.5 17 26 35 65
400 250 220 - - - - -
400 250 180 - - 2.8 4 7
400 250 110 6.5 12 18 25 4
表三给出了在一般情况下,用幻线传送直流电时容许传送的最大距离。在计算这表时,采用如下一些数据:R\(_{T}\)-11欧(77—A和76—A转电线圈每组约21欧,并联后约11欧,77—A用31号线绕制,容许通过电流约150—300毫安);RG-15欧;R\(_{L}\)-15欧。(待续)(苏方)