随着工农业全面大跃进,农村有线广播网和邮电通信网也在飞跃发展,线路不断增长,喇叭和话机数目迅速增加。县内电话和广播的传输方式一般是同杆共线,定时开放,电话、广播受到时间分配的限制,不能同时并用。尤其在当前为迎接今年更好更全面跃进和展开春耕等农村中心工作,报话通信繁忙,广播宣传任务更重大,既要电话随时通,也要喇叭经常响,因而如何解决广播、电话同开放的问题也显得日益重要。另一方面,在广播网和通信网迅速发展的情况下,人民公社都普遍地建立了广播站,一部分管理区里也陆续的建立了广播站。在通信方面,新的线对也开辟了不少。县、公社、管理区电话线基本上已是双线直达,质量提高。这些情况对电话、广播同时开放提供了有利条件,采取一些措施,可以减低广播对通信线的干扰。我省在建立公社广播站的同时,普遍推广了利用幻线实线使广播和电话、会议电话同时开放。优点是设备简单,技术容易掌握,效果也很好,便于普及,这里介绍出来供各地广播站参考。
一、广播、会议电话汇接装置
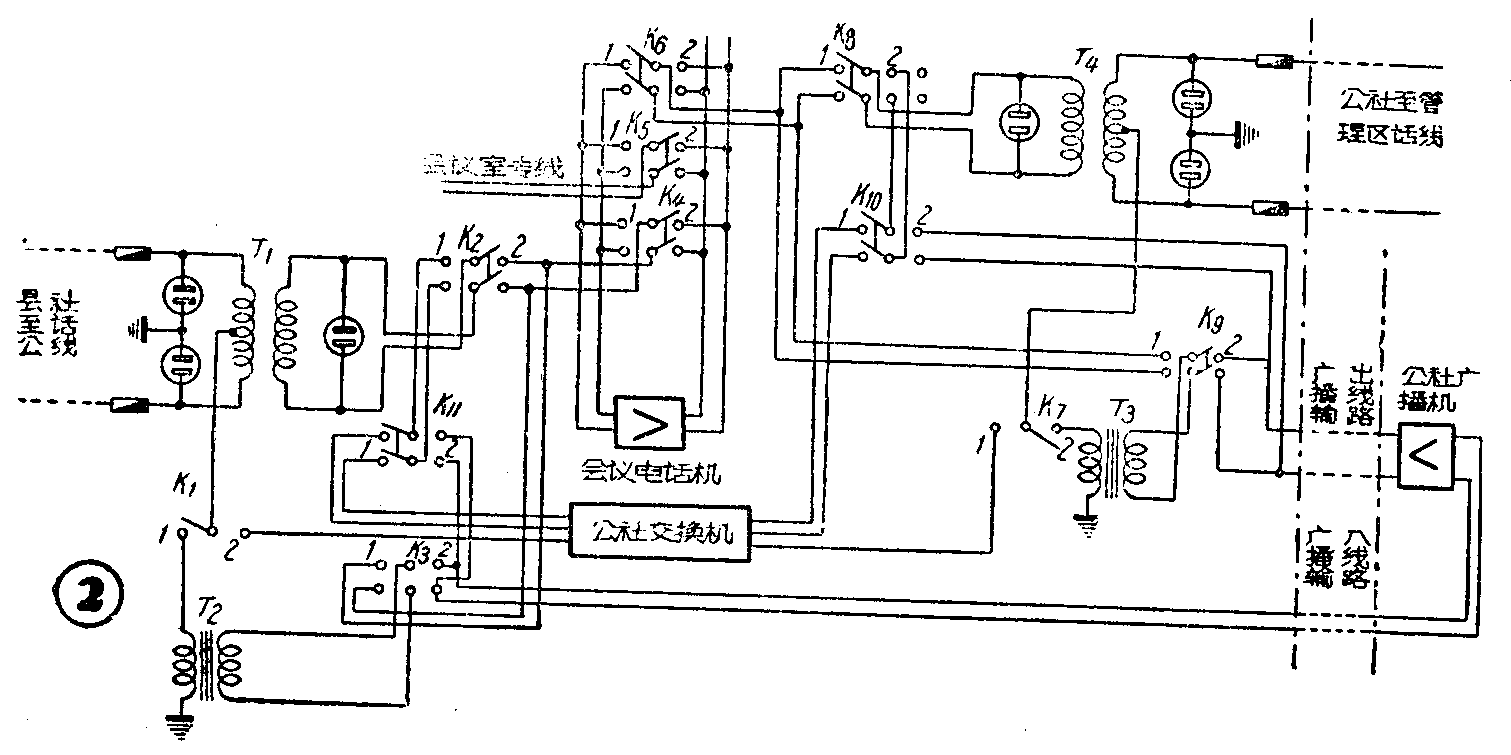
用幻、实线同时开放广播和会议电话,各级邮电局必须有一套比较完备的汇接装置,使话务员在呼叫、应答、汇接和监听时便于操作。图1是县邮电局和县广播站开放广播和会议电话的汇接装置,可以适应以下四种不同情况的汇接。

1.幻线通广播、实线开放会议电话 广播时将开关K\(_{6}\)、K7扳向“2”。广播是由县广播机输出,经输送线、T\(_{2}\)、T1、县话线而达公社广播机输入。开放会议电话,在听取公社发言时,所有其他开关扳向图中所示位置。电话是由公社会议电话机经县话线输入,经T\(_{1}\)、K5、K\(_{4}\)县会议电话机通至各单位。如果话音电流足够大,不需会议机再放大时,话务员可将开关K1、K\(_{2}\)、K3、K\(_{4}\)和 K5扳向“1”就可以直接通话。
2.幻线开放会议电话、实线送广播在某种情况下(详后述),为了减低广播干扰,常需采用这种方式。汇接方法是将开关K\(_{5}\)、K8扳向“2”,K\(_{7}\)扳向“1”。这时广播是由县广播机,经输送线、K8、K\(_{5}\)、T1、县话线而达公社广播机。会议电话是由县会议电话机,经K\(_{7}\)、T2、K\(_{6}\)、T1、县话线至公社会议电话机。
3.实线开放会议电话、幻线通电话 广播停止播音时,可以利用幻、实线开放会议电话和电话。汇接方法是将K\(_{5}\)、K6扳向“1”,K\(_{7}\)扳向“2”。
4.实线通电话、幻线开放会议电话 将K\(_{7}\)、K8扳向“1”,K\(_{6}\)、K5扳向“2”。
广播站接至邮电局的广播输送线使用双线。若用单线,通过市区时常易引起对市话干扰。变压器T\(_{1}\)、T2和开关K\(_{6}\)、K7、K\(_{8}\)最好是固定在进局配线板上,防止广播在机房内对其他机线设备产生干扰。

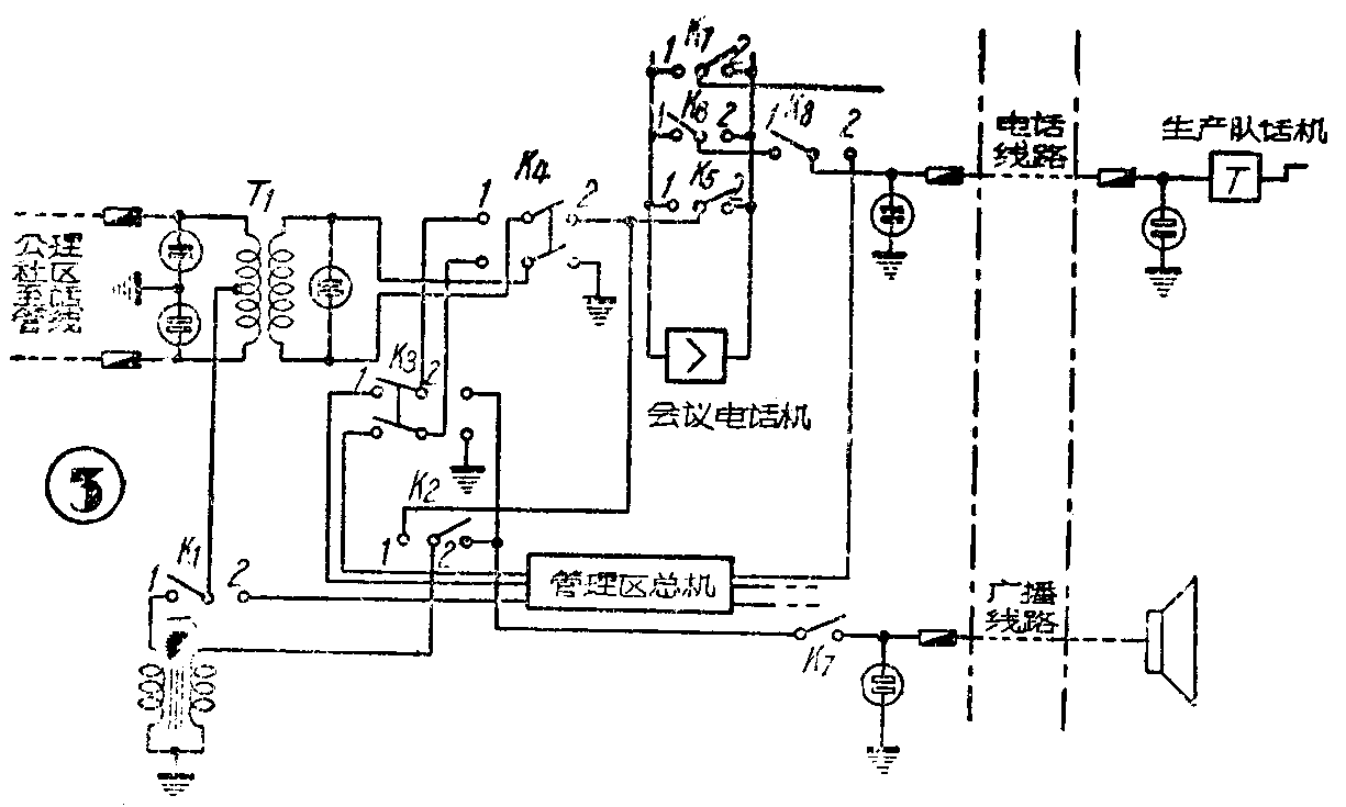
图2是公社广播、会议电话汇接装置。汇接方法和工作原理同上。广播输入线、输出线电平相差很大,为了防止广播机本身回授振荡以及对其他通信线路产生干扰,应该一律采用双线。
如果公社、管理区都建起了广播站,干线、支干线仅输送广播低压信号,在用幻线开放会议电话、实线送广播时,通话电路上无需增添安全设备。倘若管理区没有建站,公社用单幻线输送广播高电压,一般在超过50伏时就须增添安全设备,防止一旦线路发生故障,有一导线在近端接地或断线,电流通过转电线圈,感应产生高电压,对人和机器发生危害。图中T\(_{1}\)、T4接点间都跨接有真空避雷器,电压升高到避雷器放电电压时,避雷器可以放电,降低电压,以保安全。

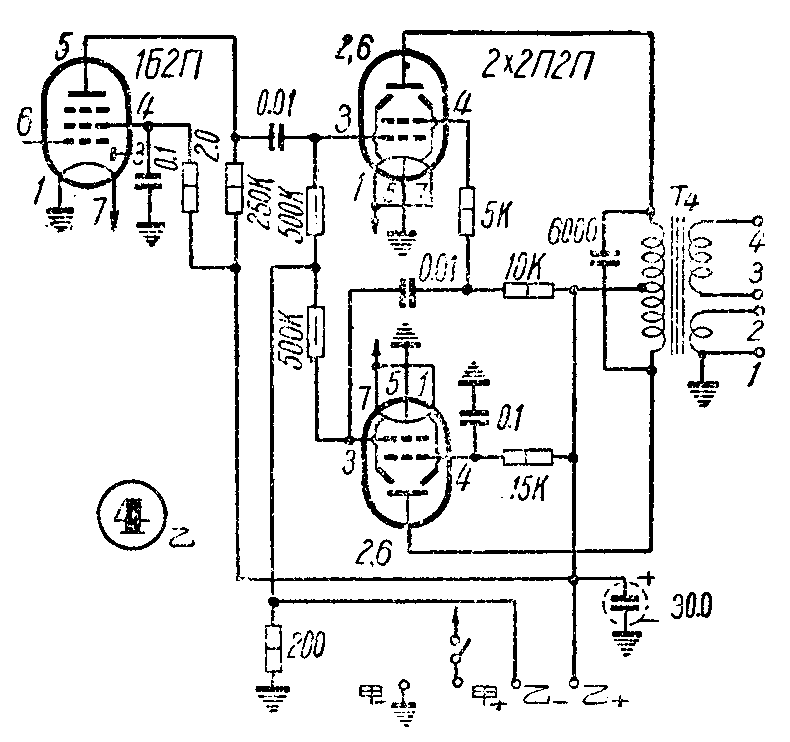
图3是管理区广播、会讲电话汇接装置。这是适用在线路质量较差,广播必须使用高压输送,对电话有干扰时,电话须经会议机放大后通话情况下的办法。在线路质量较好,广播基本上不致干扰电话的地方,可以省略会议电话机,把输出直接由K\(_{4}\)接到通往生产队的电话线路上去。
二、提高话音噪音比
用幻、实线同时开放广播和会议电话,往往由于广播输送电压太高,线路质量差,引起广播干扰电话,应该用增大电话话音电压,并适当降低广播输出电压,来提高话音噪音比,改善通话质量。公社输送至管理区的广播电压一般用120伏或240伏。管理区线路质量较差,广播使用高压输送,除增加对通话的干扰以外,还关系到通话安全。根据一般使用77A型转电线圈,其额定容量不超过50伏安。电压超过120伏时,线圈耐压也成问题,所以广播电压也不宜用得太高,以不超过120伏为宜。用120伏电压输送时,在30公里范围以内能带四、五百只舌簧喇叭,可以满足一般管理区听众的需要。广播之所以使用高压输送,一方面是有个别地方线路太远,负荷过重,更主要的是线路质量太差的缘故。提高话音电压需要使用会议电话机,除了公社应有一部外,最好每一管理区也有一部。干电会议机输出功率要大,音质要好,这样不致因话机增多,负荷加重,影响输出电压降低,音质变劣,再加上广播干扰,使通话感到困难。图4(甲)、(乙)是我们推广的两种简单会议电话机电路图,输出功率比较一般会议机大。图4(乙)只绘出强放部分,其余和(甲)图相同。机内各变压器数据如下:T\(_{1}\)铁芯截面积1.5×1。平方厘米,线圈初级1—2用0.65毫米径漆包线绕52圈,3—4用0.1毫米径线绕840圈,次级5—6用0.1毫米径线绕2500圈。T2铁芯截面积1.9×1.9平方厘米,线圈初级用0.13毫米径线绕1800圈,次级用0.16毫米径线绕1800圈,中心抽头。T\(_{3}\)铁芯截面积1.9×1.9平方厘米,线圈初级用0.13毫米径线绕3000圈,中心抽头,次级1—2用0.65毫米径线绕40圈,3—4用0.16毫米径线绕780圈。T4铁芯截面积 1.9×1.9平方厘米,线圈初级用0.13毫米径线绕3000圈,次级1—2用0.45毫米径线绕22圈,3—4用0.19毫米径线绕600圈。


三、提高线路质量
用幻线送广播时,要减小广播对实线的干扰,除了降低广播输送电压和提高电话话音电压外,更重要的是提高线路质量。要使线路质量改善提高,必须做好以下具体工作:
1.调整不合规格的线路,加强线路经常维修县内广播、通信线路架设有很多地方不合规格,质量较差,如导线粗细新旧不一,接头漏焊,导线垂度不一,杆距不相等和线路交叉点不正确等。其次,支干线很多是附挂在干线杆路上,广播用户线(单线)输入输出线同杆附挂,单双线混在一起,加以缺乏经常检修,产生导线碰树枝或建筑物,接头生锈,隔电子破碎等,使导线对地绝缘电阻小,环路电阻大,两导线失去平衡。这样不仅影响广播干扰电话,电话也互相串音,并且广播机产生回授振荡,使机器不能正常工作。这些情况必须彻底整修。整修以前可以对线路作一次普遍的串音测试。作法是通知各公社分别广播,先将广播输出线全部断开,再逐一闭合,并同时接通县至公社电话,试听电话里有无广播干扰。管理区线路也作同样测试。这样把有干扰的线路——清查出来,找出原因,进行整修。整修后有时也会出现新的干扰,必须反复测试检修,直到串音消除为止。
2.整理广播站和邮电局内外布线,检修各种设备和元件 不少县邮电局的长、市、县话和广播线路是平行进局的,由一个进线孔进入机房。有的长、县话线共用一个配线板和一根地线。广播线也有从市话杆上进入机房的,室内中继线和县话线都扎成一把。因此有一处广播串音,就去影响局内外设备机线串音。改善办法应将不同线路分开进局,使其各有自己的配线板、专用工作地线和保护地线。广播站内单线用户线不能与双线混在一起,防止相互干扰。保安设备上的炭精避雷器日久常会积有尘埃,绝缘不良,使两导线不平衡,产生广播干扰,最好换用真空避雷器。其次,配线板、电键和塞孔等元件日久积有尘土,受潮后也会引起广播干扰,必须经常注意清除。
3.调整市区线路 在街道窄狭的市区里,线路分布复杂,容易产生广播干扰。有的地方广播线与市话线同杆,而市话又与县话线平行架设。应将这些线路全部分开,将广播线附挂在电灯线杆上,或改在道路另一侧沿墙敷设。广播线是单线的应改为双线,到市区以外改成双线有困难时,可如图5接法在市区内用双线。市郊区通过线间变压器仍用单线广播。如果广播干扰是因单线与双线平行架设而引起的,可在平行的一段内改为双线,其他仍用单线如图6。公社市镇线路也应按此处理,特别是公社站转播县站节目,输入输出线必须完全分开,使县话线和管理区话线分开进站或进局,才能有效地防止广播回授和干扰。


4.线路匹配 线路匹配好,对幻线通广播减少串扰也起一定作用,曾在一对线上作过实验,当喇叭负荷匹配正确时,串音电压的0.5伏,不正确时为0.9伏,原因是线路不匹配会产生反射波,对邻近线路产生干扰。
最后,每一话路最好是专杆专线,这样采用单幻线送广播、实线通电话,效果很好。如果同杆附挂的线路很多,单幻线通广播对其他线对干扰较强,这时采用实线通广播、幻线通电话,效果比较好,但同一杆路上不宜同时开放两条单幻线话路,以免相互干扰。(湖北新闻广播事业局 彬质)