利用电话线路召开电话会议,一般必须停止电话的使用,很不方便。我们在党的领导启发和支持下,通过反复试验,试制了一套利用载波传输的会议电话机,经过初步实验,在100到150公里范围内的电话线路上使用,效果很好,原来的电话可以照常通话,不因电话会议而中断。在这工农业继续大跃进的年代里,通信线路充分运用是很重要的,添装这样一套设备,可以提高线路的利用率,在配合做好党的方针政策宣传贯彻工作,具有现实意义。
这套载波会议电话机的试作是从超外差式收音机的原理设想出发的。在超外差式收音机里,天线接收下来的信号先经变频得出中间频率,经过中频放大后,再经检波把音频从载频里分离出来,再经低放和强放级放大,从喇叭里放出电台原来的声音来。从这一原理出发,我们初步想到,象图1(甲)这样把混频后的中频不经检波而送到100公里的架空线路上,经过传输,如果到达受端信号电平还有足够强度能以检波放大的话,就可以实现从A到A'或从B到B',把广播节目送到另一端去。根据这样结论又进而得出如图1(乙)方框图的设计,把变频级改为产生固定频率的振荡级,并使产生的高频频率受到话筒送来的音频电压的调制,经过一级功率放大,送到架空电话线上,到达受端经过一级前级放大,然后检波,低放、强放,在喇叭上还原发音。按照这样办法,电话线上传输的是超出人耳所能听到的双边带调幅载频,所以采用这样的会议电话机来召开电话会议,原来的实线电话线路可以照常开放通话,不受影响。


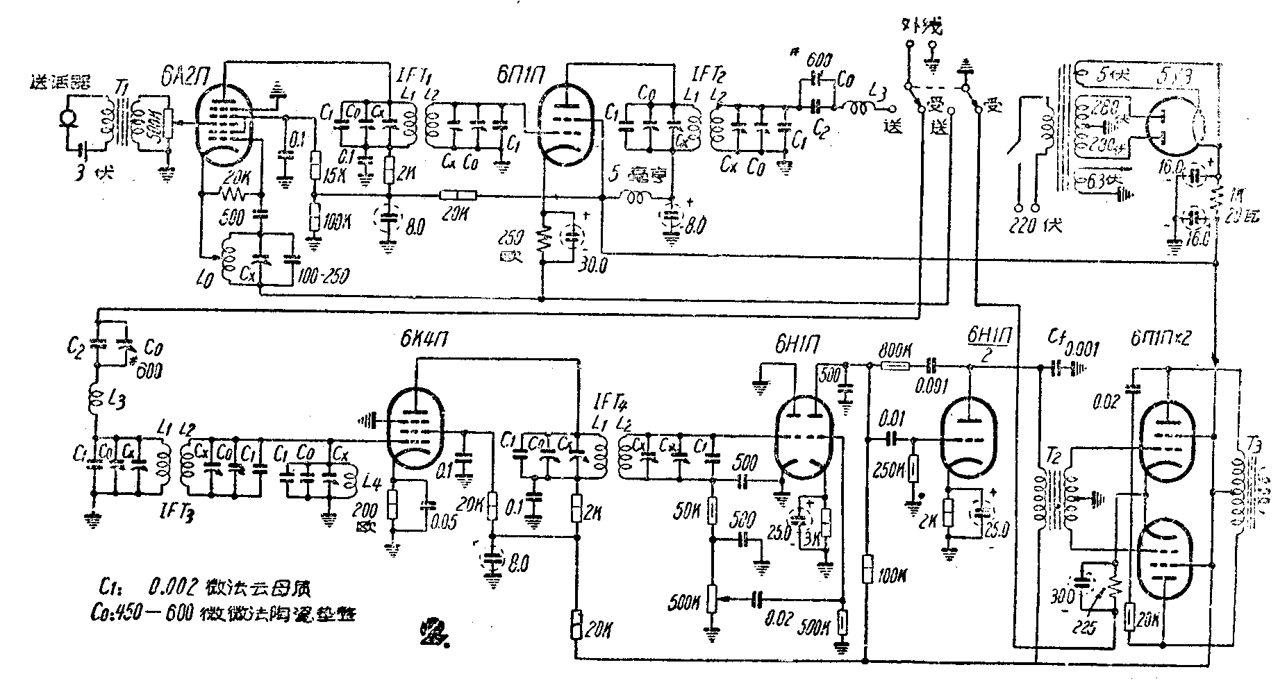
线路原理 这套设备的实际线路如图2所示。首先,架空线路本身对它所能传输的频率有一定限制,因此载波会议电话机所发送的频率必须适应电话线路的传输特性,频率适宜在150千周以下,不宜过高,而且要求频率要有较高的稳定度。所以这里载送频率不能应用一般收音机所用的465千周中频,采用的是100千周。线路结构发送部分是由6A2П产生稳定的100千周振荡频率,这是一个电子交连振荡器的变体电路,在它的第三栅上输入话筒传来的音频电压进行调制,经过调制后的调幅波输入到6П1П进行功率放大送到外线。在受端接收部分是先经过6K4П对接收到的载频作一次前级放大,到6H1П的左半部分进行二极检波,然后又经6H1П的一级三极放大和一级激励,推动两只6П1П作甲乙1类推挽功率输出。在送受两端各级间输入输出均由IFT组成的谐振回路予以耦合,以期取得最大增益。送受两端由L\(_{3}\)C2组成的带通滤波器一方面对100千周载频要有最大的传输作用,另外是要防止IFT\(_{2}\)次级和IFT3初级对实线电话造成音频短路,L\(_{4}\)C1组成的陷波器和带通滤波器可以前后呼应,防止阻带干扰。在受端第一级低放和激励级两屏极间接有RC网络,组成负回授以改善频率响应。C\(_{f}\)为旁路电容器防止由高音频回输造成的寄生振荡。5y3作为全机的电源全波整流。
制作中的具体问题
1.谐振回路的调整 这步工作关系整个机器的效率,做起来必须细心达到好处。L\(_{1}\)、L2、L\(_{3}\)、L4都系市售465千周中频变压器改制而成。我们用的是中央五股,这种变压器当在初次级各并联一只2000微微法和一只超外差式收音机本机振荡电路里中波波段常用的600号垫整电容器时,可以调谐到100千周左右。载频频率究竟采用若干千周,应该按具体情况选定,选择时应该考虑①传输距离远的宜低不宜高;②选用的频率应该远离同杆回线附有载波报(话)路所使用的频率,包括二次谐波干扰在内。各级IFT的调谐方法,由于L\(_{1}\)、L2是成品线圈,所以调谐是靠改变附加的C\(_{1}\)(2000微微法)、和C0(600号垫整)来实现,如图3将一只高频信号发生器接在PB端; GF端接一电子管毫伏计, 将变压器上原有半调整电容器C\(_{x}\)旋至中间不动,使信号发生器发出100千周信号,调整C0使毫伏计指数最大。然后将信号发生器接在GF端,毫伏计接在PB端,并在PB并联C\(_{1}\)、 C0,调整C\(_{0}\)使毫伏计读数最大。所有各IFT都照同样方法调整,这项工作是在全部部件装入机座后进行的。同时在调谐中,改变C0值时,毫伏计的刻度必须有明显的峰点,否则须要适当改变C\(_{1}\)的值找出峰点,具体方法是,当调整C0找不到这一点时(100千周谐振点),将C\(_{0}\)旋在中间容量,缓缓改变信号发生器频率,直至找到谐振点为止,观察信号发生器频率,如果高于100千周,可在C1上再并联一只50至500微微法电容器,反复调整;若系低于100千周,则将C\(_{1}\)容量减低,直到正好调谐在100千周谐振为止。

2.振荡回路的调整 为求振荡稳定,振荡回路本来应当经过周密设计,由于材料和时间所限,这里也是利用成品线圈。L\(_{0}\)是由旧品175千周中频变压器改制的。方法是将它的初或次级任一端去掉不用,在留下一端的线圈上由外向内位置约1/5处, 细心地用针挑出一圈,如图4焊上一段引线作为抽头,在木心的下端用1.0毫米铜线拧牢一圈作为接线端子,将引线另一端焊在这里,然后在线圈两端并联一只100至250微微法的云母电容器,如图5将信号发生器及毫伏计接上,并在毫伏计两端并联600欧电阻作为负荷,调整Cx使毫伏计上指数最大。接收部分由L\(_{4}\)、C1、C\(_{0}\)组成的陷波器亦用同法加以调整。



由L\(_{3}\)、C2、C\(_{0}\)组成的串联谐振电路应按图6接法调整C0,使输出读数最大,这个回路为防止实线电话音频短路是很必要的,但在我们实验时没有来得及接入,所以C\(_{2}\)数值还有待实际试验决定。此外话筒输入变压器T1是用6V6输出变压器代替,3欧端接送话器,5000欧端接至6A2П第三栅。T\(_{2}\)是6J5用1:1推挽输入变压器。T3是6V6推抗输出变压器,作甲乙1类输出,初级屏至屏总阻为10000欧。
整机的调整 进行整机调整时,第一步先将振荡部分焊开,①由信号发生器发出100千周接至6A2П第一栅至地间,双刀双掷倒在送端,将电子管亳伏计接在外线,毫伏计应位于高压挡,即30伏一挡,调整IFT1、IFT2上的各C\(_{x}\)至读数最大。②摘除信号发生器, 接上L0电路,毫伏计仍接在外线,这时调整L\(_{0}\)电路里的C0使毫伏计指数最大。当测得振荡栅对地电压在10~12伏时,外线端电压应在20伏以上。我们在进行这一项调整以前,先用阴极射线示波器进行一次频率校正。方法是将6П1П取下,在它的控制栅脚及地间引出两根接线接至示波器。х轴放大器输入端子上,将信号发生器发出100千周的标准频率接在示波器y轴放大器输入端子上,然后调整L\(_{0}\)电路里的Cx,观察示波器荧光屏上李沙育图形,直至呈显稳定的圆形为止。③接收部份的调整,先将双刀双掷开关的受送两端相连,在6A2П的第三栅输入400至1000周的音频信号,调整1FT3、1FT4的Cx使喇叭发出最大声音或测出最高电压为止。至此全机调整即告完毕。这样接在2.9至3.2毫米架空铜线上,保证在150公里范围内可以得到充足的音量。
注意事项和存在的问题 ①会议电话机接入线路回线使用时,在电话交换机和回线中途搭挂的电话分机的外线端必须串入10毫亨的阻流圈如图7。②载频选用的频率必须总分机一致,同时要考虑对多路载波的干扰。机器不能接地。

由于采用的是调幅制,因而对杂音抑制还不能满意,对其他调幅接收设备也可能产生干扰,同时本机采用的不是载频抑制电路,线路上有载频电流,因而使用中发现搭挂的电话分机通话时,会产生调幅干扰。为了杜绝以上缺点,我们准备试验改用调频制。另外一个缺点就是还不能构成双工电路。(张肖)