(一)
电烘箱在工业生产的许多部门中是重要的设备。在0°—200℃低温烘箱中,一般都是采用双金属片,靠它们的热涨冷缩作用来控制电路的通断,以达到烘箱内温度保持恒定。但是这种方法对温度变化感觉比较迟钝,机械动作往往不够灵活,以致有时烘箱内温度超过所需数倍,电源开关还不能断开。过去我们在烘滤油纸时就曾因此将滤油纸烘烧过。针对以上缺点,我们在去年大跃进当中,自己试制了一只电子继电器控制的电烘箱,它的最大优点是灵敏度高、不会发生温升超过需要还不切断电源,正确性能保持在±1°的范围内。


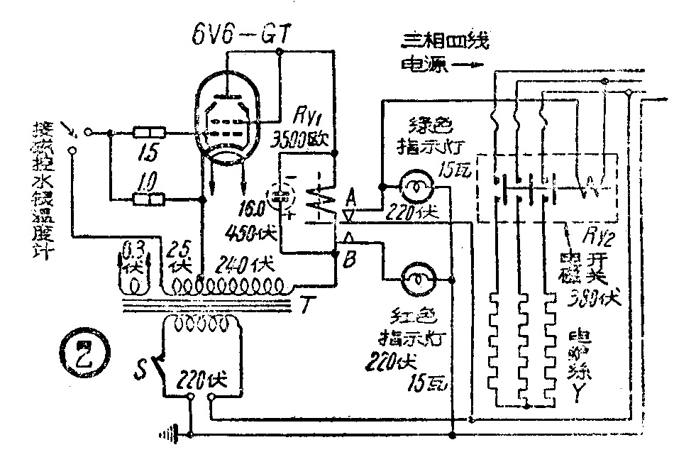
这只电子恒温箱中的主要组成部分是一只磁控水银接点温度计如图1。需要温度的调节是借助于套在温度计上部的永久磁铁。缓缓地旋转这块磁铁,可以使温度计内受过磁化的螺帽随着磁铁磁力线旋转的方向上升或下降,来达到在一定的温度时和水银接触,使电路接通或断开。我们用的是上海联达、华光仪器厂的产品。电子继电器控制部分如图2。当电源变压器(T)接通时,6V6电子管灯丝燃着,这时因烘箱内温度很低,温度计的水银接点处于开路位置,6V6栅极无负压,本身成为一个整流电路,屏流经过继电器(Ry\(_{1}\)),吸动衔铁,这时A点接通,电磁开关(Ry2)线圈有电,开关闭合接通电路,烘箱内电炉热丝有电,同时绿色指示灯发光,表示烘箱已在加温。当箱内温度上升至所需温度后,温度表接点相连接通,将25伏的负电压加到6V6栅极,使屏流切断截止,继电器Ry\(_{l}\)衔铁释开,A 点脱离电源,电磁开关Ry2断路,绿灯同时熄灭,烘箱停温。这时继电器Ry\(_{1}\)由于弹簧拉力,使B点接通,红色指示灯发光,表示烘箱已停止加温。在温度慢慢下降水银接点开路时,电子管6V6重复以上动作,这样电烘箱能保持连续如一的恒定温度。为了提高继电器Ry1的灵敏度,在衔铁上贴了一层很薄的粉连纸,这样不致因剩磁而使继电器不能离开。在烘箱电源供给上采用了三相供电,将炉丝按星形接法连接,这样较用单相供电更为经济。(刘志远)
(二)
采用双金属片的恒温控制器不够准确;用电子管和水银接点温度计配合起来的控制器比较精确,但是电子管的使用寿命有限。所以又不象双金属片那样经久耐用。为了弥补这个缺点,在技术革新运动高潮中我们装成了用硒整流器代替电子管的控制电路如附图。

这个控制器是由电源和控制两个部分组成,结构简单,制作容易。 所用部件里T为电源变压器,次级40伏。整流器为华北厂桥式72/56-1.2型硒整流器。水银接点温度计是上海革新玻璃厂产品0—200℃可调式的。控制继电器Ry\(_{1}\)是直流工作电压10伏电报继电器。加热器电磁开关接点为常闭式的。工作原理:电源输入经电源变压器变为40伏,经电阻R1降压为20伏输入硒整流器整流后,输出为15伏,再经电阻R\(_{2}\)加在继电器Ry1上。水银接点温度计是和电阻R\(_{2}\)并联,在温度未达最高限度时,温度计接点是开路,在电阻R2上有11伏的电压降,Ry\(_{1}\)不会动作,受它控制的Ry2也不会动作,加热器电源接点是闭合的,因此继续加热。当温度上升达到限度时,水银接点闭合,将R\(_{2}\)短路,整流后的15伏电压全部加在Ry1上,Ry\(_{1}\)动作,使Ry2也动作,加热器电源接点被吸断开,因此就停止加热了。(余士祥)