电子时间控制仪,是自动控制中很重要的自动控制元件,广泛用于各种机械生产过程的自动化,生产管理等方面,代替人的操作,减轻繁复的体力劳动,这些设备在目前大搞机械化、自动化的技术革命运动中是一项很有意义的课题。这里介绍的电子时间控制仪,是一部构造简单高度灵敏的时间程序自动控制仪器,由电子时间继电器、机电控制系和指示器三部份构成。
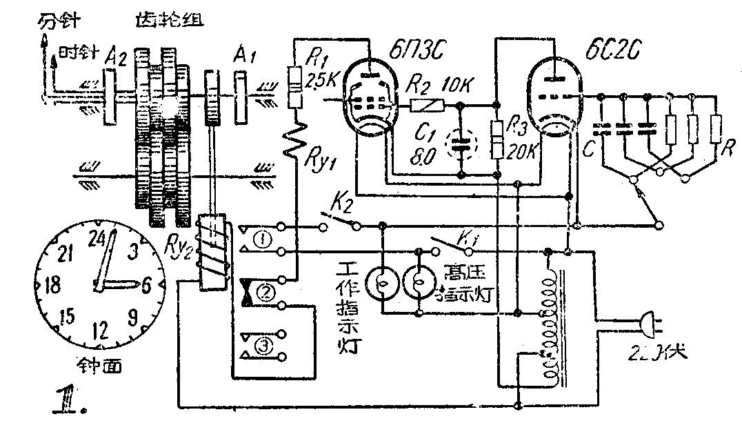
电子时间继电器,主要是一个由RC回路、电子管6П3C、6C2C和继电器①组成的简单的脉冲振荡器(如图1),时间延迟由时间常数τ(即R×C )决定。

以交流电压作为电子管的屏压。当6П3C屏极、帘栅极均为250伏交流电压,屏极负荷为2.5千欧;6C2C屏压为250伏,屏极负荷为20千欧时获得最板流输出。
机电控制系,是由继电器②、齿轮组、波段开关A\(_{1}\)2和接线板、手动对时装置组成,用来控制各种复杂的时间程序。接线板上有插孔,每一孔通至波段开关的一个接点。两波段开关的刀接至信号设备。
指示器、是指示机器工作情况和显示时间数值由两个指示灯和一表盘组成。
当开关K\(_{1}\)闭上后,6П3C作半波整流导电、继电器①工作,接点②断开,继电器②不动作,表针不动。当K2闭上后,电容器C充电,在6C2C栅极上形成很负的偏压、屏流截止,R\(_{3}\)上无压降, 6П3C管栅极无负偏压,屏流仍然最大,继电①动作,继电器②仍然不动作,表针不动。当C充电完毕后,通通R放大,随着时间的增长,C两端的压降愈来愈低,即6C2C栅极上偏压负值逐渐减小,屏流由零逐渐增大,R3上产生的压降增大,6П3C管栅负偏压增大,屏流减小。当C放电完毕6C2C栅压为零,屏流最大,R\(_{3}\)上电压降最大,6П3C管栅压最负,屏流最小, 当屏流减小到继电器①的释放电流时,继电器①释放,接点②又闭上,继电器②动作,齿条动作一次,表针旋转一角度。在这同时接点①断开6C2C无屏压,屏流为零6П3C栅偏压为零,屏流重新增至最大, 继电器①又动作,接点②断开,接点①合上,C第二次充电……。这样循环工作不已,以完成连续控制工作。
继电器②动作一次齿条推动一次,波段开关A\(_{1}\)更换一个接点,在长针插孔上获得一次信号输出。接线板上共有长针插孔六十个,按1、2、3……次序轮流获得信号(如图2)。当继电器②动作六十次后,波段开关A2变换一个接点。在长针插孔获信号的一个周期中(即每一个插孔都获得了一次信号时间内)短针插孔仅有一个获得信号,延持时间恰等于长针转一周所需时间。短针插孔有二十四个,短针周期数为二十四,在一个周期中二十个插孔都能输流获信号一次,而其持续时间都是一样长。

继电器①可用电信继电器改制。改制数据: 0.12单漆包线在原基础上增加2000匝还原即成。改制后动作电流25—30毫安,起跳电压15—20毫安。
继电器②(就是一个交流电磁铁)用0.35单漆包线在截面积为600平方毫米,长50毫米铁心上绕8000匝左右即成。线圈的直流电阻约为300欧,工作电压为220伏。
波段开关A\(_{1}\)2是单刀六十掷,单刀二十四掷开关,制造很简单。
齿轮组由四级四对直齿组成。用厚3毫米的胶布板作材料。用模数0.25毫米铁刀在铣床上铣制而成。齿轮只用了两种节圆直径(大齿轮节圆直径约60毫米,小齿轮节圆直径为30毫米),加工很方便。
电子时间控制器可用来作电子母钟、作息时间打铃器和进行各种复杂的时间程序控制。合理地选择RC就可以获得我们需要的信号时间长短和构成各种周期。我们制造选择了τ=1秒,τ=60秒,τ=300秒三种控制时间,由这三种控制时间组成24分钟、24小时、240小时三个主循环周期。
从1秒到240小时这段时间范围内,可以在任意时间获得信号。最短是1秒钟一个信号,最长是240小时一个信号。可以1秒,2秒,……1分,2分,…… 1小时,2小时,……任意长短时间获得信号。
到底如何使用,我想用一个例子加以说明。
若在5点05分需要打铃,可直接将50,第55个长针,长针插孔#5与短针插孔#6相接,然后将时间常数τ选择在60秒。就可在输出端获得按上述时间程序排列的输出信号,打响电铃。
至于如何利用来作母钟和其它复杂的时间程序控制,由于篇幅关系不在此多述。(王元知)