在社会主义的优越制度下,在党的正确领导下,自动化和远距离操纵将以万马奔腾的速度向前进展,千百万的劳动人民正逐渐从手工的劳动进入广泛使用自动控制机器的阶段,机器和电子管半导体将代替人的劳动更多更快更好更省地为我们工作,而每一个工人将是掌握这些机器、电子管半导体的专家和工程师了,所以工厂的自动化是将来我们进入共产主义社会的工厂的模型。
利用无线电波来操纵机器的运行和各种动作,是一门新的技术。在工农业生产的电气化自动化上将被广泛地使用,例如工厂里的机床,用无线电来操纵,可以一人操作数台至数十台;农业上的电力灌溉拖拉机用无线电来操纵,可大量节约劳动力减轻劳动强度和提高生产效率。在矿山勘测用无线电来操纵钻探,运输起重机,可以节约劳动力和减少危险工伤事故。在炼钢厂或大型机器厂,用无线电来操纵转炉及行车,不但迅速准备,而且安全可靠。
这里介绍我厂向自动化进军初步试验以无线电远距离操纵机器的情况。
最简单的无线电操纵器是由一架微型发信机,一架微型收信机和一组继电器配合而成,全部结构见图1。为了便利携带,发信机可采用干电池作电源,收信机如果装在固定的场所可以交流电源来供给,以节约干电。

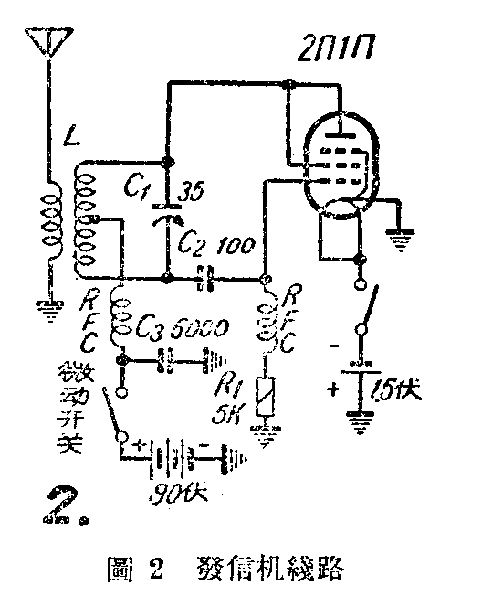
为了轻便起见发信机用一只小型强放管2П1П(或2П2П,3Q4,3S4,3Q5)接成三点振荡器(见图2),采用频率为25~32兆周,甲电用电筒内干电池一节,乙电用90伏,输出功率0.1~0.2瓦,线圈直径25毫米用#12-#16镀银铜线绕10~15匝,匝间距离等于铜丝的粗细,在中心抽一头,接高频扼流圈,天线线圈可用同样铜线绕2匝,装在与振荡线圈距2毫米的地方。天线可用不同直径的铜管,制成长度可任意伸缩,外镀银,长度约300~1000毫米。RFC可在10兆欧的炭阻上用#38~#42漆包线乱绕300~500匝(电阻是用做骨架),装配时必须注意有高频通过的线必须愈短愈佳。绝缘必须用陶瓷或有机玻璃,焊接利用松香,等到全部接线完竣必须接线路仔细检查无误后插上电子管,闭合甲电开关,在暗处应看到管内灯丝呈暗红色,再在乙电回路内串接一只50毫安表,此时闭合微分开关,毫安表上应有10~15毫安的屏流,如果在5K栅漏两端有10~15伏电压产生,表示电子管已起振荡,此时用拾电圈(可用自行车磨电灯小电珠,用#16铜线焊在两端,直径可比振荡线圈略长)套近振荡线圈,小电珠应发亮光, 表示已有高频讯号发射出来,再旋动35微微法的调谐电容器,使小电珠发光最亮,这样表示发信机已经在正常地工作了,发信机发出的信号可以在200~250米距离的范围内非常可靠地接收到,如果需要增加距离到500米,可以增加发信机的功率,用二个2П1П电子管接成推挽式三点振荡电路(见图3)。输出的功率可以大一倍,总重量连电池在内不超过1公斤,所以很轻便小巧。


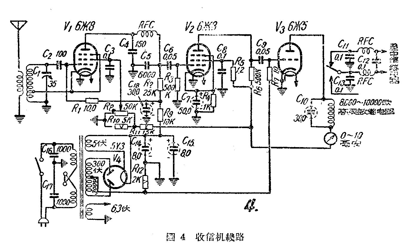
收信机是用交流电源线路见图4,用6Ж8(或6SJ7, 6Ж1П,6Ж3П)做起再生式检波,当无信号输入时,由于超再生作用而产生的“丝声”经第二只6Ж8低频电压放大加上输出电子管6Ж5(或6J5,6SN7)的栅极,使6Ж5的屏流上升而吸上继电器的衔铁,6Ж5的栅负必须调节在截止点以上(即丙类放大)约15~20伏这样可使继电器的动作更灵敏,当收信机与发信机谐振时,讯号就输入到检波管的栅极上,超再生检波器因信号电压的输入使灵敏度降低,“丝声”电压输出减少。6Ж5的屏流下降,继电器的衔铁即释放,如此当发讯机发出一个脉冲时,收信机的继电器即按脉冲而动作。检波器的帘栅极回路内的50K电位器是用来调节再生的强弱,谐振线圈和高频扼流圈的绕制与发信机完全一样。装好后的校验工作是比较精细和复杂的,在核对线路无误后,插上整流,输出和低放管(检波管未插上)开启电源,6Ж5的屏流应为零。再用手触6Ж5及6Ж8的栅极,屏流应上升至10毫安,这样表示低放部分已调整到正常工作了。假使手未触及栅极时6Ж5的屏流没有到零,它将代C电阻2K酌量增加,再插上检波管,渐渐旋动电位器使帘栅压由零逐渐升高。此时6Ж5的屏流也相应自零逐渐升高。当帘栅压在30~40伏时,6Ж5的屏流应有8~10毫安,这表示超再生已正常工作。假使电位器已旋至最大,6Ж5的屏流仍未升高,表示检波不起振荡,可以酌量增加电位器的并联电阻或将振荡线圈上的阴极抽头向上移动(在正常情况下,阴极抽头约在距地线1/3处)。接收机调整好后,将发信机线圈移近接收机,渐渐旋动35微微法调谐电容器,至谐振时,6Ж5的屏流会从10毫安下降至1毫安,继电器的衔铁应灵活地动作,再把发信机移远,接收机屏流应同样下降,在接收机与中继继电器间应加滤波电路,以避免执行装置马达起动时火花高频回输引起工作不稳定。

中继回路的中继继电器可用步进式选择器来完成程序控制或其他动作,线路见图5,当发信机发出一个脉冲电波后,接收机的高灵敏继电器即吸动一次,步进式选择器的衔铁也吸上一次,棘轮也跳到第1格,第一号执行器就起动作,等到第二次脉冲收到后,第二号执行器动作,这样根据动作的需要来执行动作。

如果执行机构需要做多种任意选择的控制(非程序的),在发信机上可采用自动电话发号盘来代替微动开关发射脉冲讯号,接收机将脉冲讯号传入步进式选择器,其中有辅助继电器。使步进式选择器在接受脉冲信号完毕后能自动复位(线路见图6)。

当接收到一系列脉冲后,继电器甲即吸上,乙随即吸上,继电器乙的动作较慢,对脉冲信号传入时保持常吸状态。继电器甲随脉冲动作,故步进继电器丁也随脉冲而旋转,此时继电器丙与继电器乙相同也是缓慢动作,对脉冲信号传入保持常吸而使旋转机构不带电。当一系列脉冲停止后,继电器丙释放,使旋转机构带电,步进选择器经过继电器甲而带电,由电阻与电容器而自生脉冲电压,将旋转机构恢复原来地位。
在控制多台机器运行时,倘其中有一台或数台机器忽然发生故障或原料用完,可用故障警报器能在0.05秒钟内发出警报信号而自动停车。它是一只高灵敏的电子继电器(线路见图7),倘触头K\(_{1}\)与机器壳子(地线)接触时屏流减少,继电器释放,倘触头K2与机壳(地线)断开时,屏流也会下降使继电器释放,这样都能使起动器关闭马达停止,同时信号灯或警铃立即发出信号。因为电子管的灵敏度很高,只要像针头大小的触点在0.05秒内就会动作,并且触头的电压很小(约10伏)可以操作时很安全可靠。(上海上联电工器材厂 丁纪根)
