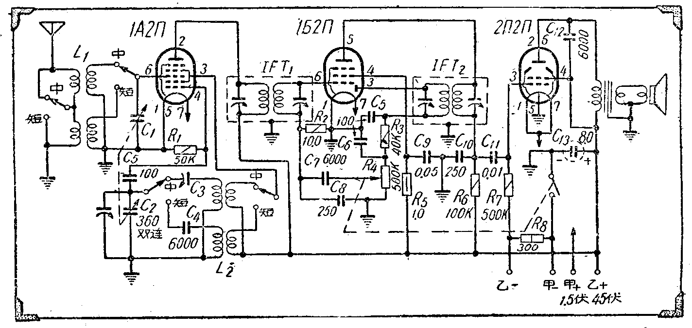
农村和无电源地区使用的无线电广播收听工具,在距离发射台近的地方,以矿石机为最简单经济。但在较远地方或在同时要供多人收听时,矿石机便无能为力,还须使用电子管收音机,才能满足需要。这种收音机甲乙电源一般需用干电池供给,经常维持费用较大,所以如何省电经济,计时首要考虑,尤其象在勘探队、水利工地等野外工作的移动单位里使用时这种工具,还须注意到体积小巧、结构简单、携带便利。来复式线路用在这种收音机里比较合理,同一线路,采用来复式的可使电子管数目减少,因而也降低了电池消耗。附图便是经过实验的一具来复式三管超外差广播接收机线路,乙电只须45伏便能稳定地工作,灵敏度很高,适合于一般收听,也可作为公社广播站转播节目的接收机使用。

这只收音机使用1A2П变频,收到的信号经过混频得出的中间频率经第一中频变压器IFT\(_{1}\)输入到1Б2П的五极部分进行放大,再经第二中频变压器IFT2输出交连到小屏极检波,然后经R\(_{3}\),C5,C\(_{6}\)滤波,经由R4和C\(_{7}\)交连再回复进入五极部分进行音频放大。放大后的音频电压是在R6上获得的,经过C\(_{11}\)交连到末级2П2П管进行功率放大来推动扬声器。在这样中放管同时又进行低频放大的来复式线路里,必须接有适当的傍路电容器,使中频和低频通路分开,不致相互影响。图中C8和C\(_{1}\)0便是起着这样作用的,电容器必须选用云母或瓷介质等质量较好的。屏极负荷电阻R6直接关系列音频放大增益的大小,实际阻值在100K上下,应由试验决定,以能获得最大音频电压而不影响中频放大为合宜。为了尽量提高收音机的灵敏度,线路里没有接用自动音量控制。R\(_{2}\)是11Б2П的栅极电阻,选用10兆欧的高阻值,可以限制过强信号的放大率。

在实际制作中,此机天线和振荡线圈是用美通554中、短波两波段线圈,利用一只四刀双掷波段开关转换。开关装接时中波段线头按顺时针、短波段按反时针方向焊接。中频变压器是中央牌9股,同时在每只线圈管内塞入两只铁淦氧磁芯。全机接线愈短愈好,尤其在来复放大的一级里必须尽量缩短。几只傍路电容器接地端要牢固地焊在一根公共地线上。电容器C\(_{9}\),C12不要靠近C\(_{11}\)和C7,免生回输振荡,电源开关如图装接可以同时关闭甲电和乙电,不致因电解电容器C\(_{13}\)漏电而致乙电无功消费。甲电用1.5伏大号干电池供给,可用200小时以上。
收音机的校验和一般超外差机相同。装接完毕后,先以小电珠插入各灯座丝极插孔内,开启甲乙电,看小电珠燃点正常,再将电子管插上使用。中频变压器因加有磁芯,线圈电感量增加,谐振频率移动,校验时应仔细调整。方法是在中波段选听一个电力适中的电台,微微调动第二中频变压器的两只调整电容器,使声音最响,先动次级再动初级。然后再调第一中频变压器的两只,方法同前。这样便可使变压器回复谐振在465千周上,因为这里变频级所用的商品线圈是能差拍出465千周的中间频率的。