无线电收发报运动已在各地蓬勃开展,需要大量的教练机。采用音频变压器的音频振荡器,价格较高;机械振荡器虽然成本较低,但接点容易损坏,要经常调整修理。我们最近试制了一种音频振荡器,零件很容易从市上买到,装置简易,是一种比较实用、经济的教练机。现提供出来,和大家交流经验。


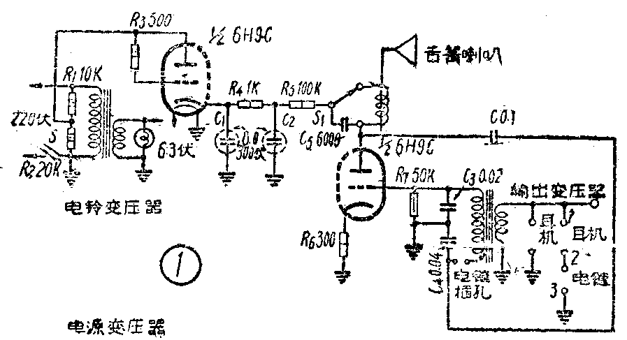
图1和图2是这种振荡器的两个电路,应用了考毕兹振荡线路。线路很简单,特殊的地方是利用6V6输出变压器的初级线圈做了这个电路的振荡线圈。图1的特点是用料经济,只用一只6H9C(或6SL7)电子管,以一个三极部分但任整流,另一三极部分担任振荡。电源由电铃变压器供给,用舌簧喇叭发声。全机装成只花了二十元,能够供给10—20人练习。图2比图1用料较多,全机约需四十元,但由于它采用了125毫米永磁扬声器和6V6功率放大管,由6V6电子管的帘栅极、控制栅极、阴极组成振荡回路,再经屏极放大,故放音宏亮,可供50—100人的练习。

使用时也很方便,将转换开关S\(_{1}\)旋向喇叭时,即可用喇叭练习收报,旋向屏极(图1)或5欧电阻(图2)时,即可用耳机收报。如教员将电键短路,学员将电键与耳机串接,便可练习发报。为了移动方便,在没有按装固定线路的场所也能使用,可制作一些接线板,板上装有六组接线柱;如图4所示,接线如图5所示。将接出的软接线(长度可根据需要来定)插入振荡器后板输出孔。如练习收报,可将耳机接1、3两接线柱。如练习发报,耳机应接1、2两柱,电键接2、3两柱即可。利用接线柱2,还可作通报练习:例如将第一组与第六组的接线柱2用软导线连接起来,这两组便可通报。
此外,图2中需一5欧电阻,市上不易买到,可以利用坏的线绕电阻拆下5欧电阻丝,绕在一个高阻值炭阻或小胶木片上。要调整振荡频率,可改变C\(_{3}\)、C4的数值,如要在小范围内调节频率,可在C\(_{3}\)或C4上并联一垫整电容器。一般说,振荡频率固定后,不需经常变动。


图6是图2的零件排列和底板接线图。为了提高单管振荡器的音量,图1中的电源高压接线可改按图7的接法,线路输出接线柱和耳机插孔最好不接至公共地线,这样比较安全。(杭州市无线电俱乐部 潘邦达)

