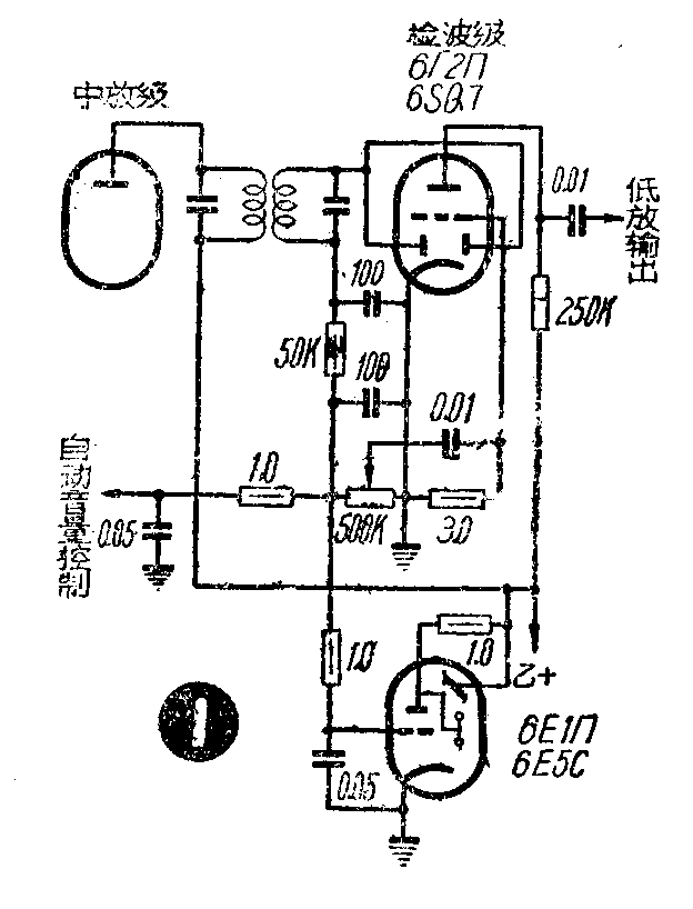
“电眼”——电子调谐指示管是专门用作可由眼睛观察电路调谐是否正确的光学指示电子管。一般用在有自动音量控制电路的外差式接收机中,作为指示对所收电台信号调谐得是否准确之用。此外也常用在一些电子仪器中指示调整,也用在录音设备中作指示录音放音的强弱变化用。这种电子管的基本型号是6E5C(6E5),现在最通用的却是我国工业自己生产的6E1П-K。这两种管子除了作显示用的荧光屏结构和使荧光屏上显示的阴影变化所需要的栅负压大小以及管座接线不同外,工作原理是一样的(参阅1955年本刊第10期“电子注指示管”和1958年第6期“6E1П-K国产新型调谐指示管”两文),可以在同一线路里换用。它们用在收音机里的基本接法如图1,是通过一只滤波电阻电容接在收音机中放级以后检波级的自动音量控制电路里,利用检波取得的自动音量控制负电压作为控制电压,使荧光屏上的阴影变动,来完成调谐指示的作用。但是一般的只有一级交频和一级中放的五灯超外差式收音机,接用指示管以后,只有在中波段接收当地强力电台时,指示管阴影的闪动比较明显,在接收外地电台和在短波段里,就显得灵敏度不高,甚至阴影完全不能闪动。这是由于一般五灯机的总增益不高,除却本地电台以外,收听其他电台时在自动音量控制电路里得到的负电压不高,不足以推动指示管发生作用。在这样情况下,按照以下几种线路改接,可以得到适当的改善。


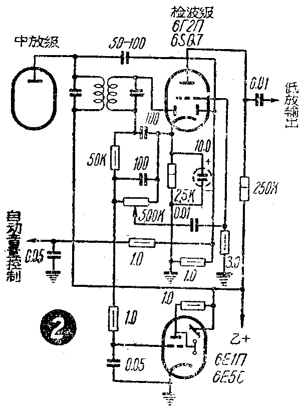
图2的接法是把原机上的自动音量控制线路改成为迟延式的,由检波管的另一个小屏整流单独取得。在图1线路中,自动音量控制是和检波混在一起,对强或弱的电台一视同仁,都起作用,电力强的电台被控制压低了,弱的则变成更弱,以致弱的电台在指示管上就没有指示了。按照图2接法,检波管阴极里接有一定的自给栅偏压电阻,使自动音量控制在外来电台信号在有一定的强度时才能产生必需的负压,对较弱的信号不起作用。这样指示管的控制负压是取自检波小屏整流后电流流经负荷电阻R所产生的电压降,弱电台不受自动音量控制的影响,所以指示管的灵敏度就相对提高了。

图3的接法也可以改善指示管的灵敏度。这样在光屏的电路里串联一只电阻R,阻值约30K至50K。这时当收音机有输入信号时,指示管三极部份的栅负压增高,屏流减小,使光屏上的阴影变小,这和一般接法时情形相同。但在无信号输入时,屏流加大,因为光屏上增加了电阻R,光屏正电压降低,使得原来屏极电阻上的电压降相对提高,光屏阴影的闪便更明显。这种接法的缺点是光屏电压降低,光屏的亮度也会降低,这可以把指示管所需乙电接至电源整流滤波器以前,以提高乙电压来改善。但是光屏电压低却能延长指示管的有效寿命。

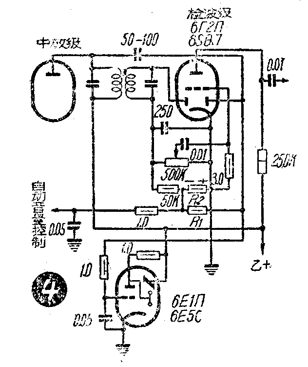
图4的接法是将指示管所需的控制负压单独由检波管的一个小屏整流来供给,这只小屏的负荷电阻R\(_{1}\)不直接接地,而是接到检波和自动音量控制小屏的负荷电阻R2上再通地。这样指示管栅极上所得到的负压是小屏整流后电流经过负荷电阻R1和R2之和的电压降,无疑的指示管的灵敏度是提高了。R2的阻值不宜过小,一般在1兆欧以上。由中放级通到小屏来的交连电容器C可用小一点的30~50微微法。

指示管作调谐指示用时还有一种接法。它的栅极不接在自动音量控制或是检波电路里,而是接到收音机强放级电子管的阴极电路里(图5)。这样栅负压是从电阻R上取得。这只电阻事实上是和所有电子管的乙—与地之间串联着的,当有信号输入时,受到自动音量控制各管的屏流变化引起阴极电流的变化,由于这些阴极电流都要流过电阻R,在它的上面产生的电压降是加在指示管的栅极上的,因而外来信号的强弱变化会引起这个电压降的变化,使指示管光屏上的阴影随着变动。电阻R的数值需要根据指示管所需的负压依照公式R=V/I求出,其中V等于指示管的栅负压,I等于经过R供电的各电子管在最低栅负压时阴极电流的总和,其中也包括指示管本身在内。R的瓦数应按上式中的I和V乘积的二倍。这一接法只能有效地用在具有高放或两级中放这样增益比较大的收音机中,在一般增益较小的普通四五灯机中还不宜采用。(·汞·)