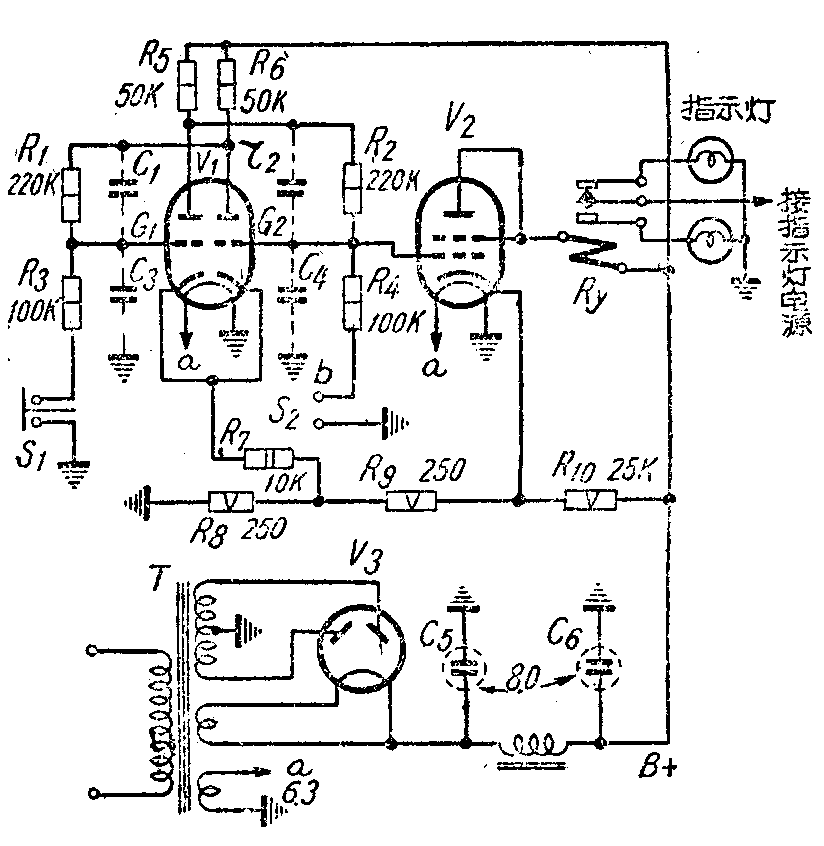
在大闹技术革新运动当中,我们配合工作上的需要自己制作了一具电子瞬时断续指示器,线路如附图。这具指示器主要用来检查一些器件的接点是否有视力或普通指示设备所不能分辨出的极短时间断开或接触。例如在通信设备中,对一般继电器振动稳定性的测试,对继电器受到冲击时接点接触的可靠性检查等都必须使用它。这具指示器所能指示时间断续的灵敏度是在微秒的数量级,不过由于电路里有分布电容存在的关系,它实际指示的时间断续长短,还取决于电路的装配质量。在线路上它是一个变形的多谐振荡器。我们用6SN7GT(或6H8C)作振荡,6V6GT(或6П6C)作放大。S\(_{1}\)是按断开关。被试器件的断续处接在S2的两端,S\(_{1}\)和S2可以掉换接用。假定在工作时被试器件是闭合的,S\(_{1}\)和S2全是通路,那么电路是处于平衡状态,没有什么现象。当S\(_{2}\)断开时,由于电子管极间电容C2充电,以及R\(_{4}\)的断开,使得G2点电位迅速增高,因而V\(_{2}\)栅极电位也增高,立即产生很大的屏流,促使继电器Ry工作,使控制着的指示灯变换。这时如在S\(_{1}\)处断开,极间电容C1充电,使得G\(_{1}\)点电位急增,V1左半部三极管的屏流增大,又促使G\(_{2}\)点电位下降,V2屏流减小,继电器停止工作,使电路处于原来的平衡状态。这样我们可以根据继电器是否工作来判断被试器件的接点是否断接。

振荡器电路的工作时间必须小于被试物品断接一次的时间,否则电路将跟不上被试器件的变动而不能达到测试的目的。电路工作时间取决于C\(_{1}\)和R1相乘的时间常数(C\(_{1}\)R1和C\(_{2}\)R2应该是相等的)。另件选用和位置安排都能影响常数的增减,在这里是比较重要的,须要加以注意考虑。

这只指示器电路工作时间实测给果约为5~8微秒。测时在电路里加有一个电子管放大器如图2,代替一只被测试器件。电子管(V\(_{4}\))用6SJ7锐截止五极管。工作时将屏极接至指示器中S2的b点,将它的栅偏压调在恰是屏流截止点,并在栅极通过C\(_{7}\)加入一个交流信号(由一般信号振荡器取得)。这样V4将按所加信号频率一周正负变化而工作或不工作,就相当于被试器件的接点接合或断开。断结时间按照下式计算:
τ=\(\frac{1}{f}\)×1;2
f为所加信号频率,我们实测时输入信号为70~80千周,所以
τ=\(\frac{1}{2f}\)=1×10\(^{-}\)6;2(70~80)≈7~6微秒
实际制作中,电源变压器为普通收音机用电源,整流管(V\(_{3}\))用5Y3或同类型的。继电器的直流电阻须与V2的屏阻匹配,使它保持一定的灵敏度。振荡部分的另件最好选用体积较小的,装接时从管座脚上直接引出,这样可使电路的分布电容大大减小。(史中才)