在1959年全国广播接收机观摩评比会上,关于生产更多更好的廉价普及型的广播收音机,更好地为党的宣传工作服务并满足人民物质文化生活的需要问题得到普遍重视。在这次会议后,普及型收音机的新样机在各地也大量涌现,这是一种好现象。上期本刊已经介绍了两种参加评比的普及型收音机,这里再介绍参加评比展出的60—2型一种,供大家观摩参考。
——编者——

在结构简单的普及型三灯收音机中,一般存在的缺点是灵敏度还不够高,电压非线性失真度较大。如果生产成本维持不变,并且能在这两个方面取得进一步的改进,这就表明我们在改善这类有利于广大人民群众使用的广播收听工具,提高它的性能质量上又前进了一步。这里谈谈我们试制的60-2型三灯机程式和性能,提供大家参考。

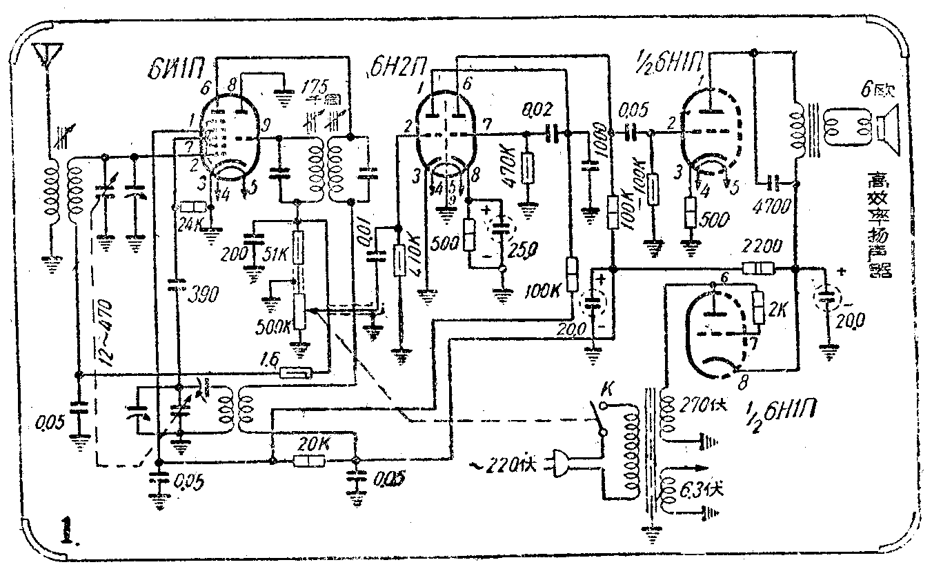
60-2型采用6И1П、6H2П和6H1П三只电子管,电路结构如图1。6И1П的七极部分担任振荡和混频,三极部分接成为二极管作正规线路检波。6H2П作两级音频电压放大,6И1П的一半三极作功率放大,另一半充作电源整流。在变频级里,6И1П的七极部分是采用外栅振荡、内栅混频的接法,即第三栅为振荡栅而第一栅为信号栅,振荡部分回授线圈的一端通过中频变压器初级接至屏极。实验证明利用6И1П的七极部分单独担任变频时,这样的接法比起一般内栅振荡、外栅混频的接法,得到的变频增益要高得多。使用外栅振荡、内栅混频,变频增益可达40~50倍,而内栅振荡、外栅混频变频增益只有8~10倍。中频频率选用175千周。因为机内没有中放级,只用一只中频变压器,采用465千周时全机选择性只能做到14分贝以下,把中频频率降低为175千周,可使全机选择性不低于20分贝,这对全机灵敏度来说也是很有利的。6И1П的三极部分接成二极管作正规线路检波,这比用三极管作栅极或屏极检波的方式,在整机电压非线性失真方面有很大的改进,可以完全避免由于信号过强而产生的非线性失真,对音质有很大改进。作功率放大的半个6H1П管栅极电阻选用100千欧,目的在于减小信号过强时所引起的栅流失真。另外,此机试用一种高效率纸盆扬声器,声压比较一般扬声器高,不仅提高了放声效率,还保证了音质优美。6H1П充作整流部分屏栅之间接有一只电阻,变更它的阻值对输出电压有调节的作用,但阻值不宜过小,否则影响电子管的使用寿命。
从测试的结果看,此机的特点是:①灵敏度很高。在中波的全个波段里灵敏度都在300微伏以内,完全达到三级收音机(五灯机)国家标准。实测在600千周灵敏度为225微伏,900千周为250微伏,1400千周为300微伏。②中频频率采用175千周,整机选择性很高。实测偏调+10千周时衰减21分贝,-1O千周时22分贝。③由于采用正规线路检波和备有自动音量控制,整机非线性失真度低,最大不失真功率可达150~200毫瓦。实测输入信号为5000微伏,输出75毫瓦时,测得音频200周失真度为5.76%,400周为2.64%,1000周为2.3%。④采用一种专为直流收音机用的高灵敏度扬声器,它的基本构造与普通五寸永磁喇叭相同,但采取了一些减轻纸盆重量,增大辐射面,提高磁通密度的措施提高灵敏度,额定功率为100毫瓦,经实测声压比较一般扬声器提高三倍。

中频频率改用175千周,一般产品中频变压器不能适用。我们是用华北厂ZPOЗ-1型中频变压器改制,将原来并联瓷介电容器换为250微微法KCO-1型云母电容器,线圈改绕用0.08毫米径单股漆包线在原线圈上增绕195圈,共为405圈,两线圈之间的距离改为17毫米,接法仍与原来相同。6И1П是复合式电子管,如不易购得,可用6A2П代替,程式上须要变更如图2。这样改由6A2П单独变频,6И1П的一半作栅极检波兼第一级低放,灵敏度比较还可提高一些,选择性和其他性能相等,但非线性失真要大些。如果不太考虑音质,扬声器可以舌簧喇叭代替,放音效率也很高,生产成本并可进一步降低。(王福津)