为了迎接今年更好更全面的工农业的大跃进,争取迅速地实现党提出的农业技术的改造,实现“四化”,广大农村中正轰轰烈烈地开展了兴修水利的运动和掀起春耕生产的高潮。在分秒必争的日子里,会议电话就成为当前领导机关指挥生产,推动工作,听取汇报,布置工作的有力工具,使各个地区能够迅速而及时地贯彻领导意图。
目前,各地对会议电话机的需求不断增加。如何利用一些普通材料,制成管理简单、效率高、省料、成本低和制作比较容易的会议电话机,供给农村使用,是一个具有现实意义的问题,这也是贯彻两条腿走路的方针的问题。我们在党的领导下,在继续大闹技术革新的高潮中,发挥了敢想、敢干的风格,大胆地试制成了如本文介绍的会议电话机。经过试用,证明基本上符合于上面的要求。它的主要特点是:

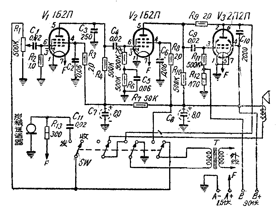
1.全机只用一只变压器,并且还是用6V6输出变压器改制的。改制方法是把次级圈拆去,初级用同号线加绕650圈,另用40号漆包线绕1000圈作次级。这只变压器在收听时作输入变压器,由于变压器的升压作用,提高了输入电压。在发话时,由于转换开关的作用,它又作为输出变压器。初级阻抗为8000欧,基本上与2П2П管匹配,次级阻抗为500欧,将信号送向外线,这样就省了一只昂贵的输入变压器。
2.收听时我们用廉价的舌簧喇叭放音,优点是可以和2П2П管匹配,又兼有省电、灵敏度高的特点。我们试听,在音量不甚开足的情况下,放声已够百余人收听,完全可以满足一般单位的要求。
3.送话方面,我们用的是土办法,采用电话机用的炭精送话器,把它装在一只塑胶肥皂盒里效果也很好。我们的送话器不采用感应线圈交连,而用电阻当负荷,用电容器交连,是取其经济。为了使用方便,我们送话器只用了1.5伏,这样虽说效率会低一些,但经过三级电子管放大后,音量完全够用。
4.收发话转换开关我们没有用昂贵难买的电键,而是利用一只两波段开关,使用效果同样良好。
图2和图3是这只机器的底板上另件布置和底板下接线图。图中电位器R\(_{1}\)上是附有一只双刀单掷电源开关的。它的一刀应该接在电源A+,另一刀接在B+的电路里。(吉林省德惠县广播站 丁秀龄)

