Ty250—1000有线广播设备805管损坏,一时没有备用管时,可以用211管代替。用211管代替805管是因为这两种电子管特性大体相仿,管座接线也类似,改动容易,不致因改装而过多地影响广播的正常进行;等到有了805管,只要几分钟时间,就可以恢复原来电路。我站用211管代替805管,经过测试,不论在输出电力,音质或音量方面,都不下于805管,效果很好。
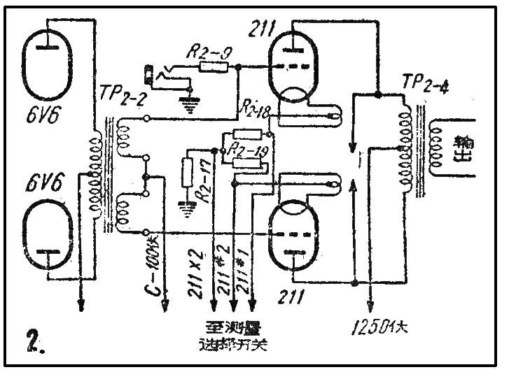
211管作乙类放大时特性如下,管座接线如图1。

灯丝电压 10伏,
灯丝电流 3.25安,
栅偏压 -100伏,
栅至栅峰压 410伏,
屏极电压 1250伏,
屏极电流(两管) 20/320毫安,
屏至屏负荷阻抗 9000欧,
栅极推动电力 8瓦,
输出电力(两管) 260瓦。
改动方法和部分:
1.211管和805管的灯丝电压,电流以及屏压都相同,换用时只要将机架接805屏极的屏帽焊下,将接线改接到805管座的空脚上,即211管的屏极上。
2.将机架805管栅极激励变压器TP\(_{2}\)-2次级线头2、3两脚上的接线烫下,将2、3两脚相联后接栅偏压(图2)。

机器改装后要检查线路有没有接错。试机时要加上负荷或假负荷。用机架上的电流表ИП\(_{2—1}\)进行调整,若发现211屏流过大或过小,表示栅偏压不对,可调整栅偏压到-100伏。 (黑龙江省萝北县广播站 罗森发)
