在1958年大跃进中,为了提高广播质量和线路的利用率,不少地区的广播网均试用了载波传送广播节目。在广播网里使用载波技术设备还是比较新的东西,因此经验不多,都是处在边试验、边利用、边改进的过程中。我们在试用过程中也遇到不少实际问题。例如要接收质量高,保证转播好,接收机的类型和质量就有研究改进的必要。
载波接收机一般要注意以下的几个问题:
1、在接收机输入端,必须很有效地抑制载频以下的频率信号进入机内,避免引起包括振铃火花、电话、和天电干扰等噪声干扰。
2.在检波后必须滤清残存的载频电压,否则会使低频信号的音质差,以及造成线路上的载频回授啸叫现象。
3.要具有高灵敏度。要求在输入载频电压不超过0.1伏时就能正常工作,而且杂音很小。
4.音质要好,特别是高低音都优美,不要太沉闷或失真。
根据上述要求,我们在1959年初就进行把旧式接收机加以改装和作采用新电路的试验,试制成外差式接收机。经过各种试验与比较,以及各站的试用效果来看,初步认为外差式裁波接收机是能兼顾以上四点要求的,实际效果令人满意。
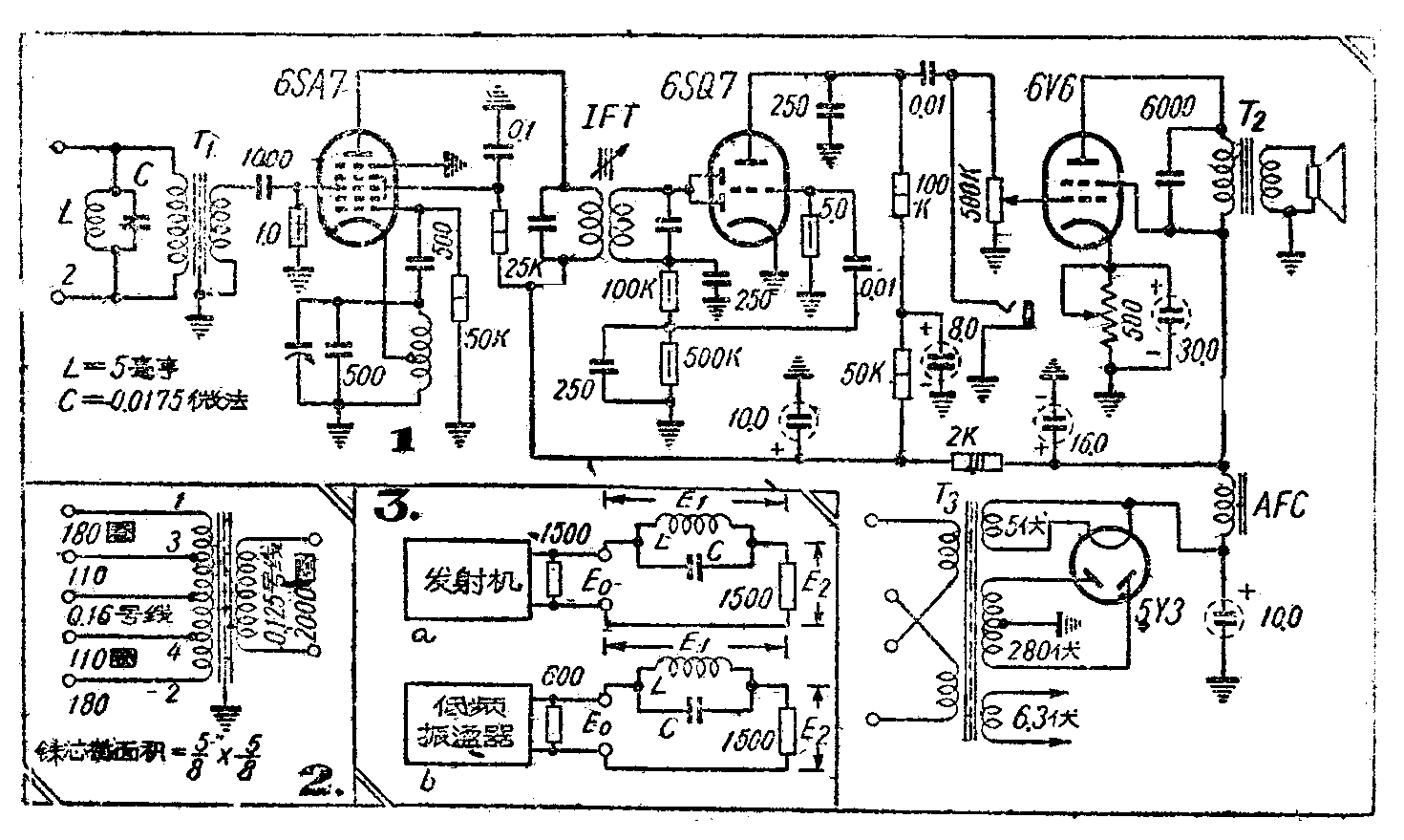
原理与线路结构 外差式载波接收机是根据一般的超外差式广播收音机原理设计的。不同的地方在于输入端的信号频率是17千周,另外是减少了一级中间频率放大。除此之外,它和一般超外差式收音机的结构并无很大差别。它由6SA7、6SQ7、6V6、5Y3等四个电子管组成,电路原理图如图一所示。

电路性能 外差式载波接收机和普通载波接收机的最大区别在于它的第一级是用变频管,而不是用电压放大管。在6SA7管的屏回路是用调谐回路,而不是电阻电容交连的。载频信号经变压器T\(_{1}\)输入6SA7的信号栅,与6SA7的482千周本地振荡频率差拍,变为465千周经中频变压器交连至6SQ7的小屏部份,经过二极检波后由6SQ7管的三极部份作第一低频电压放大,再经电容电阻交连至6V6栅极,经电力放大输至本机的监听喇叭,以备在转播前监听节目的效果。5Y3作全机的电源整流。
把17千周的载频变为465千周才检波的道理是:
1. 中频变压器的带宽一般是±10千周,低频信号不能通过,因此中频变压器实际上起了一个带通滤波器的作用。如果输入端的频率不是17千周的载频,而改为话音输入(50—8000周)时,它和已固定的本地振荡频率差拍出后,不是固定的465千周,而是在481.95千周—474千周的范围内变动。这些频率都不能通过465千周的中频变压器到达下一级,因此选择性就比一般的载波接收机大大改善,对于杂音以及电话的串扰都大大地减轻,音质也相对地提高了,同时接收机输入端的带通滤波器也可以省掉,相对地就把电路简化了。
2.获得比较理想的灵敏度。按照混频级的原理,本地振荡电压一般是高出于外来信号电压1—5倍,如果本地振荡电压调到10—15伏,即外加的信号电压只有0.3—0.5伏就可以正常工作,因此它比普通的载波接收机灵敏度高。
3.音质比普通的接收机好。因为普通的接收机是直接对17千周(或20千周)的载频电压进行检波,同时载频是和音频较高的部份相接近(音频是从50周到15千周),因此经检波后,很难把残存的载频滤去。这样残存的载频经转播机放大后输出到线路里,也会引起线路的回输产生啸叫。如果把检波后的滤波电阻、电容都加大,以达到把残存的载频滤去的话,结果会失去高音,使音质沉闷,而且也带有失真,很不悦耳,采用外差式上述问题却得到解决。
此外,并联在输入变压器初级端的并联谐振回路是谐振于17千周载频周率的,目的在于更进一步把载频以外的频率衰耗,减少它们进入机内的可能。6SQ7屏极输出端并联的插座是供转播使用的。6V6的栅漏电阻用了一只500千欧电位器,这样可以调节本机监听喇叭的音量,但又不影响转播信号。
零件的选择及调整 本机大部份采用一般容易买到的收音机零件和现成材料,尽量减少设计与制造,广播站仿制方便。T\(_{2}\)是普通收音机用6V6输出变压器。AFC是低频扼流圈。T3是4灯或5灯电源变压器。T\(_{1}\)是输入变压器,需要自行绕制,绕法如图二所示。
IFT是磁性瓷芯465千周中频变压器,这种变压器Q值高,带宽±10千周,同时调节的磁芯也比较紧,在搬动时不易因震动而引起频率的变化,我们用的是上海开利厂出品,其他厂同类产品亦可用。
6SA7本地振荡线圈是用收音机的中波振荡线圈,现用中央811S式,并联一只500微微法云母电容器和一只瓷质垫整电容器,校验时调整其容量。
在并联于输入端的谐振回路中,L是用两只2.5毫亨美通高频扼制圈串联代用。C为0.0175微法。这一回路亦可用旧式低通滤波器(L=5.3毫亨,C=0.0165微法)代替。线圈的电感量在指定数值范围内可以变化利用,主要是在校验时调整C的容量,使能达到谐振为准。L.C值可依谐振公式求算如下:
fR(千周)=1592000\(\sqrt{L}\)(微亨)C(微微法)
校验 先按图3a或b的连接,把并联谐振回路校准再装入机内。校验时,在预计电容量范围内增减C的容量,使E\(_{1}\)>E2≈E\(_{0}\)值为最好,这时的C值是已配准于17千周的谐振点。

本地振荡频率的调整,应按图4的接法先测得输入端电压在0.5伏以下,然后调整本地振荡的垫整电容器,观察求得电表的读数最大,同时监听喇叭的音量最大音质也最好。如果垫整电容器调整到最松,电压仍未达到最高值时,应将云母电容改换容量较小的然后再调。如垫整旋到最紧仍未能达到时,则要把云母电容适当加大。但千万不要旋动中频变压器的磁芯。如属旧中频变压器,必须先按调整中频变压器方法调准为465千周后才能使用。

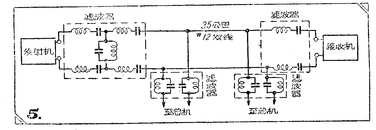
实际使用效果 这种接收机是为了处理原有旧规格的接收机而设计的,所以都以尽量使用原有器材为原则,不宜大改。此外位置也有所限制,所以只把原来6Sj7改为6SA7,未用中频放大级,因此灵敏度和选择性还不算最好,只适宜在40公里范围以内的12号双线铁线上使用。我们曾在35公里范围内实际应用过,如图5的连接法,收听效果比旧式接收机优越很多:①灵敏度高,经实际测量输入端电压0.1伏时,音量已十分满足。把输入电压降为0.08伏亦不觉得有多大差别。下降至0.02伏时,音量显著下降,噪声也严重。一般来说,载频输入电压能够保持在0.05—0.1伏就可以正常工作。这就比旧式接收机的效率提高10倍了。②显著地和有效地克服了载频在线路所引起回输的啸叫声。我们在一对输入与输出线路平行约2公里的线路上试验,用旧式接收机无法进行转播,啸叫声很大。原因是接收机的低频部份,仍残存有17千周的载频,输入转播机放大后,输送至线路上,由于输出与输入线平行,因此串扰到输入线上,经过输入线再送入接收机,故引起回输振荡的啸叫声。改用外差式载波接收机后,则转播很好,而且都无加装带通低通滤波器,只用简单的谐振滤波器。③经检波后的高低音频率响应良好,不像旧式接收机那样沉闷失真。
进一步改善的意见 由于输入变压器是不调谐的,所以仍有轻微话频串入机内,虽听不清内容,却造成噪声干扰,影响接收效果。今后拟将输入变压器按调谐式设计,进一步加强对话音输入机内的衰耗。在仿制这种机器时,最好多加装一级中间频率放大级,更可以多一级滤波作用。输入端的载频电压最好能保持在0.3伏,这对噪音可以大加抑制,使噪音比提高。 (完)(郭平)