在党的领导下,随着社会主义建设的飞跃发展,人民的物质文化生活正在普遍地逐渐提高,人民群众对于收听广播的需要也愈来愈广。适应这样的情况,我国无线电工业生产了各式各样的广播收音机。这些产品在品种、数量和质量上,年年都在增加提高。为了更进一步满足党的宣传教育工作和社会主义建设的需要,为满足人民的物质文化的需要,我们还需要更多的适于普及的简易收听工具。这些普及型的收音机应该结构简单,用料少,成本低,灵敏度和选择性都能满足一定的需要。普及型收音机一般用直放大式,效率受到一定限制。若用直接放大式收音机使用的一般材料另件,装制出质量更好的收音机来,对国家普及广播收听工具的工作是有实用价值的。这样的想法引起作者作了下面介绍的一具简易外差式三管要的试制实验。

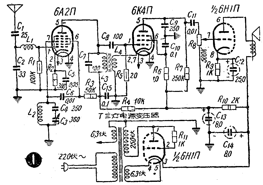
在广播收音机里,目前超外差式电路还是性能比较好的标准电路。但是,这种线路需用的另件部件比较多,因此成本也高。为了能保有超外差式的一些优点,但又简单易制,实验的这只收音机采用只有变频、检波和低放三级的外差式线路(图1)。这样的结构省了一级中频放大,灵敏度不及超外差式高,但在选择性上却比直接放大式机要好得多。另外,线路设计里还有这样一些简化的措施:(1)天线输入部分不使用可调谐的线圈电容回路;(2)变频级利用电子管负阻效应产生振荡的电路代替;(3)不采用465千周的中间频率,将它提高到1.8兆周左右。在天线输入部分里没有调谐线圈和可变电容器,代之以由C\(_{2}\)、R1和L\(_{1}\)组成与天线串联的低通滤波器,这样全机主要调谐的可变电容器可以只用一只单连电容器。由于电容器的阻抗与频率成反比的关系,而线圈的阻抗与频率成正比的关系。在收听中波段播音时,500千周至1600千周的信号输入时,C1的阻抗较大,L\(_{1}\)的阻抗较小,因此信号经L2被收音机接收。在同时输入的较高频率,由于C\(_{2}\)对它们的阻抗减小,而L1的阻抗增加,所以难以通过L\(_{1}\)到达收音机,而很容易经过C2通地。天线回路使用不调谐输入电路,大大简化了收音顶的装制和校验工作,节省了另件材料,但是也引起了新的问题。例如一般超外差式机中间频率是465千周(这是我国用的规定标准),如果接收信号频率为600千周时,象频干扰频率应该是1530千周,在一般超外差式收音机里,因为天线输入部分设有调谐回路,可以把这个和接收信号相差930千周的干扰信号选择剔除,但是在这里这样一个象频干扰信号能够很容易地通过低通滤波器跑到收音机里来。为了防止象频干扰现象,可将中间频率提高到1.8兆周左右(约计数值),这样500千周至1.6兆周中波波段的象频信号频率将在4兆周以上,这样高的信号频率是难以通过输入部分的低通滤波器的。由于采用天线不调谐输入电路和提高中间频率收音机的选择性和灵敏度都会受到影响,补救的方法第一是增加再生装置,在检波级6K4П的阴极回路里串入一个再生线圈L\(_{4}\);其次是尽量提高中频线圈L3的的Q值。经过这样的处理,在这方面的损失得到了适当的补偿。


在实际制作当中,机上所用的线圈没有成品可用,都须自己绕制。L\(_{1}\)是在直径10毫米、长26毫米的圆纸筒上,用0.17毫米径(38号)漆包线分为四段绕成,每段乱绕30圈,每段之间用马粪纸间隔,每段宽4毫米,如图2。L2是在直径17毫米、长30毫米的圆纸筒上,用同径线密绕48圈。绕制L\(_{3}\)先用直径10毫米、长80毫米的磁性瓷棒,棒外套上一支内径比磁棒略粗一点的玻璃管,或在棒上裹上几层牛皮纸,用胶水贴牢。在玻璃管或纸套上距离一端10毫米处,用七股绞合纱包线密绕36圈。没有现成的绞合纱包线,可用直径0.11毫米(42号)漆包线七根仔细的绞合在一起、注意不要碰掉漆皮。L4是再生圈,绕法用0.17毫米径漆包线在一个小纸筒上密绕5圈而成,纸筒的粗细应以能够套入玻璃管或牛皮纸筒上,并能来回滑动而不松脱为度。L\(_{3}\)、L4绕成后如图3。安装时L\(_{1}\)、L2和L\(_{3}\)的位置应该远离,互成直角,以免相互感应。试制时底板上的另件是按图4布置的。检波级的6K4П须加一只隔离罩。调谐电台只须转动单连可变电容器C3来改变本机振荡频率,使它和不同的电台信号频率相差拍混频而达到中间频率。调谐电容器的最大电容量应该是150微微法左右。这样小容量的可变电容器没有成品, 因而用一只最大电容为360微微法的(C\(_{3}\)),再串入一只250微微法的云母固定电容器(C4),效果也很好。线圈L\(_{4}\)在L3上的位置,应在校验试听时调整固定,如靠近L\(_{3}\) 时声音减弱,是L4线头接反了,应将两个接点对调,再调整L\(_{4}\)的位置。在调到声音最大而无啸叫声时,便是L4最合适的位置,可用溶蜡将它固定在这里。
这只简易的外差机因为没有可调谐的天线输入回路和中频放大级,对收听远地电台还不够理想,但是由于中间频率较高,通频带加宽,音质却比较好,结构简单,调整容易是它的特点,所以介绍出来,供作普及型收音机设计中的一点参考。(毅屏)