这里介绍用两只晶体管做成的信号发生器,重仅一百多克,体积大小和图章盒差不多,可以装在一只94×26×26毫米的胶木盒里,适合于一般邮电局电台、广播站、收音机修理部门机务人员出外检修时随身携带供检修收音机、扩大机等用。两只晶体管一只产生500周左右悦耳的音频;另一只产生固定的465千周的中频。音频信号可以单独输出,也可以调制在中频里输出,因此它的用途可以和一般3只电子管的信号发生器相当。
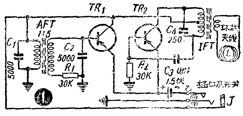
全机电路见图1。晶体管用国产П6或П2型的(也可以改用其它型号的),如果换用N-P-N型的,只要把电池正负极接线对掉。

这架机器的特点是小巧轻便,各项另件如电阻、电容器以及变压器、电池等尽可能选用小型的。底板可用薄胶木板,先在底板上各另件接线处用钻头钻成小孔,放入带孔小形铜铆钉(直径1—1.5毫米),用小锤敲平,再把各另件引线由底板反面穿入相应的铆钉孔,然后照电路把应连的铆钉用导线焊牢(见图2图3)。


焊接时烙铁以30瓦左右为宜,烙铁和另件接触的时间愈短愈好,尤其是焊接晶体管时,一定要用尖咀钳把它的引线钳住再焊。这样可以使烙铁高热从尖咀钳逸散,不致传到晶体管内部而使晶体管损坏。
环状天线L是发射中频用的,使用时只要把信号发生器移近收音机就可以了,线圈的制法可用30号左右的丝包丝绕成直径12毫米空心的线圈,共20圈。绕好后用棉线扎牢以防松脱。
插口是小型的话筒插口,安装前须先小心加工改制,使它除了作为音频输出插口外,还兼做电源开关,加工方法见图4。经加工的插口在插头插入后,电源就自然接通。一方面中频信号从L向外发射,同时由插头把音频信号引出。不过在将音频信号注入收扩音机时,应该注意的是必须在芯线上串联一只0.1微法的电容器。

全机装好后,先试试有没有悦耳的“嗡嗡”的音频信号,如果没有,试将音频变压器一边的两个线头对换。又C\(_{2}\)对音频频率有关,增大时声音低沉,减小时尖锐。
售品晶体管用中频变压器一套三只,任何一只都可用,但第一只输入中频变压器最适用。调整中频时,可以找一架刻度比较精确的收音机,利用两次谐波930千周或三次谐波1395千周来校正。要是收音机的中频就是465千周,那么就更方便了。如果希望更精确一点,最好用标准信号发生器校正。
这具信号发生器还可以利用它的音频信号作为电码练习机。(张心康)