为了更好的把党的声音传播到人民群众中去,为了满足我国社会主义建设的需要,满足广大人民物质文化生活不断提高的需要,加快广播事业的发展,因此除了不断提高收音机的质量以外,还需要很快地在全国各地普及收音机。对收音机的制造工业来讲,这是今后一个很重要的任务。在1959年12月的全国广播接收机观摩评比会上,大家非常重视这个问题,各厂参加评比的普及型收音机也是引起普遍注意的。这里介绍几种有代表性的普及型收音机供大家观摩。
广州牌231型普及式三灯外差式收音机——国营广州无线电厂产品
去年12月在北京举行的1959年全国收音机评比观摩会上,国营广州无线电厂参加评比的广州牌231型收音机,也是一种适合各地农村和城市使用的、配合广播收听工具普及化的型号,在会上引起了普遍的注意。231型收音机具有电路简单,用料省,耗电少,性能实用,使用简便以及维修容易等优点,适合于广大群众收听广播。
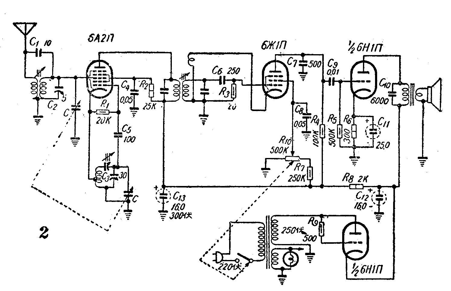
在电路结构上,231型机是外差式中波交流四级广播收音机,只用3只国产小型电子管:6A2П——变频,6Ж1П——再生式栅极检波和音频电压放大,6H1П——一组三极部分作末级放大,另一组三极部分作整流。电路方框图见图1。

在电气性能方面:①收听频率范围:520—1620千周,②中频频率:465千周±5千周,③灵敏度:不劣于300微伏(已达到三级收音机标准),④选择性:偏调±10千周的衰减大于26分贝(已达到三级收音机标准),⑤交流杂声:比额定输出低20分贝以上,不大于0.5毫瓦,⑥通频带:6千周,⑦整机电压失真:200—1000周不大于12%(75毫瓦输出时),⑧整机电压频率特性:200—3000周不均匀度不大于7分贝,⑨电力消耗:22伏安。

这部收音机在设计上有以下特点:
1.电路简单易制,另件节省,而且大部分另件是通用件,便于维护修理。
2.在电路上省去了中频放大级。为了提高灵敏度,采用五极管6Ж1П作栅极检波,并采用电感耦合引入正回授(再生),见电路图2。再生线圈绕在中频变压器次级线圈支架上,两端接在6Ж1П阴极和地之间。这种回授方式的特点是再生线圈圈数可以很少,实际上一圈已经足够,便于制作和调整。

3.用改变检波管帘栅电压的方式来控制音量,控制范围达70分贝,不引起失真。这种控制方式和通常将电位器接在栅极电路里的方式比较,是电位器引起的杂音小(因为有帘栅电容器旁路),因此对电位器质量的要求不高,可以采用比较经济的电位器。
4.用五极管作栅极检波,由于电子管极间电容小,避免了高频自激产生的波幅失真。因此整机高频失真比较小。
5. 用6H1П作强放兼整流,耗电省,而音量已足够供50—60人收听。
6.采用的465千周的中频变压器,是一般市上出售的通用调感式中频变压器,不需要特殊设计制作。
7. 采用的铁粉芯高频线圈,市上也有出售,不需要另行设计绕制。(盛建华)
鹦鹉牌93—A型普及式三灯超外差收音机——天津市无线电器材厂产品
天津市无线电厂是在1958年9月由仅能生产鞋扣鞋眼的五金生产合作社和一个无线电修配社合并组成的。在党的正确领导下,在全国大跃进当中,全体职工,破除了迷信,解放了思想,发挥了敢想敢干的创造精神,不仅能生产普及型的三灯超外差式收音机,而且还生产各种功率的扩音机和中频变压器。
在1959年全国广播接收机观摩评比会上,天津市无线电器材厂参加评比的产品有鹦鹉牌93-A型超外差式三灯收音机。这种收音机是考虑了我国广播事业飞跃发展的条件为配合广播收听工具的普及化而设计的。这种收音机适合广大农村、城市工矿企业职工、公社社员家庭使用,有足够的灵敏度和选择性,不但各个本地电台不致于相互干扰,并且能收听远地电台。在天津市夜晚在天线柱上接一根一米长垂线,可以收到江西、山东、河南、内蒙古、吉林和黑龙江等广播电台的播音。

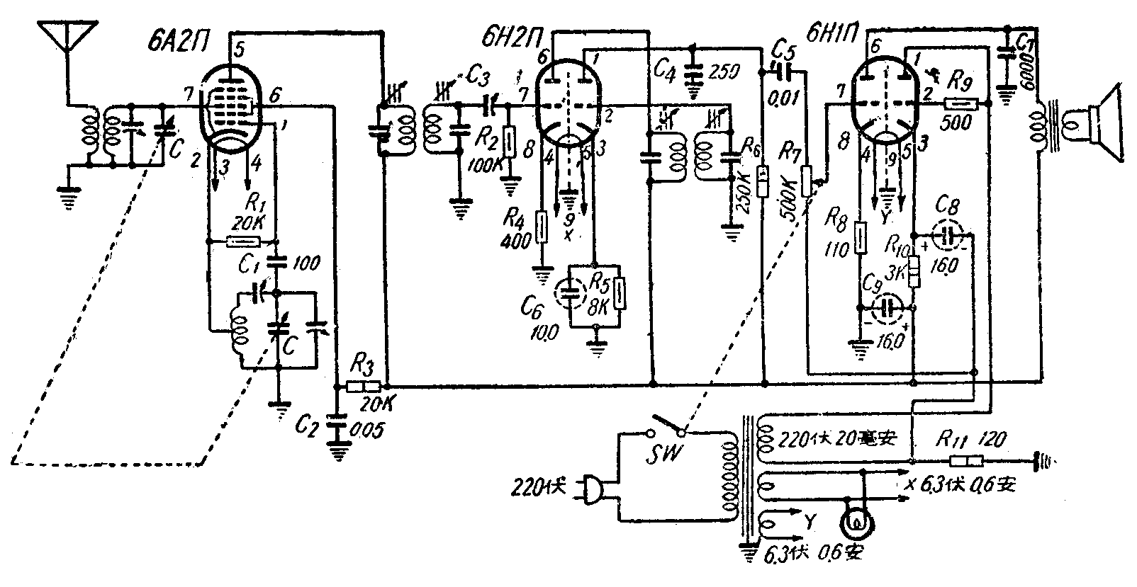
电路结构:93-A型机只用3只电子管:6A2П——变频,1/2 6H2П——中放,1/2 6H2П——屏极检波,1/2 6H1П——音频放大,1/2 6H1П——整流,见方框图。

电气性能:①额定输出功率200毫瓦,②收听频率范围:550—1600千周,③灵敏度:不劣于300—500微伏,④选择性:偏调±10千周时衰减大于17分贝,⑤交流杂声:不劣于-20分贝。
设计特点:
1. 电路比较简单,另件省。
2. 所有另件都是通用件,修配容易。
3. 用三极管作中频放大,在一般收音机里很少采用,原因是三极管容易产生自激。因此在栅路里加接了一只微调电容器和100千欧的栅漏电阻,使工作趋于稳定,增加了中放效率(见电路图)。这是工人们在去年大干红十月当中,以敢想敢干的精神创造的成果,使机器的电气性能比一般三灯收音机提高了一步。

4. 6H1П一管两用,半只作音频放大,另外半只作整流。