1959年第9期“无线电”上,曾经介绍了我们用155—A型收音机改装成收音、收报两用机,对于当时我们地区的防汛通信,起到了一定的作用。
为了响应党提出的增产节约,提高设备利用率的号召,我们继续开动脑筋,挖掘机器潜力,想到在改装成收音、收报机时,曾将原机背后220/110伏电源变换插座的接线拆掉,直接照市电电压改接成220伏,腾出原来的变换插座,接上地线、灯丝线和乙正线作为电源引出插座。因此,再增添些另件,除了原来的收音、收报和电唱,还可以扩音和作会议电话机。改装方法如下:
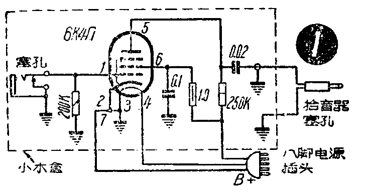
1.扩音机 利用原机引出的电源,加装一只前置放大级(图1),把前置放大级输出交连到原机6SQ7的栅极(拾音器塞孔),音频输出足有4.5瓦。

前置放大级可装在一只小木盒里。接到电源插头各引线的接脚,要和插座的一致,以免高低压电源接错,损坏电子管。
我们改用一只10瓦8欧高音喇叭,在可以容纳一千人左右的大会堂里作报告使用,音质音量都很好。
2.会议电话终端机
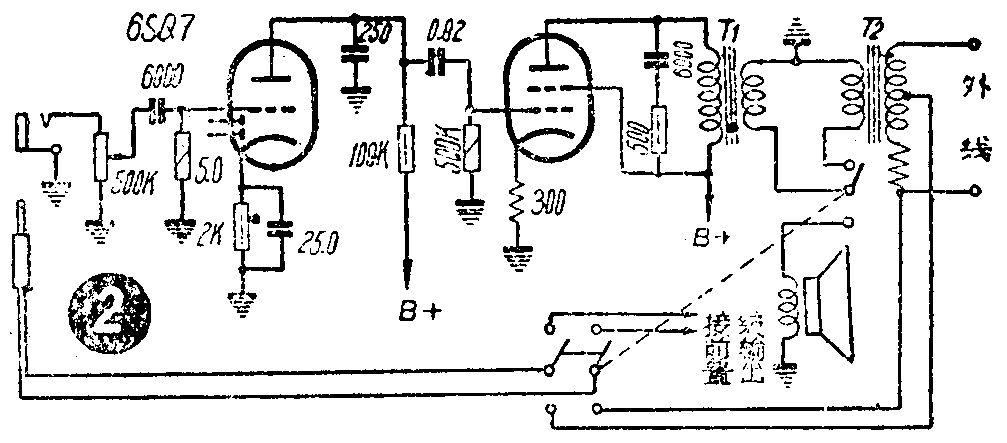
①单向会议电话终端机:电路如图2。发话时话筒插入前置放大级的塞孔,双掷开关(可用波段开关)扳向上,原机输出变压器T\(_{1}\)次级接到6头感应线圈T2的初级,话音向外线输出。收听时,开关扳向下,从外线输入的话音经近T\(_{2}\)再由原机低放部分放大后输出。

②双向会议电话终端机:原机的低放部分作收信放大,另外加装一具简单的发信放大器(图3),电源仍由八脚插座引出。最大输出在外线端测量可达+3分贝左右,已完全可以应付一般长途会议电话的需要。T\(_{1}\)我们是用的6V6输出变压器;T2原来的400欧固定电阻不用,改装一只2千欧可变电阻作平衡调节。改装得好,成绩也不错。

最后,谈一下应该注意的几个问题:
1.原机的电源变压器是为五灯机设计的,多加了一只电子管,负荷较重,可把原机的2只6.3伏指示灯拆去,使用3、5小时,问题不大。
2.前置放大级的放大倍数较大,比较灵敏,必须作很好的屏蔽。
3.电源滤波部分,特别是前置级的退交连电路很重要,要装得好,否则发送输出有一些交流声。(南县邮电局 耿荣生)