用收音机改装成的传阅电话机,虽然不是正规的会议电话设备,但由于这种方法既简单又方便,还是一种配合正规设备便利各地人民公社、工矿企业等党委指挥工作,开电话会议的一种可用的工具,这里介绍一些用常用的收音机改装成会议电话机的经验。
把收音机改装成会议电话机,一般都是从检波级后的音频部分改起的。例如用长江牌收音机的音频部分,改装法如图1。

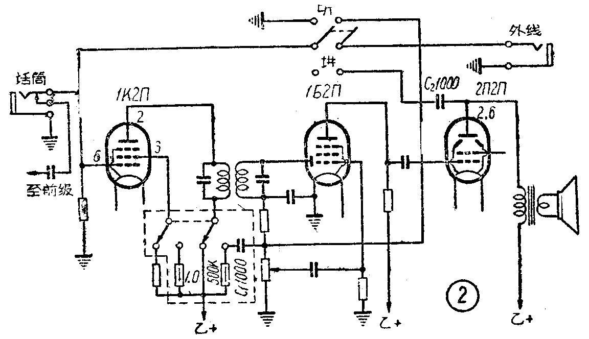
经过这样改装的会议电话机,最好用电话机向外发话。如果用其它型式的话筒,因为只有一级电压放大级(1Б2П),功率放大管2П2П的输入信号比较小,输出功率就感到不足,对方听起来,声音太小。另外,原改装的电路也有缺点,因为话筒插口固定在音量控制器两端,收听时,扬声器发出的声音容易对话筒产生回授,引起啸叫;如果使用晶体话筒,在收音时,又往往因输入信号太强,而使晶体破裂失效。以后按照图1虚线所表示的改接,把话筒塞孔和机壳绝缘(×处切断),用听、讲开关来控制,可以获得满意的效果。
把塞孔和机壳绝缘并不困难,只要把机壳上的安装孔稍微扩大,用自行车内胎剪成两个适当大小的垫片,分置在机壳安装孔的里外两侧,穿入塞孔,用螺帽拧紧就行。
如果要用一般话筒发话,可以利用第二中放管作为前级电压放大,音量有显著增加。改装方法是把话筒塞孔改接到第二中放管1K2П的输入回路,并把1K2П的屏极和帘栅回路用开关控制,见图2虚线方框内所示。这样,收音时原来电路不变,作会议电话机时,屏极和帘栅电路分别经两只炭质电阻接到乙电源,同时音频输出由员容器C\(_{1}\)交连到下一级。


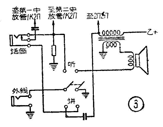
一般用451型收音机改装的会议电话机,电路如图3。451型收音机各有扩音用塞孔,只要加装一只双刀双掷开关,并且把扬声器塞孔改成外线塞孔就行。

这样改装的会议电话机,也有一个缺点,就是输入信号稍强,容易引起过荷,使收听声音失真,不够清楚。尤其当发话局加入汇接放大器以后,这种现象更是严重。若改成图4电路,发话用三级放大,受话用两级放大,情形大为改善。经过这样改进以后的电路,使用单位普遍反映良好。(姚呜瑜)