当前农村有线广播事业的发展任务是要积极地建立人民公社广播网,尽快地把公社广播站建立起来,并逐步争取提高广播质量,走向正规。这是一件光荣而又重大的任务。公社建站关键在于解决电源问题。在电源问题还不可能彻底解决以前,应该鼓足干劲,力争上游,充分贯彻大、中、小并举、土、洋结合“两条腿走路”的建网方针,先把公社广播站办起来,不能消极等待。因此,根据农村具体情况,采用干电收扩音机建立公社站也是一个过渡的办法。具体办法是把农村现有长期放置没有使用的干电收音机,集中县广播站进行检修并改装成收扩音机,既解决了当前公社建站的需要,又挖掘了原有设备的潜力,为社会主义建设事业服务,是完全符合多快好省的原则的。
改装后的机器,既可以收音、转播和扩音,又可以开广播大会或电话会议;在双线线路上,可以用幻线同时开放广播,不致影响电话通话;既可以建固定广播站,又可以建流动广播站;不仅适合农村使用,同样适合于大城市街道工作的宣传鼓动用。可以说是小机器办大事情,是花钱少,改装快、操作简便,携带方便,受到了地方党政领导和群众的热烈欢迎。现在把机器结构和有关改装方法介绍如下,以供参考。
机器结构和改装方法
我省使用的几种电路,大致可分以下两类:
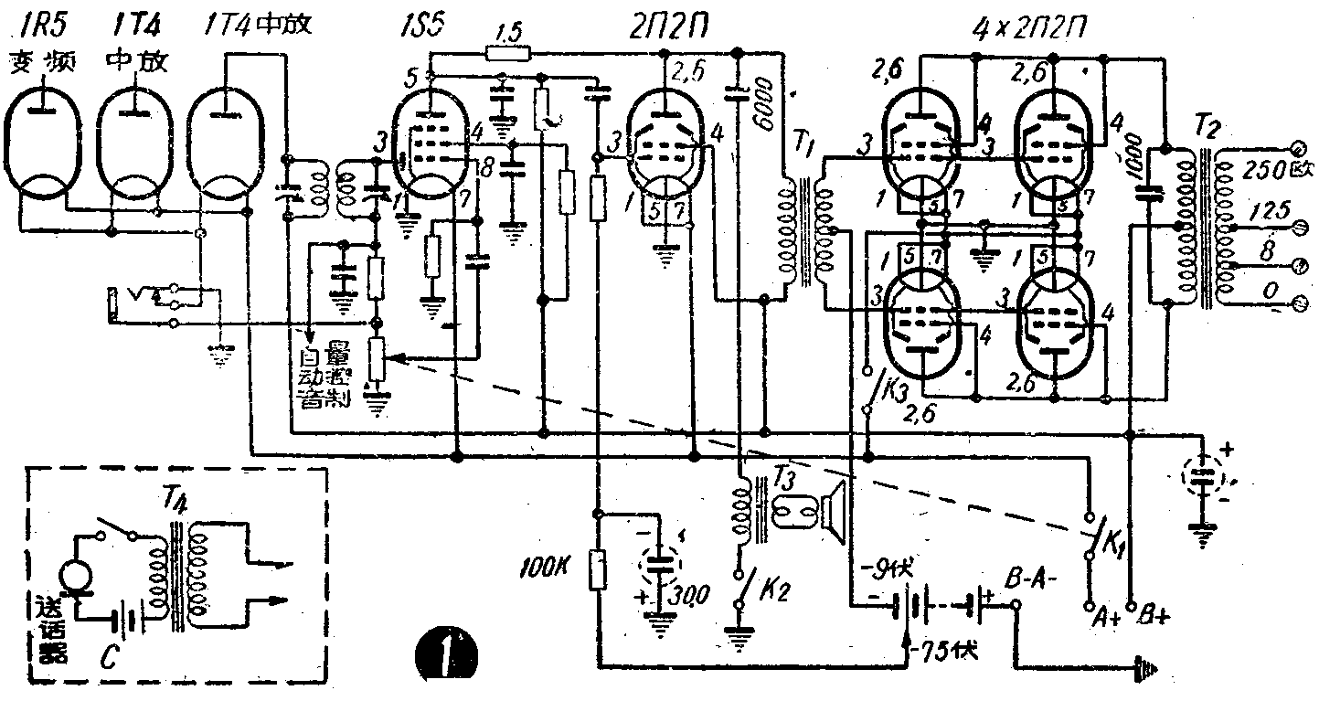
1.简单干电收扩音机 这类机器主要作现场宣传鼓动用,改装简单,改装费用便宜。可以收音、放送唱片和讲话,也可以转播。电路见图1。

讲话用电话送话器(炭粒话筒),把送话器、电话感应线圈T\(_{4}\)和送话器电池C组成一体代替普通话筒。送话器的优点是灵敏度高,可与唱片合用一个塞孔,直接从检波级输入。输出可带一个或两个25瓦高音喇叭,声音洪亮。在讲话或播送唱片时,收音机应停止工作,这里是把变频管和中放管的灯丝回路,就是原机管座通地的第1或第5脚接线断开,改由塞孔接点通地。当讲话塞子插进塞孔讲话时,收音部分停止工作;塞子找出以后,收音电子管灯丝回路接通,就可以收听广播,操作非常简便。改装时注意塞孔和机壳必须绝缘,就是把机壳上的塞孔洞开大一些,塞孔上套上绝缘套管,拧上塞孔时,机板塞孔洞两边要垫上绝缘垫片(胶木片、橡皮或绝缘纸都可以),防止漏电。原机输出变压器T3初级串联一只6000微微法电容器和开关K\(_{2}\),接到2П2П(推动管)屏极和地线,喇叭作监听。讲话时,断开K2,以免喇叭回授引起啸叫。
增加的强放级用4只2П2П连成三极管作并联推挽乙类放大,输出功率2.5瓦。少数人收听时,用K\(_{3}\)切断强放级灯丝电源,改由监听喇叭收听,节约用电。变压器规格如下:
①输入变压器T\(_{1}\):铁芯截面积1.9×1.9平方厘米,初级用0.13毫米漆包线绕1800圈;次级用0.19毫米漆包线绕1800圈,分两段绕,中心抽头。铁芯单向镶插,空气隙0.1毫米。
②输出变压器T\(_{2}\):铁芯截面积1.9×1.9平方厘米,初级用0.13毫米漆包线绕3000圈,中心抽头,分两段绕;次级用0.19毫米漆包线共绕720圈(250欧),在500圈(125欧)和126圈(8欧)处抽头;0——8欧用0.65毫米漆包线绕。铁片单向镶插,空气隙0.225毫米。

原收音机底板地位一般都很挤,增加的放大级要单独装在一个底板上,底板尺寸和另件排列可参考图2。长江牌125型和匈牙利干电收音机机箱都很大,可以把装好以后的放大级固定在机箱内。其它型号的收音机机壳比较小,可以设计装在电池箱里。放大级单独装制的优点是:①保持原收音机的完整;②另件排列不受地位限制,可以排列得整齐;③检修测试都方便;④适宜大批改装。
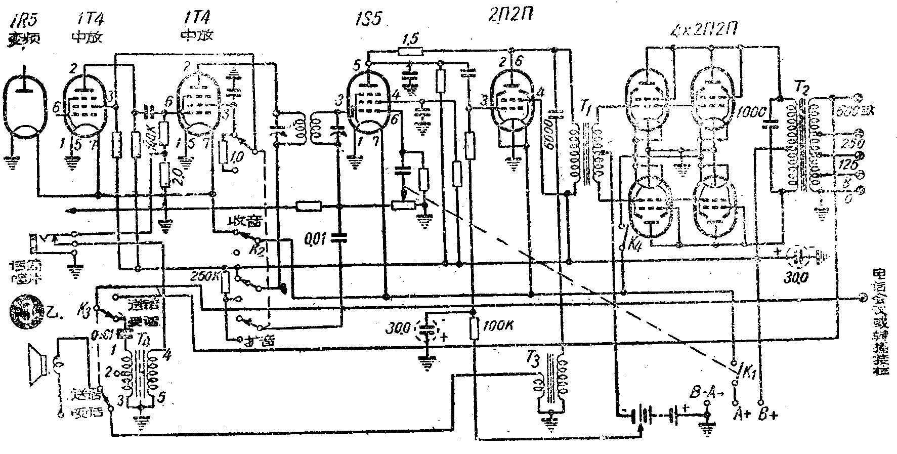
2.复用干电收音机电路见图3甲、乙,可以收音、讲话、放送唱片、转播、大会扩音、开电话会议和远距离录音。图3甲讲话用送话器,经济简单,另件也容易购买。图3乙讲话用一般话筒,音质比较好,但T\(_{4}\)需要另外绕制。图3的推动级、强放级和图1相同,但输出变压器T2比图1增加一档600欧线圈(用0.19毫米漆包线加绕363圈)。图3甲感应线圈T\(_{4}\)装在收音机底板上,送话器和电子管灯丝合用甲电源。收音时K3扳向“受话”,K\(_{2}\)扳向“收音”,监听喇叭里就可听到广播。广播时,K3扳向“送话”,K\(_{2}\)扳向“扩音”,送话器塞子插进讲话塞孔,就能扩音。转播、放送唱片时,K2扳向“扩音”,塞子插入“转播、唱片”塞孔就行。开电话会议时,K\(_{2}\)扳向“扩音”,电话线接在“电话会议”接线柱和T2“○”接线柱上。如向外送话,K\(_{3}\)扳向“送话”,插上送话器讲话,对方就能听到;如听取对方讲话,K3扳向“受话”,喇叭里就可以听到对方讲话的声音。远距离录音时,把机器带到现场,在现场将声音放大以后,通过电话线送到广播站录音。由于机器输出功率比较大,信号杂音比大大提高,可以得到良好的录音效果。改装时注意讲话塞孔和机壳是绝缘的,处理办法和图1相同。


图3乙用动圈话筒,音质好,适合建站使用。利用中放管作前置放大级,收音机上的喇叭可以作监听,也可以作话筒使用。
变压器T\(_{4}\)的绕制是:铁芯截面积1.5×1.5平方厘米,次级用0.1—0.13毫米漆包线绕2500圈,初级2—3用0.65毫米漆包线绕52圈,1—2用0.1—0.13毫米漆包线绕785圈。T4也可以用3Q5或3S4输出变压器代替,但需要用0.1—0.13毫米漆包线加绕750圈。
改装时注意事项
1.管脚接线,特别是栅极接线越短越好,防止产生振荡。
2.装机中的焊接工作很重要,接头处焊接要牢固,不可冷焊。要焊得牢,必须先把焊接另件的引线刮干净,焊剂可用松香,尽量不用焊油。
3.小型管管座接线片间间隙很小,焊接时焊锡不宜过多,以防碰极而烧毁电子管。另件排列也应当做到整齐美观,更不要把另件遮盖管座,以便于检修测试。
4.每个另件两端要固定住,不可悬空钩挂。
5.改装旧收音机时,电解电容器因放存时间过久,往往失效,改装前要先用电表检查。
6.改装完毕以后,必须对照线路图仔细检查一遍,看有没有错接或漏接的地方,直到检查完全没有接错,接上电池。用小电珠接在管座灯丝脚上,看小电珠发光正常,才可以插入电子管试验。
7.和底板绝缘的塞孔,要用电表测量绝缘情况(用三用表欧姆档测量时,指针应指在无限大)。
8.变换开关,要求接触紧密,扳动灵活,最好用大型的两波段开关,并且配一只比较大的旋钮。
9.电池要装在特制的电池箱里(自行设计),连接最好用插头、插座,不能用普通的香蕉插头或用线一根一根地连接,以免稍有不慎,就可能插错或接错而烧毁电子管。(下期续完)(湖北新闻广播事业管理局·彬·)