这里介绍一具适合农村和工地用的低压省电不用天线的两管机。这种收音机因使用电压低,用电省,非常适合于农村中一些无电力地区用作辅助收听广播的工具,尤其因为重量轻并且可以不用天线随身携带,对一些在野外工地上或工作性质流动的生产单位的人员收听本地电台的时事、政策学习节目、气象报告或文娱节目等是很适合的。它是用两只国产小型管制成的低压再生式机,用一只1A2П和一只2П2П,都接成三极分作检波和低频放大。

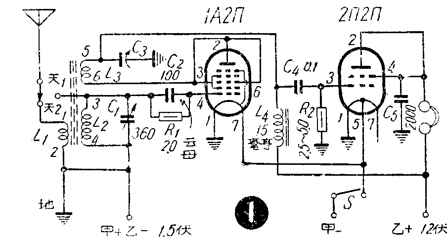
这只收音机设计要求不须加接天地线可在行动中收音,而且选择性好,所以电路结构力求简单,整机体积尽量缩小,装成后线路如图1。收音机的特点是:(1)在再生检波级的调谐回路里采用了磁性瓷棒绕制线圈,栅极线圈用多股绞合线绕制。(2)1A2П接成三极管使用,这样不但简化了电路,而且再生力强,工作比较稳定,控制也很平滑。(3)检波级里没有采用一般低压机把第1栅极接在正电位上以消除电子管空间电荷的接法,乙电只用12伏便能很好地工作,而且乙电消耗小,音质也较好。(4)检波和低放两级之间的交连采用电感电容(L\(_{4}\)、C4)交连法,这样使用扼流圈对音频电流的阻抗比较使用一只10-20K的电阻大得多,但直流阻抗却很小,因而检波管屏极获得的电压比较高,使检波管的输出比较大,所以比一般电阻电容交连要好一些。(5)2П2П的灯丝用了一半,节省了甲电消耗,但音量没有显著的降低。

具体制作 这只收音机连同甲乙电池是装在一只160×110×50毫米的木质小盒里。甲电用两节手电筒电池并联,乙电池是拆自商品叠层电池的一部分。木盒上钉有皮带,可以携带挂在身上。盒内电子管和另件的安排如图2。线圈绕在一根直径10毫米、长170毫米的M\(_{4}\)磁性瓷棒上。L2用24股0.125径漆包绞合线在磁棒中部密绕40圈,线圈两端各距磁棒两端的距离相等,这样接收频率高和频率低的电台音量才能均匀。绞合线是用2米长0.125直径漆包线(40号)24根合捻而成。捻成后约为0.8毫米粗。为了减少磁漏,提高灵敏度,要将绞合线直接绕在磁棒上,或最多垫上一层极薄的蜡纸。绕时一次绕紧,避免磨破漆皮。为使L\(_{2}\)线圈绕在磁棒正中部分,绕时线圈两端可以多绕几圈,待绕完后再根据两端距离适当下减,然后用溶化蜂蜡封固。焊接时要把24股线头逐一去漆上锡焊在一起,保证线圈发挥最高的效用。L3用同径单股线按同一方向在能套入磁棒上左右移动的纸管上绕30圈。L\(_{1}\)用单股胶质细焊接线在磁棒另一端密绕10圈。低频扼制圈L4是用旧的6V6输出变压器改制的,铁心截面积为13×13毫米,利用原变压器上的纸线圈框,用0.10毫米径(40至43号)漆包线平绕9000至10000圈,各层中间不必垫纸。绕成后在溶蜡中浸煮30分钟。线圈直流电阻应为700至90O欧,电感量约为15亨。机内另件排列要求不严,只要注意接线短直就可以了。

调整使用 在距离广播电台不很远的地区,可以完全不用天地线,将C\(_{3}\)旋出1/2,将L3向L\(_{2}\)靠紧,这时收音机便会进入振荡状态,调节C2收听一个电台播音(实际上是啸叫声),将L\(_{3}\)向与L2远离的方向移动,至啸声停止,再微调C\(_{1}\)和C3,使声音最清楚最响亮。如调节C\(_{3}\)不能控制再生力太强或太弱,可以再拨动一下L3与L\(_{2}\)的距离,到再生可以平滑调节为度。L1可以绕成可移动的,以求得最大灵敏度,但与L\(_{2}\)的距离不可小过10毫米,否则将使选择性降低。这样使用磁性瓷棒的线圈,在不加接天线时,方向性很强。调谐电台时应将收音机在线圈成水平的位置上向左、右旋转,使得声音最响,这时的灵敏度最高而杂音电平最低。在距离电台远的地方,可在A1处接上一根1至1.5米长的鞭状天线,夜间可以收到远处的播音。用更长的天线应该加接在A\(_{2}\)上。全机耗电极省,甲电流为55毫安,乙电流为265微安。经实验甲电电压低到0.75伏,乙电降至6伏还能工作,但须将L3与L\(_{2}\)间的距离适当调整。(刘放 常啸)
