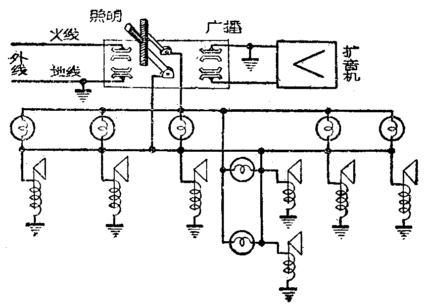
问:我们想利用电灯线装有线广播,未知怎样利用?
答:利用电灯线装有线广播是可以的,但必须在入厂总电源线中自己装用一个总变压器,使两根电灯线都不接地,然后照图1那样安装,图中的电容器C可用0.1左右的,耐压要在600伏以上,其余每个喇叭处的电容器可用0.01-0.05微法左右的,耐压也要600伏以上的。


若不需要照明与广播同时进行的话,为安全起见还是采用图2的方案好,装起来也较方便。在总电源进线处装一个双刀双掷闸,在广播时倒向广播侧,这时利用电灯线的一条线作单线传输;当倒向照明侧时电灯亮,但由于接喇叭的一条线却好是电灯线的地线,故喇叭上没有电压,不会被烧坏。
为保险起见,在闸刀接电灯线地线那一刀最好加宽一些,使倒向照明侧时此时比火线侧先接上。否则若先接上火线后接上地线时,火线上的高压电流会通过电灯泡、经喇叭而入地成回路而烧坏喇叭的。
此方案应注意的是外线的地线和扩音机的地线一定要如图中那样接,不能接反,否则不是烧坏喇叭就是使喇叭不响。
问:50瓦扩音机一部,输出是125欧和50欧,现拟在500米处增设喇叭,如果利用电话线及大地做导线是否可以?若利用监听喇叭选择电台节目时,将外部所有喇叭关闭应如何加匹配电阻?
答:扩音机的输出输送至较远距离时,以用高阻抗较为适宜,以免线路捐失过大。如用125欧输出端输送500米,在导线电阻较小的情况下尚可工作。但最好另敷设专用导线而不利用电话线,因为电话线一般说电阻都较大而且绝缘情况也不很好。外部喇叭关闭时应加配125欧、50瓦的线绕电阻,以防输出端空载,烧毁输出变压器。但在转换过程中仍可能有瞬时的空载情况,此时如音频电压很高,仍能造成损害。最好在扩音机内部音频输入的适当部分加设转换开关。
问:50瓦扩音机的整流器是由2×5U4G供给,现在损坏一只,只有一只工作,这样是否损坏机器?可用什么电子管代替?
答:2×5U4G的整流管的接法大都是以双屏并联然后再做全波整流。现有一只损坏,则实际上只有一支5U4G作双屏并联的半波整流,扩音机的直流高压输出要降低很多,且全部高压电流的负载都加到这只电子管上,形成过荷,日久可能烧坏。5U4G可用苏式5Ц4C代替,更换管座后可用5Z3代替。
问:经常把仪表固定在扩音机上测量输出电压或电源电压是否有损仪表?
答:要看仪表本身的结构是否能承受得住长时间的工作来确定。如果电表内的倍率器和养化铜整流器(这是测量输出电压或电源电压的仪表中所必须具备的)能够长时间工作而不发热变质,那么是可以这样做的。
问:有线广播的前级电压放大和功率级用较长的单心隔离线连接,从前级输出端测量没有交流声,但接到功率级后,从功率放大输出端收听就有很大的交流声。不知何故?
答:如果将前级放大直接用短隔离线连接后可将交流声避免时,可考虑:1.隔离线隔离作用不良或没有全部隔离的;2.电压放大级输出端和功率放大级输入端都是高阻抗,在连线过长时交流声也很难避免,可改用低阻抗配合。
问:有一个氖珠并联在扩音机输出变压器的次级上作输出指示用。该机说明书上说:如氛珠发亮时则表示该机已过负载或输出断线。但我们所接的扬声器只为小功率的舌簧喇叭,为什么稍开音量施钮氛珠即发光呢?
答:该氖球是在负载不足、负载不合规定或没有负载时才发光的,用来保护输出变压器。因为次级两端的电压只有在上述情况下才可能升高到氖珠的启动电压。说明书可能系笔误。
问:扩音机的输出功率是指什么来说的?
答:扩音机的输出功率是指400周的音频在负载(扩音机上是扬声器)上所产生的电功率而言。
问:扩音机上电源滤波部分的泄放电阻取去也能照样工作,不知何故?
答:泄放电阻的作用是在滤波器的负载较小的时候泄去一些电流,作为稳压之用。取去之后,只使输出电压稍为高一些,对于外面的工作部分没有很大妨碍。
问:自制外差机在收听本地电台时象频干扰较严重,一个电台在两个刻度上出现,如何解决?
答:这是混频输入级线圈的选择性不佳或混频级与振荡级没有很好的调整到同步所引起的。应该用重新调整、设法提高该线圈的Q值以及减少天线线圈或减短天线等方法来解决。
问:二极电子管在屏极未加乙正电源时,为什么还会产生屏流?(如图1)

答:因为屏极接到甲电池的正端,比灯丝上的平均电位为正,所以屏极可以吸收电子形成屏流。就是带阴极的二极管在未接屏压时,因为从阴极放射出的电子,以高速向四处飞散,它也会碰撞到屏极上形成微量的屏流,如图2。只有当屏极电压较灯丝或阴极为负时,才没有屏流产生。
问:用6SJ7来代替6SK7作中放管应如何改装?
答:6SJ7系锐截止五极管,当栅极负压增大时,屏流将很快的截止;不能在较宽广的范围内控制屏流大小,改变其放大量,因此当自动增益控制的负压输出过大时,中放管将停止工作,所以不适于代替6SK7作有自动增益控制的中放管。如果中放管不设有自动增益控制线路,则 6SJ7可直接代替 6SK7,线路上不必变动。
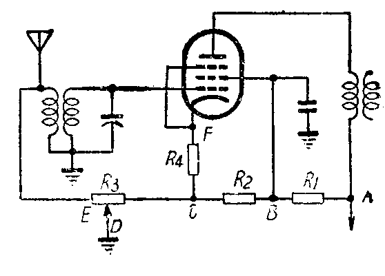
问:一架四灯收音机的高放线路如图,对各电阻接法的作用原理不明,请解释。

答:R\(_{1}\)、R2和R\(_{3}\)的CD段组成一个乙电的会压器,A点为正端,D点为负端。B点取得较屏极为低的正电压来供给帘栅极。C点较地为正,因此可使58管栅极获得一个负压,它的大小可调整R3来决定以控制音量。
R\(_{4}\)是58管的自给编压电阻,它利用58管的屏流和帘栅流产生一个F点为正、C点为负的电压并与C、D两点的电压串联起来,以防止当R3的D点转至C点时,栅负压不足引起屏流过大。
因为58管是遥截止五极管,所以将E点接到天线端,当D点逐渐转至E点时可使天线逐渐短路到地。来增强控制音量的效果。
问:自制电源变压器一只,次级空载,初级只接220伏电源,变压器热度还很高。何故?
答:可能是:1.铁心质量不好;2.每伏的设计圈数过少;3.内部线圈有短路现象。
问:自制一架再生机用电位器在电压放大管的栅极上控制音量,发现一个反常现象,照理电位器旋向近地端声音要减小,但是在这机上转向这一端时声音反而加大并且再旋就有再生叫声;如果在这点用再生电容器调好再生,电位器往回转时声音反而小了,请说明它的原因和改善的方法。

答:这是检波后的残余高频电流流入电压放大管栅极回路的缘故。这些高频电流本应如图箭头1经过再生圈作为引起再生回授用的,由于V\(_{1}\)屏回路没有接扼流圈,所以也有一部分高频电流沿箭头2窜入CR回路,如果R旋向近地端,由于R的电阻很大,高频被傍路的作用不大,大部分经由再生圈这一路,加强了再生力,使得声音加大甚至引起振荡;但是R旋向上端时,高频电流在V2有栅流时,就向地傍路,使再生圈的回授能力减弱,音量也就下降了。在V\(_{1}\)屏极和C之间串入一个10毫亨的高频扼流圈就可避免这种现象,使音量控制的作用正常。(以上由沈成衡、郑宽君、冯报本、冯炜然答)