党中央提出:要尽快地实现我国农业的技术改造,使农业实现机械化、水利化、化学化和电气化。要求工业以强大的现代技术武装农业。现在广大农村千千万万的农民群众正在积极响应党的号召,轰轰烈烈地大兴农田水利建设。广大的广播网工作者也都满怀热情奔赴农田水利建设的前线,为满足农民群众的政治、经济、文化生活的需要而积极工作。
我省在1958年曾用远距离供电的方法,解决了田间广播用扩音机的电源问题,把广播节目直接带到田间,大大鼓舞了农民群众的干劲,对当时的农业增产起了促进的作用。最近有些县为了充分发动群众,大搞农田水利建设,要求播音时间长些,但又不能妨碍电话通信。因此,我们研究在过去所装的扩音机上加装载波接收部分,用载波传送广播。这样,通话和广播同时进行时的串音干扰问题就解决了。
这个方法,适用于双线电话线路:双线传进电话和广播,幻线传送直流高压。
下面就是载波接收和放大部分的介绍。
这部机器的电源,包括灯丝电源,都由送端远距离送电供给的。机内放大部分的输入端装有话筒插口,因此可以当载波接收机,也可以当扩音机使用,对一些没有电源而亟需建立小型广播站的地方,非常合适。
全机的电力消耗,加接负荷后(开机后)输入端直流电压为300伏。无信号输入时电流为320毫安,最大值为380毫安。最大输出功率32瓦,不失真输出28。
由外线输入的载波信号电压、话音电压和直流高压在输入端分路(见线路图1),载波信号经串联谐振滤波器L\(_{1}\)、C1加到T\(_{1}\)初级,输入12SA7完成变频和放大;话音和直流高压都经过并联谐振滤波器C2、L\(_{2}\)和C3、L\(_{3}\)后分路。和灯丝串联的60瓦220伏灯泡在这里当作降压电阻,由于灯泡钨丝的电阻冷热时变化极大,还起到保护电子管的作用,使电子管的灯丝不会因外线电压升高而烧毁。

有关电路的几点说明
1.12SA7的作用是把接收到的载波和本地振荡频率差拍,使原来20千周的载波频率提高到中波广播波段的频率范围内(550千周-1600千周),并且对接收的信号进行放大。为什么要把载波频率提高到广播波段内呢?这是因为曾经作过这样的试验:利用收音机代替载波接收机接收载波信号,在效果上比载波接收机好,同时还可以不用带通、低通滤波器。采用这种设计,一般说来具有以下几个优点:
①加强接收选择性和减少外界杂音干扰。因为12SQ7的输入回路是个调谐回路(最好是双调谐),它只允许广播波段内的某一个频率通过,而其它较低频率,如音频和干扰杂音等不容易通过,如果决定12SA7差拍出来的频率在1000千周-1600千周的频段内,则杂音干扰程度更轻。
②由于12SA7管的本地振荡频率比输入的信号频率高出很多,如果信号频率不够稳定,对12SA7管差拍后的频率影响不大。
③输入的载波电压不必很高,一般在0.1伏以上就够了,比普通载波接收机灵敏度高。
2.12SQ7管的二极部分作检波,三极部分作第一低放,以提供给12SJ7足够的推动电压。
3.12SA7管接成三极管运用,屏负荷电阻7700欧,屏极直流电压用300伏,栅负压用10伏,最大输出电力有0.6瓦,足够推动四只50L6管(如有12J5管更好)。
4.4×50L6管作甲乙类并联推挽,屏极直流电压300伏,栅负压12伏,栅极推动电压(栅至栅)最大要求28伏,最少24伏。
5.本地振荡线圈L\(_{6}\)是收音机用中波段振荡线圈(频率1015千周-2115千周),屏极线圈L5是收音机用的中波段的天线线圈,C\(_{6}\)、C10都是半调整补偿电容器,容量250微微法。
6.串联谐振滤波器L\(_{1}\)、C1谐振在20千周,它的作用是使20千周的载波信号顺利通过,而对10千周以下电压大大衰减,不让话音窜入T\(_{1}\)。这组滤波器在4000周时的阻抗达10000欧,所以把机器并联在线路上,不会影响电话的通话。
7.C\(_{4}\)、L4是20千周的并联谐振滤波器,用来进一步消除漏入T\(_{1}\)的干扰信号。
8.C\(_{2}\)、L2和C\(_{3}\)、L4也是20千周的并联谐振滤波器,是用来阻塞20千周的载波信号通过。L\(_{2}\)、L3因有380毫安直流电流通过,用线要粗。
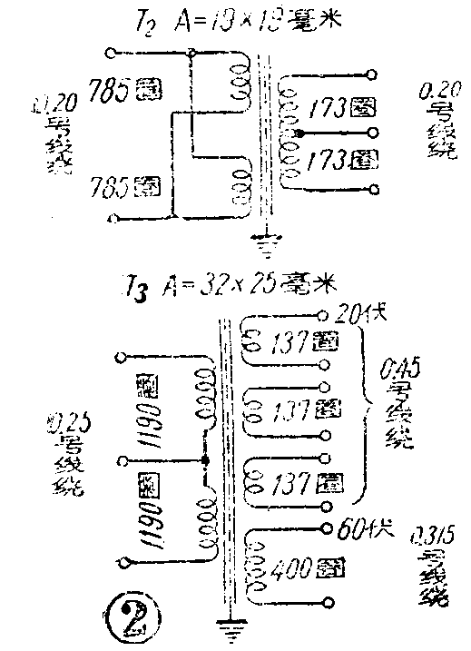
9.变压器的绕法见图2。

校验
1.滤波器 滤波器的L、C值要求不很严格,主要能够和指定的频率谐振,因此即使L值有点上下,可以在校验时增减C值来达到谐振。C\(_{1}\)、L1的校验方法如图3,调整C值使E\(_{1}\)远小于E2(使E\(_{2}\)接近于E0),这时C、L已经和指定的频率谐振,效果最好。并联滤波器的校验方法相同,只要把图3C、L取消,代入并联后的C、L,调整C值使E\(_{1}\)最大(使E1接近于E\(_{0}\)),E2最小。

2.L\(_{5}\)、L6的调整 本地报荡频率要求很严格,否则就失去了机器的优越性了。校验可根据图4进行,但必须先把输入的载波频率固定为20千周,或用低频报荡器产生一个20千周的信号代压。

按照图4所示,如果预定差拍出来的频率为1400千周,则本地振荡为1420千周。先将收音机调到140O千周处,同时观察电子管电压表V的指数,调整C\(_{1}\)的容量,使收音机发出的声音最响和电表读数最大,继续再调整C2,使音量进一步提高。调好后,将AE两端接回原机,从新微调一次,使声音最好为止。为了便于调整,初调时C\(_{1}\)可用可变电容器,调好后改回适当容量的固定电容器和补偿电容器,以后要使振荡频率在小范围内变动时,可以调整补偿电容器。
使用上的注意事项
1.利用幻线传送直流高压,T\(_{4}\)两端(话机)与地之间有300伏直流电压,要求馈线和话机对地绝缘好,在使用话机时也应注意,以免电击。
2.选用的差频不要和当地电台的频率接近,否则容易引起干扰。
3.选用的差频越高越好,在1000-1600千周的波段内,被外界杂音干扰的程度较轻。
4.本地报荡电压最低要比输入信号电压高5- 10倍,否则会引起失真和不够稳定。(广东省广播局郭平)