河北省邮电科学研究院的研究工作面向农村,为人民公社的通信需要服务。为了便于人民公社和各生产队之同的通信联系,特以徐水县作为试点,研究试制成一种轻便省电的直流收发信双工无线电话机。该院无线电研究组的全体同志,在试制过程中,发挥了革命干劲,从研究设计、筹料、试验一直到定型投入生产,总共花了不到一个月的时间。这种机器的有效通话距离达十公里以上。制成后曾在天津西郊和南郊分别架设了简易的倾斜式天线做了试验,效果良好。准备供给徐水人民公社白洋淀湖沼区使用。其他湖沼地区的渔业生产队以及不便架设有线通信或需要经常移动的单位和各个农田水利工地,作近距离通信时,也可以采用。现在把它介绍出来,供读者参考或者进一步改进,更好地为人民公社生产建设的通信需要服务。
线路说明

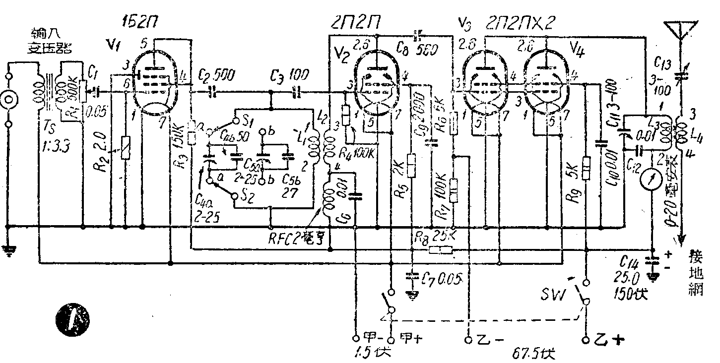
①发信机工作原理:如图1所示,话音由送话器输入经过T\(_{s}\)之交连升压后,通过电位器R1再经C\(_{1}\)传至V1栅级,V\(_{1}\)是话音放大兼栅级调幅管。放大后的音频电流经C2交连至V\(_{2}\)级主振槽路进行栅级调制。V2管是采用屏栅回授式振荡电路,槽路内有开关S\(_{1}\)和S2。用来改变电容大小以达到变换两种不同频率的目的(频率范围2—3兆周)。话音经V\(_{2}\)调幅以后功率尚嫌不足,再经C8交连至并联的末级功率输出管V\(_{3}\)、V4、进行功率放大。最后通过L\(_{4}\)至天线发射出去(发信机的安装见图6)。在图1中C11、C\(_{13}\)的相互配合调整,对功率输出正常与否有着密切关系,今将这方面的作用原理比较详细的叙述一下。

C\(_{11}\)是专为调节谐振频率用的,当旋转C11使屏流表下降至最小时,表示末级槽路正处在谐振状态,但此时还不能保证天线上有足够的输出,必须把天线调谐电容C\(_{13}\)也调整到谐振,使天线电流最大,如果调整C13时屏流表读数上升,说明天线回路已吸收末级糟路的电能。反复调整C\(_{11}\)使屏流下降,调整C13使屏流上升,直至屏流在12毫安左右,再调整C\(_{11}\)仍能看出很小的下降点时,这时是工作的最佳点。
如果调整C\(_{13}\)时屏流大于12毫安,但再调整C11并不能看出明显的下降点,说明天线负荷太重,应改变C\(_{12}\)的位置以达到上述最佳点所表现的现象为止。

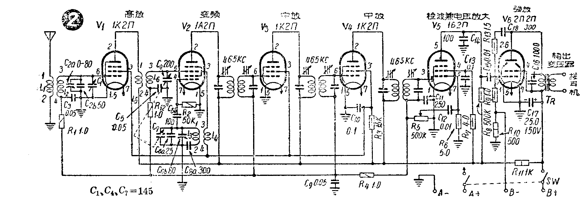
②收信部份工作原理:本机采用一级高放两级中放的超外差式收信电路(图2),天线信号经L\(_{1}\)交连至L2到达V\(_{1}\)栅极调谐电路后,首先进行高频放大,这一级的调谐是与变频极不同调的(因不易买到三连电容器)。放大后的高频信号经L5、L\(_{6}\)至V2栅极调谐电路,此时旋转双连电容器C\(_{4}\)、C7可以与外来信号差频出465千周的中频,本地振荡频率是在V\(_{2}\)下部的屏栅回授式振荡电路中产生的,它经C8b送至V\(_{2}\)振荡栅在V2内部进行差频。差频后的中频经V\(_{3}\)、V4的两级中放后送至V\(_{5}\)小屏3进行第二检波,检波后的低频成份通过电位器R5的调整,再经C\(_{12}\)交连至V5和栅极4进行电压放大,放大后的音频电压通过电阻交连电路(R\(_{8}\)C15及R\(_{9}\)R10)送至V\(_{6}\)栅极进行最后的功率放大。V6屏极至栅极之间所连的电容C\(_{18}\)和电阻R18组成负回授电路,目的在于减少失真改善音质。输出变压器T\(_{R}\)的初级阻抗是20千欧,次级阻抗是286欧,用来和直流电阻为200欧的国产传受话器匹配。
装置与调整
1.发信机中所用的屏流表我们是用50伏量程电压表改装的,因为只要求它能够看出屏流变动,不必过于严格。
2.收信机中C\(_{1}\)、 C4和C\(_{7}\)的容量都是145微微法,用市售360微微法单连和双连可变电容器改装的。目的在于减少它的波段复盖系数,使收听电台在度盘上所占的位置宽些,信号就容易找到了。改装的办法是用扁鸭嘴钳分别依次序拆下动片和定片即可。我们是把复旦牌双连可变电容器拆剩动静片各四片做成的。
3.收发信机中各个线圈的绕制见图5,收信机线圈及发信机线圈的L\(_{1}\)、L2均用26号中规0.5号漆包线绕制,发信机的L\(_{3}\)和L4分别用中规0.6号及0.75号纱包线绕制;输入和输出变压器的数据如下:T\(_{1}\)用截面积为1.3平方厘米的E型铁芯,初级用中规0.09号漆包线绕2640圈,次级用中规0.112号漆包线绕345圈。Ts用E型42号铁淦氧铁芯,初级用中规0.16号漆包线绕1200圈,次级用中规0.1漆包线绕至4138圈。

4.收信机高放级和变频级分开调谐,在寻找外来信号时,必须反复调整C\(_{1}\)和C4、C\(_{7}\)。这样,调整虽比较费事,但从同步效果上看,收信机的选择性是比较高的。
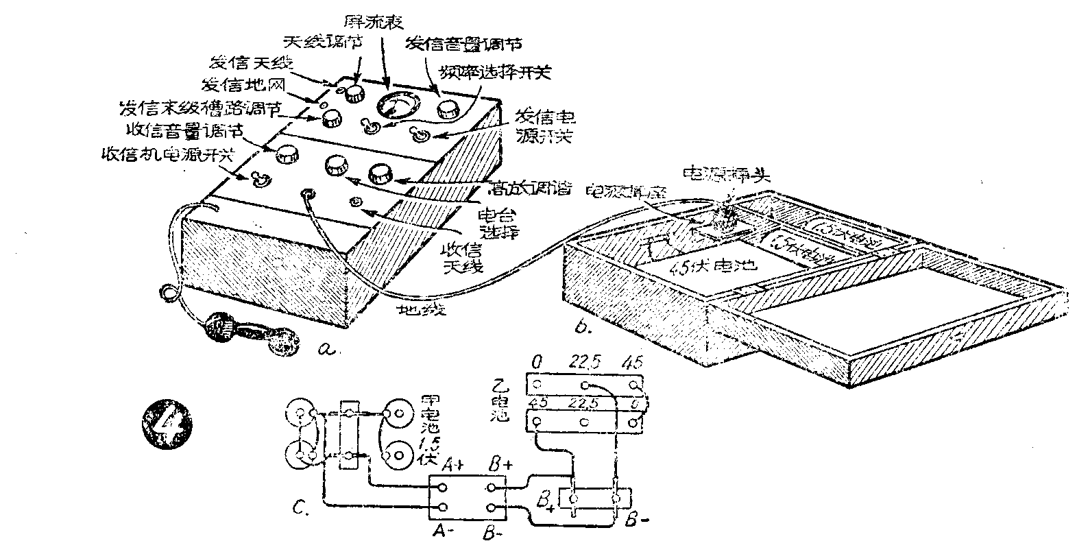
5.天地线的架设:收发信天线采用倾斜式户外天线,长25米,高度最少不低于8米,一般可选择乡村的大树再接上一两节竹竿。收信地线用直径3毫米以上长0.5米的金属棒,焊接地线引入线后插入地中。
发信地网的架设可用塑料外皮的多芯铜线沿地面0.5米高与天线平行延长10米以上,绑在与拉线相连结的绝缘了,拉线再与木楔或铁钉子拉牢绷直。详见图3所示。
注意事项
1.为了保证双工正常通信,收发信天线一定要相反方向架设。这个意思是指发信天线向东位倾斜式时,地网亦朝东伸延,而收信天线一定要正朝西面架设(图3),以免发信信号过强,压制收信信号,造成闭锁现象影响双工通话。
2.收信机灵敏度相当高,无线不必太长,否则容易造成双工时闭锁信号以及杂音较大之弊。
3.选用电池时应尽量采购空气电池比较经济耐用。
4.当遇到天气恶劣云层很低的雷雨天气时,为了防止天线引入雷电,应暂时将天地线用导线相连,正把机器拆下,以保证人身和机器的安全。(李超伦)

