我们已经学习过:在栅极检波电路里,在电子管屏极输出端接上一个名叫再生圈的回授线圈,使它和栅极回路里的调谐线圈交连起来,这时屏流中的高频成分通过这个回授线圈,便会在栅极回路的线圈上感应出电动势来。这样两个线圈间交连超过了一定程度时,还会使这一电路激发产生自激振荡。但是在交连回授小于恰好开始产生振荡的临界值时,收音机的灵敏度和选择性会显著地增加而达到最高点。这就是再生式收音机的特点。那么我们是否能把这样的回授方法加用在外差式电路里,来使外差式和再生式的优点合并起来兼而有之呢?现在就谈谈我在这方面做过的试验。
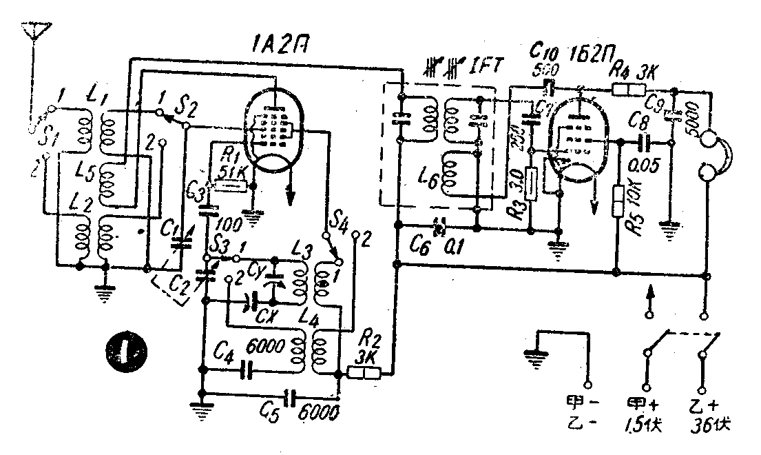
试验中是用一只1A2П和一只1Б2П装成一具简单的外差式机。用1A2П变频,1Б2П接作栅极检波。有中波和短波两个波段。在变频和检波级里都加上了再生线圈,这样使得整个电路结构十分紧凑,能在另件少、耗电省的情况下,使收听效果大大提高。试装线路如图1。

在外差式电路里,变频级电子管的混频部分是和高频放大级相似,也具有放大能力的。而且在这里它是收音机输入第一级,对机器本身的收音效能关系很大。如果能把这一级的增益尽量提高,就能使收音机多收到一些原来不易收到的信号微弱的电台。现在在这一级的屏极回路里串联上一只再生线圈,使屏回路里的高频电流又回输到栅极回路中去,它们之间的相位相同,就和再生式机的作用一样,对收到的信号电压连续进行放大、回授、再放大,使得这一信号电压大大加强。试验的这只收音机可以收听中波和短波两个波段。中波波段线圈(L\(_{1}\)、L3)是美通610R,短波波段线圈(L\(_{2}\)、L4)是美通640R。在这样两波段电路里加装一个合适的再生圈比较困难。我曾经按图2、图3和图4的接法作过不同的试验。按图2接法,灵敏度不但没有增加,反而很差。原因是变频级屏回路中输出的是中频和高频,再生电容器C\(_{k}\)对它们同样起着旁路作用,因而减弱了输出增益,使效果反而降低。按照图3的接法同样也不能使人满意,因为中波和短波的两个再生线圈是和中频变压器的初级串接着的,两个线圈的圈数和电感量并不一样,使中频变压器在调整上顾此失彼,难以调准,而且使电路中除有四刀双掷的波段开关以外,还须多有一个单刀双掷开关,来使再生圈随着转换。只有图4的接法才比较合理。这里中、短波两个波段共用一个再生圈(L5),在底板上把它固定在L\(_{1}\)和L2之间的一个适当位置上,使它和L\(_{1}\)与L2各有一定的距离,如图5中的X\(_{1}\)和X2。这两个距离调整得好,便可使中短波段都能获得满意的再生力。这只再生线圈是用另一只610的天地线圈,把初级线圈拆除而成。安装时要注意L\(_{5}\)的绕线方向是和L1、L\(_{2}\)的一致,线头接反,相位相反,成为负回授,不但不起再生作用,反而使收音效率降低。


在检波级里同样也增加了再生线圈,它的作用和普通再生式电路一样,不同的只是这里输入检波的是固定不变的中间频率,再生力一次调整好了以后,可以保持在最灵敏的一点,无须再动。中频变压器是华北厂产品(型号ZP03-1),它的体积小,Q值高,更大的优点是便于加绕再生圈。加绕时先把中频线圈从圆铝罩里轻轻地抽出来,在栅极线圈(有绿和黑色引出线的)背面的塑胶管上用0.1-0.3毫米径丝包线、纱包线,或良好的漆包线和栅极线圈同一方向乱绕30-35圈,一端与变压器黑色引线相接通地,一端穿上套管引至外面。

制作 此机可以装在一个130×100×60毫米的三合板木质底板上,底板上面另件按图6布置。L\(_{3}\)、L4线圈,波段开关S1-4,补偿电容器C\(_{y}\),垫整电容器Cx以及其他电阻电容器都装在底板下面。电源甲电用1.5伏单节手电筒电池供给,乙电只需36伏,便可在中、短波段满意地工作,可用十二节4号小电池(每节3伏)串联起来使用。
校验调整 此机由于电路里有两级再生,调整起来比较复杂,同步的要求也比较高。步骤如下:
(一)将波段开关旋在波段上,垫整电容器C\(_{x}\)不接,另用一只400微微法固定电容器代替,旋动双连电容器C1C\(_{2}\),调谐收听一个像中央640千周这样频率较低的电台。
(二)在变频级使再生线圈L\(_{5}\)先和中、短波天线线圈L1、L\(_{2}\)远离。在检波级将1Б2П的帘栅电阻R5拆下,换上一只3-5兆欧的电阻,这样使全部再生装置的作用降至最低。
(三)在调到低频电台后,慢慢地调整中频变压器的两只螺丝,使音量最大。
(四)调整变频级的再生力:先把再生圈L\(_{5}\)固定,在中波段的频率高的一端收听一个电台,将L1线圈缓缓地移动向L\(_{5}\)靠近(即调整图5中的距离X1),至灵敏度最高而又没有啸叫声的一点时,便将L\(_{1}\)固定在这里。然后将波段开关旋到短波段上,同样收听频率较高的一个电台,将短波天地线圈L2慢慢地向L\(_{5}\)移近(即调整图5中的距离X2),也同样至最灵敏而杂声最少的一点固定下来。调整时注意应该使交连的程度稍为松一些。否则日后更换乙电池,电压强些,便会产生叫啸声,影响正常收音。这一阶段调好以后,还须把中频变压器螺丝重新调整一下。

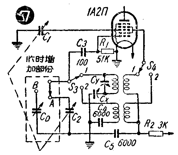
(五)双连电容器C\(_{1}\)、C2同步的调整:将波段开关旋至中波段。另用一只容量不小于250微微法的单连可变电容器和一只单刀双掷开关,按图7临时接到线路里,同时将作第一步校验时加用的400微微法固定电容器撤下来,重新焊上垫整电容器C\(_{x}\)。然后先调整频率低的部分,①旋单刀开关于4位置,收听到一个频率较低电台。②旋单刀开关至B位置,转动单连电容器CD,使上述的同一播音出现,再转动双连电容器至声音最响的一点。如转动时感觉声音变动不够敏锐,可将天线拆去再调。③旋动单刀开关回至A位置,调整垫整电容器C\(_{x}\),再使同一播音出现,这时表示双连电容器在频率低的部分已经调好同步。现在再调整频率高的部分,①旋单刀开关于A位置,收听频率较高的一个电台。②旋单刀开关于B位置,转动单连可变电容器CD,使同一播音出现,再转动双连电容器至声音最响的一点。③旋单刀开关回至A位置,调整补偿电容器C\(_{y}\),再使同一播音出现,这时表示双连电容器在频率高的部分也已经调好同步了。但是调整高频以后,低频部分又会稍有变动,所以应按以上步骤,反复地调整一二次。调好以后,将图7虚线内临时加添的另件拆除,仍按图1线路接好,此后Cx和C\(_{y}\)就不必再动。短波部分同步的要求不高,所以不必调整,最后把中频变压器的两只螺丝再在收听频率低的电台时,稍稍调整一次。
(六)调整检波级的再生力:把1Б2П的帘栅电阻R\(_{5}\)适当增减(按图1所示用的是10K),以调节这一级的再生力达到适当的地方。
结语 这只收音机调整好了以后,用耳机收听中、短波段时的灵敏度和选择性可以和交流五灯机相比。在北京西郊只用一根简单的天线,地线不接,中波段在早晨白天能收到天津、唐山、河北等电台,傍晚以后就能多收到山西、陕西、内蒙古、辽宁、山东以及四、五个外语电台。由于选择性好,所以有些电台虽然信号很弱,但也不致受中央台的干扰,这是一般简单收音机所达不到的。此机只用了两只小型省电管,没有低频放大级,所以一般只适合用耳机收听,用电很省,甲电的消耗只和一只用2П2П的单管机差不多。(李健)