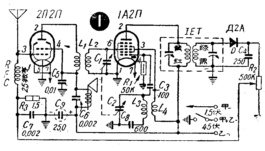
这是使用一只国产指形管2П2П担任不调整高放和低放,一只1А2П担任变频,和一只苏联制的点接触型半导体锗二极管Д2А担任第二检波的一具电池式直流二管来复式外差收音机。线路如图1。它的工作原理是:由天线接收到的微弱高频讯号直接输入2П2П的控制栅,在屏极的线圈L\(_{1}\)上得到经过放大的高频讯号电压,并耦合到调谐线圈L2上。调节双连可变电容器得到我们所要收听的广播讯号,通过交频管1А2П变频后,在它的屏极输出回路里产生一个固定在465千周、波形和原讯号相同的中间频率。这个中频讯号经二极管检波后,在电位器R2上产生一电压降——音频讯号电压降,频率比较音频讯号高的中频则经滤波电容C\(_{4}\)而旁路。在电位器上的音频讯号电压经高频扼流圈L反馈到2П2П的控制栅,经过放大的音频讯号使输出到喇叭或耳机而发出声音。

这具收音机需要的另件,比较特殊的是检波器上用了一只点接触型的半导体锗二极管,我用的是苏联产品Д2А,也可以用国产品Д9型晶体管。这种半导体晶体管目前在国内还不易购买,可以选择一般矿石收音机上使用质量较好的固定或活动矿石来代用。喇叭可用任何一种比较灵敏的舌簧式喇叭,C\(_{8}\)是半可变的衬垫电容器,也可以用一只600微微法纸质固定电容器来代替,低频旁路电容是耐压不低于50伏的电解电容器,用0.1微法的纸质电容器来代用也勉强可以。RFC是市售电感在2.5毫亨以上的高频扼流圈。L1至L\(_{4}\)是一付美通610R式线圈。甲电可用普通手电筒电池二只并联起来,乙电可以每支为3伏的双节四号电池15支串联起来使用,没有电位器或不需要控制音量,R2可以改用500K1瓦型的固定电阻。


具体制作和调整 这具收音机的底板可以使用水质的三合板。尺寸大小,另件的位置和安排见图2和图3。天地线圈L\(_{1}\)、L2装在底板上面,振荡线圈L\(_{3}\)、L4装在底板下面,方向与L\(_{1}\)、L2相互垂直,使它们之间的有害耦合减低到最小,把中频变压器的铝壳接地。2П2П管最好加盖金属隔离罩,也可以在管子上包上一层锡箔纸,并在锡纸外面用裸铜线绕上十几圈,再将线通地。甲乙电池最好是在装机时一起焊在电路里,用一只电源开关控制,这样不会因时接时拆,偶尔接错电极而把电子管烧毁。在焊接锗二极管时,和焊接所有半导体晶体管一样,必须用尖咀钳夹住引线施焊。焊接以前,先要把应焊的接头用小刀刮干净,焊的时候烙铁要够热,焊接的时间尽量短,焊好后,钳子还不要立即放开,要等焊头冷了再拿开。烙铁最好用较小型(45瓦)的,这样不致使晶体管受到过热的损坏。还要注意,各处焊接线要尽可能缩短,不要相互平行。全机接装完毕,经过复查线路没有错误,可以把电源接通。先用1.5伏小电珠接在2П2П灯座的1、5两脚,和1А2П灯座的1、7两脚,测试一下灯丝电压是否正常,便可进行收听。一般只要是线路没有接错,另件没有变质或损坏,不会有什么异常情况发生的。假如所用中频变压器是旧的,对于中频的频率是否正确,不能确定,就需调谐双连电容器到能固定在一个本地电台上,用起子反复地、慢慢地旋动中频变压器上的两个调整螺丝,直到从喇叭里放出最响亮的声音为止。
这只简单的外差式收音机具有一级高放和三个调谐回路,所以选择性比一般再生式机好得多,灵敏度也比较高。只须用手捏住天线接线柱,就可以用耳机收听当地电台播音,在无锡市郊用一米长的室内垂直天线,不接地线,就能用耳机听到中央和许多省内电台。接上室外天线,可以用舌簧喇叭收听本地和中央等台的播音。检波级用晶体管收音稳定。用普通的活动矿石时,调节得好,声音也很大,就是稳定性较差,不容易调节到和维持住最好的收音点。(唐存训)