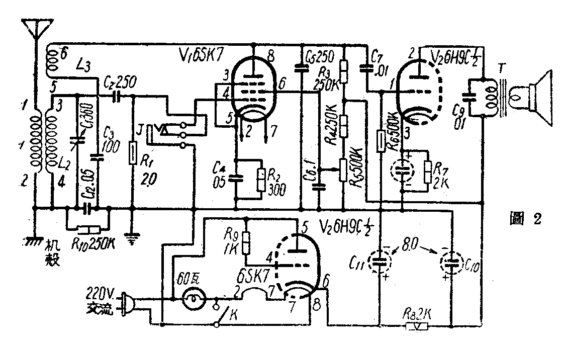
我利用零星的业余时间试装了这架附有台灯一起使用的交流两管收音机,用费不多,装置简易,使用方便,收音效果也相当好。它是再生式的,用一只6SK7作再生检波,一只6H9C(6SL7)的一个三极部分作低放,另一个三极部分作半波整流。线路如图2。

这具收音机未用电源变压器,这是它的特殊的地方,灯丝电源是由220伏市电经过一只60瓦电灯泡降压供给的。由于两只电子管的灯丝电流是相同的,所以把两管的灯丝串联起来。在收音时燃点着60瓦的电灯,不能算是经济,但它有一定的作用,在晚间既当指示灯用,同时还可以照明。收音机所需的高压也是直接由220伏市电取得,乙电的负端用一根粗铜线作为公共接地线,把机上所有需要接地的地方,除了线圈和可变电容器C\(_{1}\)接地端接在机完以外,其余都接到这根线上,然后再经C120.05微法纸质电容器和机壳相接,这样就可使调谐部分的高频通过这只电容器接通入地,另外还在C\(_{12}\)上并联上一只250K电阻(R10)来泄放可能积存的静电。如果使用时发现机壳麻电,可将电源插头调转插接,并在插头上作好记号,以后使用即按此插接,便很安全。
这具收音机在装置上尽量求其小巧,面板和底板的具体尺寸见图3。中间按装喇叭的面板是用七层水胶合板制作的,可以兼作喇叭的助音板。两侧架子和底板都是用厚铅铁皮制成。机内另件安排见图4,这样接线最短。装在前面面板上的,除了调谐电容器的度盘以外,就是电位器R\(_{5}\),它是用来调节6SK7管的帘栅极电压以控制再生力,同时又作音量控制用,效果很好。用作回授来产生再生力的电容器C3容量过大过小都不适宜,经实验以用100微微法的为最好。喇叭用了一只永磁电动式的,配用6V6的输出变压器,音质还很好。线圈是市售的圆筒式三回路再生线圈。K是与灯丝并联的一只开关,在未接通电源时先将K闭合,接上电源后,待电灯亮了燃热以后,再把K切断开始收音。这样可以对电子管的灯丝起一些保护作用。面板的另一边装着60瓦电灯泡的灯口,灯泡直接插在这上边,也可以如图1那样另备一只台灯,接一只灯头插在它的上边。在装置和焊接线路完毕以后,应当先用两只6.3伏300毫安的指示灯泡分别用接线插在两个电子管管座的灯丝孔内,接上电源,证明无误,然后再将电子管插上去。这具收音机无须使用室外天线和地线,只用一根3—5米长的电灯花线接到收音机上便可满意地收音。调节方法和一般再生机相同。在安徽省合肥市用室内天线白天除收听到本省两个电台以外,还能听到江苏台和中央台的两种节目,声音响亮清晰。在晚间还能满意地收听到江西、湖北、吉林等六个以上的电台播音,但声音较小,并需细心地进行调节。(周桂薪)


