我们在某工地担任宣传鼓动工作,由于工程进度快,大型扩音机供电困难,跟不上,因此,我们就自己动手装置直流扩音机,以适应工地的需要。并且在这个基础上以不添电子管为原则增设了收音部分,便于夜间街头宣传。
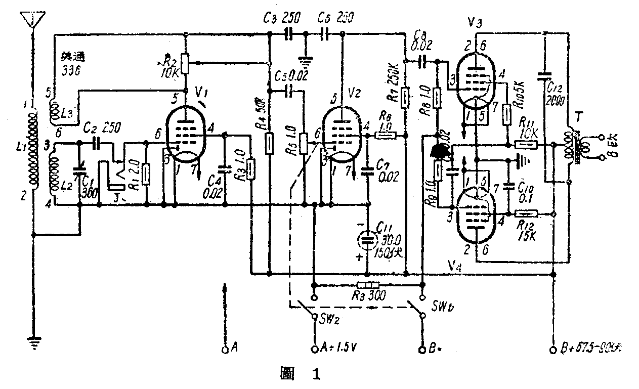
由于机器流动性强,便于携带起见,要求机器电路简单、省电,体积小巧,我们采用了图1的电路,用V\(_{1}\)(1S5或1В2П)作话筒前置放大(收音时作再生式检波),V2(1S5或1В2П)作电压放大,V\(_{3}\)、V4(3S4或2П2П)作推挽功率放大。

扩音时,话筒插入插孔J,收音部分讯号输入回路自动被插口接点断开,话音由V\(_{1}\)、V2、放大后经交连电容器C\(_{3}\)加到V3的栅极上,接在V3帘栅极上的R\(_{1}\)0、R11是反相分压器,从这里抽取一部分和V3栅极上相位相反而大小相等的话音电压经C\(_{9}\)加到V4的栅极上,这样V\(_{3}\)、V4、栅极上话音电压的相位永远相反。因此,当电子管V\(_{3}\)(或V4)的屏流上升时,另一个电子管V\(_{4}\)(或V3)的屏流就下降,输出变压器T初级圈里就产生重叠相加的交变电压,完成了推挽功率放大的目的。
收音时,只要把话筒插头拔出,V1变成检波管,再生大小由R\(_{2}\)控制。R5是音量控制器。
另\(_{件}\)方面,为了缩小体积,尽量采用小型的。输出变压器可购买现成的3S4用推挽输出变压器,自绕时可用18×18毫米日字形硅钢片,初级用0.11毫米(英规42号)漆包线绕3800圈,中心抽头;次级4欧用0.31毫米(英规30号)漆包线绕60圈,8欧用0.27毫米(英规32号)漆包线绕100圈,16欧用0.23毫米(英规34号)漆包线绕150圈。变压器铁芯要顺着一个方面插入线圈,并留一空隙,嵌入一层薄纸,以防磁饱和。其他如电阻R8—R\(_{13}\),这几根电阻要求比较严格,误差不要超过5%;C2、C\(_{3}\)和C6要用云母电容器,C\(_{11}\)是电解电容器,其它可用纸介的;电子管座要用有中心隔离芯的那种,并把它通地,避免不必要的交连。
本机采用木底板和木外壳,主要是为了减轻重量,但要求结构坚固,否则流动性大,易于损坏。面板的尺寸是190×140毫米,底板是190×80×30毫米;另件排列可参阅图2、图3、全部另件,(喇叭除外)包括话筒、喇叭线、天地线和电池等都装在一只275×160×17O毫米的木箱里,重量不超过4公斤。


在使用方面,配用小型12.5瓦高音喇叭,扩音时在室内河供300—400人收听,室外可供100—150入收听;收音时接一根1—2米长的尾巴天线,本地电台节目所得很清楚,至于要收外地电台时,那就要加接良好的天地线了。
附带说明的是,我们用的A电是用大号手电池5个并联而成,B电是日月牌45pp型67.5伏B电1\(\frac{1}{3}\)(90伏)方串联而成,如用北京牌电子管1В2П、2П2П,B电只要67.5伏。另外V\(_{3}\)、V4的特性要相同(管号相同),不能一个用2П2П,另一个用3S4。(蔡宣展)