中频部分在整个电视接收机中,是很重要的一个部分,中频部分的障碍会影响接收图象和伴音的质量,甚至完全失去声、影,所以它的检、修要求也是比较高的,下面分别介绍一般检修的方法和一些常见故障。
一、中频部分的一般工作原理:
在超外差式电视接收机中,从混频管输出的高频信号,先由中频电路加以放大,然后才将放大了的高频信号送到第二检波级。电视机的中频响应,不像收音机的中频那样单纯。由于电视广播信号中同时包含有声音信号和图象信号,又由于一般电视接收机伴音部分采用内载波方法,即在第二检波级之前,声、影的高频信号都经过同一中频通道加以放大,所以中频的带宽要求很宽,一般约在4—5兆周。
为了使中频有较宽的频带,中频电路的每一级的谐振频率,不是像一般收音机一样调谐在某一个频率上;而是将每一级中频设法调谐在不同的频率上,用参差的方法来得到较宽的频带(如图1)。有时还要在中频线圈上并联电阻。以减低槽路的Q值得到阻尼而进行补偿。

中频各级除了要有适当的频带宽度外,还要有合适的响应曲线,以适应近代电视发送时的单边带信号的特性,要求在高视频的边带最高处到图像的载频处,有50%的误减,适当地将低频部分衰减以使特性平坦。此外,为预防伴音信号影响图像信号,所以在中频电路里,加有抑制装置,使中频响应在伴音载波一边要有很陡峭的衰减,使伴音载波处的相对增盎几乎近于零,理想的中频特性见图2。中频的级数,根据各种不同的需要有2—4级,当然级数多一些,中频响应就可能好一些。中频管一般都采用互导率高,极间电容小的五极花生管。

二、中频部分的检修方法和步骤
在超外差式电视机中,若中频发生故障,一般会发生如下两种情况:1.无影无声;2.影弱声小,图象质量不好。应根据不同的故障采取不同的检修方法。
第一类故障有时用眼睛观察就能发现障碍的所在,如从机壳后就可看出是否有中频管的灯丝不亮,从底盘下可看出有否降压电阻烧坏或某处有跳火现象等。先找出可能找出的障碍现象,再一步步找发生的原因。查找时应从外到内,由后到前。
除了观察以外,有时要用万用电表逐级测每一级各极直流电压是否正常。当用万用表断续地测屏极电压(如图3),或用螺丝起子搭碰屏极和地打火花试屏压是否正常时,若工作情况正常,在接收机的扬声器或屏幕上应多少有些杂波或杂音反响。

除以上方法外,还可逐级用振荡器检查(如图4)。先将振荡器的输出端,按中频管的栅极,把振荡器调到工作频率上。正常时,屏幕上会出现一黑一白的横带子,扬声器也会发出振荡器输出的调幅叫声,否则就是电路中有地方发生障碍。

第二类障碍图像弱、声音小,也可用振荡器逐级查找障碍地点。每一级中频的增益,从屏幕上的黑白带子的深浅程度大概可以看出。此外还可在第二检波级的负荷电阻上,并接一个内阻较高的电压表测量输出,这样效果更好。用这两种测法,屏幕上的黑白带深浅和电表读数,应事先已有对正常情况测试的记录和印象以便比较。
三、中频部分常见的故障和处理
以“红宝石”和“记录”牌两种电视机为例。中频部分除了电子管可能损坏以外。各级电子管帘栅极的旁路电容器(6800微微法)较容易打穿,而导致屏极和帘栅极无电压,使各个降压电阻上的电流增大而烧坏。降压电阻烧坏有时也由于中频变压器初、次级碰线造成。
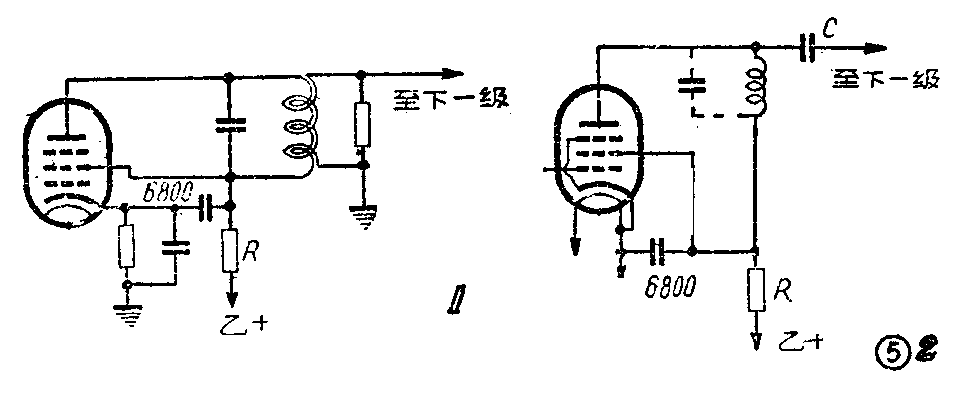
中频级的耦合一般都用单调谐电路(如图5①、②两种)。第一种是用两组线圈并绕在胶管上的初次级耦合方式。第二种是用电容隔断直流的方式。用第一种耦合方式,由于线圈抽头焊接处可能铜线裸露太多而往往发生初次极两头碰在一起的现象,结果使乙+经过降压电阻后直接通地而使降压电阻烧坏。因此若用万用表测得电容器无问题,就必需考虑中频变压器初次级是否短路,若有短路,则拆下线圈找出碰接点加以绝缘就行。

中叛变压器除以上毛病外,有时还会碰到抽头焊接不良的断路毛病。若发生在初级圈,则会造成中频管屏极无电压。用欧姆表量次级圈,若有读数(例如12千欧左右,因一般中频变压器的次级都并联有12千欧的阻尼电阻),则说明次级圈断线,正常时次级圈用欧姆表量时读数应接近于零。
在图5第二种线路上,耦合电容器G有时会漏电或打穿,这样下一级中频管的控制栅上有正电压,用直流电压表可量出。
中频各级增益降低特性变坏,有时是因中频变压器受潮,中频管内极间电容发生变化、谐振槽路的电容失效等使中频失调所引起的,也或者是人为地不慎将中频调乱而形成。对于这一类的故障,需要将每一级中频级的谐振频率——校正。校正时先将振荡器的输出端接在第一级中频管的栅极上,在第二检波级的负荷电阻上并联一只高内阻的直流电压表(如图6)。设第三级中频的谐振频率为30兆周,则将振荡器调到30兆周上。用绝缘起子,上下旋动该级变压器的铁粉芯,使电压表的读数达到最大。如果旋动铁粉芯时位置不论如何电表指针变动都非常小;而在第一、二级变压器上调谐时指针变动非常明显尖锐。则说明三级的中频失调,应该检查槽路元件。一般的只要将每一级中频调谐在原规定的频率上后,中频的特性就差不多能合原来的要求了。(朱光照)
