我们地区的防汛工作,原来用的是一套15瓦收发报机,去年大跃进后,市电问题解决,没有再用电池式收报机的必要,因此利用现有的收音机加装差频振荡器代替了原来的收报机,保证了通报的可靠性。
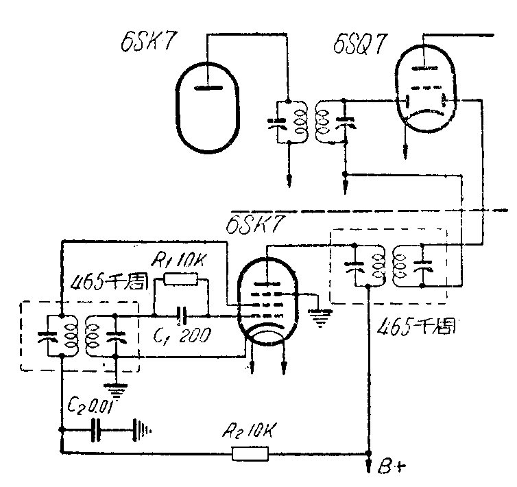
我们用6SK7做了一只465千周左右的差频振荡器(见图),把原机第二检波管6SQ7的一个小屏接线拆掉,改接差频振荡器的输出,振荡器产生的信号就在6SQ7管内与外来中频信号产生差拍,经过放大,喇叭内发出悦耳的音频信号。

我们改装的是上广155-A型5灯收音机,机内容纳不下加装的零件,只能把加装部分装在一只小木盒里,引出5条接线;再将原机后面220/110伏电源变换插拆去不用,直接照市电电压接成220伏,在原来8脚灯座上接5根线通机内,与加装的小木盒用一只8脚插头相连就行了。装后试听,短波段均能听到等幅电报。(黄维新、耿荣生)