这架收音机构造简单,另件少,体积小,使用起来比一般再生式收音机简便,适合旅行用。同时这架收音机价钱经济,如果使用北京牌业余品电子管的话,整个收音机只用7—8元就够了,比一具售品矿石机还便宜。

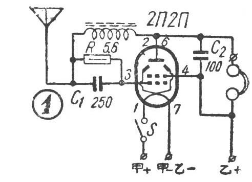
线路 见图1,电子管采用国产北京牌2П2П,听筒是永磁耳塞式的。这种听筒体积小,价线便宜。C\(_{1}\)要用云母或瓷介质的,质量要高。C2是纸质的,这是并联在耳机两端的傍路电容器,但是不能省去不用,同时它的数值对收音成绩影响也很大。R是炭质5、6兆欧电阻,它的数值对收音成绩关系也很大,一般用在4—6兆欧范围以内。
这机采用的是自灭式超再生电路,灵敏度极高。机中没有采用可变电容器作调谐,使收音机的体积缩小了许多。如果想使它的体积更小,那末连线路里的一只甲电源开关(采用台灯开关,电料行有售),也可以省去,只是使用时电池接上拆下,有些不方便。
制作 ①线圈:这是收音机里唯一需要自制的零件。用长85毫米,直径10毫米磁性瓷棒一支,注意要选择棒身比较直的,否则使用起来在线圈里抽出推入都不方便。把牛皮纸裁成70毫米宽的纸条,一面涂上万能胶,然后卷在磁棒上(开始的一段不涂胶,因为做完后磁性瓷棒还要抽出来),这便是线圈筒,绕厚约一公厘。等晾干了以后,将瓷棒抽出,在筒上绕线圈。线圈最好是用多股纺织线绕制,如果没有,可用单股30号漆包线在筒上共绕200圈。起头和收尾一定要弄结实,用牛皮纸裁成小纸块,按图2方法可以固定。绕好后把整个线圈放在溶蜡中浸一下。线圈里面不要弄上太多的蜡,免得磁性瓷棒放不进去,最后将磁棒插入线圈筒里,使它在里面不会掉出来,同时还能推进和拉出。这样线圈就完成了。②底板:取70×80毫米硬纸板或木三合板一块,把线圈、管座、开关和接线柱固定在上面,然后开始焊接。如果为了节省零件,电子管也可以不用管座,把电子管固定后直接在管脚上焊,这样更省地位。管座可以用固定矿石架来支持,方法见图3。零件排列和接线见图4。焊接时特别注意各接线不可用裸银线,如用漆包绝缘线也必须加套管,以保证机件的可靠性。③电源:用4个小型的4号双节电池(每个是3伏,尺寸是20×70毫米),用小木条做夹板把它们排好夹起来。两端用橡皮筋或线扎好,然后按照图5把它们焊接起来,注意各出线头不要弄错,最好用彩色套管套好以示区别,各接头也不要碰在一起,以免电池短路。最后把它们装人一只纸盒里,这样既便于携带又美观。




使用 把电池线接好,千万注意甲+和乙+不能接反。先不插电子管,将开关闭合,把2.5伏的小电珠接在管座1和7脚上。如果发光很白,表示没有问题。如果一闪就灭了,说明电池线接错。如果光度不很亮,说明甲电池没电了,应换新的。这些试过以后,拿一根1至2米长铜线挂在高处,尾端接在收音机上,插好电子管,用手捏住磁性瓷棒一端缓缓地向外拉,于是就可以听到广播的声音。使用时应注意两点:第一是天线使用时最好挂在高处。例如同是一根一米长的天线,垂直挂起来就比水平地放在桌上效果要好。这机利用变更磁性瓷棒的位置来调谐电台,它兼有磁性天线的作用。因此,这机也有方向性。尤其是当天线和线圈是在水平位置放置时,方向性更显著。在收听时可以转动收音机,找到一个最好的收听方向。另外天线的长度也会影响到收听频率。如果在试验时只能收到频率较低的电台,就要减短天线长度。如果只能收到较高频率的电台,就应该把天线加长。第二这机灵敏度很高,同时人体感应现象也很强,在调谐时一手拿机壳,一手拉磁棒,但是当拿机壳的手一离开,频率就会略有改变,尤其是当手靠近线圈时,这种现象更显著。因此在调谐时,手离开线圈要尽量地远一些,人体离开天线也要远些。如果用手摸着天线就会一点声音也没有了。
试验完了,可以把收音机也装在一个纸盒里。收音机的尺寸和电池盒大小一样,这两个盒可以很方便地捆在一起,再带上一根导线就可以带着这架小小收音机到各处去收听了。天线也可以灵活一些,比如晒衣服铁丝,铁纱窗,自行车等金属物体都可以充作天线。这架收音机作固定使用时,甲电池可以换用大号电池,使用期限可以长些。在室内只用一根简单室内天线,便可收音,这对于不便架设室外天线的同志们是非常方便的。
另外,这机还可以换用1R5电子管,线路如图6。应该注意这时灯丝电压改变了,不是3伏而是1.5伏,不能再用双节电池了。其它元件仍和图1相同。其它电子管像1К2П和1S2П等在本线路里都不适用。(戴士弘)