电线厂在生产电线和多芯电缆时,由于铜丝质量和操作上的问题,在成品中难免会有个别铜芯折断。过去遇到这种情况,多是用阻抗电桥来检验。这种仪器过去一向依靠进口,而且售价昂贵,每架价格将近1000元。阻抗电桥测量断芯是利用电容原理工作的。由于二导线之间的距离和介质等不同,测量结果,正确率一般只有90%到95%左右,如果是一根100米以上的多芯电缆的话,计算起误差的损失是很可观的。在目前厉行增产节约,加速建设社会主义的年代里,使折断铜芯的电线电缆能充分利用起来,还是具有重要意义的。这里介绍的电子测断仪就能针对这样情况解决上述问题。它可以测试橡胶和塑料被复的非金属保护层的电线和电缆。它的特点是正确性高,可以100%的准确,操作简便,不用经过计算就能正确指出折断的部位,特别是对新品种、数量少、规格特殊的产品检查,更感方便。它的结构简单,容易仿制,成本低,总共材料费不过六七十元,一般无线电爱好者都能自己动手装置。
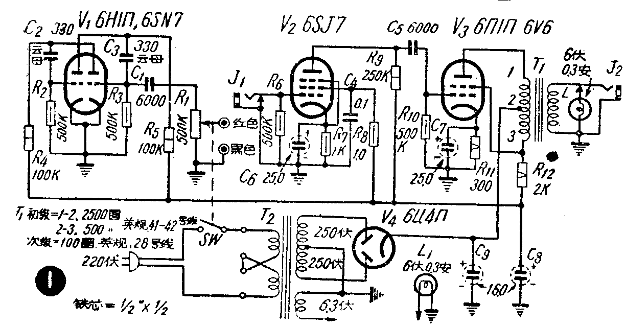
结构 这部仪器可以分为高音频发生器、接收部分、放大部分(包括指示器)和电源供给等四部分。线路如图1。

(一)音频发生器:这一部分是用一只双三极管(V\(_{1}\))作振荡产生高音频,讯号经C1输出至接线柱(红色)、电位器R\(_{1}\)控制输出强度。
(二)接收部分:这一部分是用厚0.5—1毫米,阔20毫米的铜皮或其他金属片弯成如图2所示的有缺口金属环。缺口大小以能放入被测电缆为适当,环的柄端焊接在一根测量电表用的试笔的金属触针部分。从检验环、表笔棒接至输入端的一部分,必须使用金属隔离线(话筒用金属隔离线),末端接在一只双芯话筒插头上。这一部分必须妥善隔离,以防外来干扰影响正确性。如果是经常大量测验的话,可以把金属环固定在绝缘的胶木板上,这样操作起来更方便。

(三)放大部分:这一部分是用一只五极管(V\(_{2}\))作电压放大,接收环上检来的微弱讯号,先经V2放大,再由V\(_{3}\)强放后经输出变压器T1耦合至指示部分。指示器是一只6伏0.3安的小电珠,加上一只大型红色玻璃指示灯罩。灯罩玻璃是宝石型的,这样可使微小的灯光明显一些。
(四)电源部分:用了一只四灯电源变压器T\(_{2}\)供给灯丝和高压电源,高压不要超过250伏。
使用操作 把折断铜芯的电线电缆,先用普通的电阻表测定一下,将折断的铜芯接在红色接线柱上(高音频输出端),将其他多余的铜芯并联起来接到黑色接地柱。要注意必须把多余的铜芯接地,不然将会受到干扰。然后将被测电线电缆套入金属检验环里,开启电源并适当控制高音频输出强度至小电珠发亮,移动电线电缆,当小电珠突然熄灭时,就是铜芯折断的部位。

工作原理 如图3虚线部分所示,高音频讯号具有短距离的发射作用,被测电缆铜芯是接在高音频发生器的输出端上的,因而在检验环通过电缆未折断部分时,环上就能检收到微弱的讯号,经放大后,使指示电珠发光。当电缆折断部分移动至检验环处时,由于讯号中断,检验环上也就收不到讯号而使电珠熄灭,这样就能立即诊断出铜芯折断的部位了。
效果 这部仪器具有上述一些优点,去年经我们试制试用后,在七月间曾经上海交电公司送往北京参加了全国商业技术革新展览会展出。去年同期上海许多生产单位都采用了这种仪器,经过一年多的使用结果,证明适合应用,可以完全避免由于测量仪器误差所造成的损失,而且操作简便,不用先测电容再经换算来求折断部位,可以提高工作效率。同时这部仪器的接收和放大部分还可以利用来作扩音机用。经过实验,在输入部分接上一只输出比较高的晶体话筒,输出部分接一只8欧10瓦的高音喇叭,在一千人左右的电影院里作过讲演用,坐在最后一排的人,声音还可以听得很清楚。J\(_{2}\)的另一用途是用来备接听筒或扬声器,在某种场合里可以用听觉来代替视觉来辨别折断部位。在未折断处高音频讯号音量比较大,到折断处,音量就显著降落。同样在装置时,如果购置零件不易,可以利用普通收音机的低放和拾音部分来作放大器,输出改按一只2.5伏的小电珠,另用一只双三极管作音频发生器,电源由收音机来供给,也能得到相似的检验效果。(周石英)
