我县今年准备发展一批田间流动广播站但是农村没有交流电源,因此如何把大量的适合生产大队指挥生产的流动广播站多快好省地建立起来,就给我们的技术工作提出了新的任务。
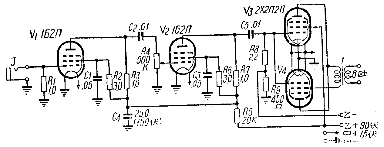
在领导的大力支持和鼓励下,我们开始改装母子收音机,但因电力小,只能供几百人收听,在外面使用压不住场。后来我们就用增加电力放大的方法,用旧收音机零件,采用四只省电电子管,专门装了一部扩音机(线路如图)。我们试用时,从一只10瓦高音喇叭增加到四只(配好阻抗),在屋外试听,在喇叭前直线100米之内,还听得非常清楚。为了考验这部机器的使用效果,在我县2,000多人的一次会上,用这部机器,带动两只25瓦喇叭,供县委作报告,前后使用三次,共用十三个多小时,效果良好。不但礼堂音量很好,而且礼堂外十米以内仍能听得清楚。足够4,000人收听。给大会节省了不少的工业用油和开支,县委非常满意,并要我站为农村大量生产。我们计划,在今年生产一批供给一批流动广播站使用(我们还正在考虑利用收音机增加电子管的办法改装)。

我们体会这种扩音机具有很多优点:
1.操作简便:使用民81电池一块,接上喇叭,插上电源、话筒,旋开音量控制开关,即可使用。群众容易掌握,适合在没有电源的农村推广。
2.利用灵活:全机重不过二公斤,携带方便适合作田间广播、开现场会、扩干会、机关厂矿广播、电话增音等用途,配上手摇唱机,还可以放唱片。
3.效果好:用胶质线接喇叭,在100米之内,可直接配接8欧使用,音量开至七、八成,离话筒一米讲话,声音很好,没有杂音。
4.经济耐用:装制一部机器,使用零件极少,成本只需30元左右。采用插头插座,能防止接线错误,不会损坏机器。一块民81电池,可用30小时以上。(湖北省红安县广播站)