目前流行的五灯超外差式收音机,在收音环境较劣或离电台较远的地区使用时,如果没有较优的天线,广播段白天收音效率低弱,而且一般五灯超外差式收音机的频率响应也不够理想,不能充分发挥音乐艺术性。最近我们参考了本刊第二期介绍的“音质优美的六灯机”一文,试装了一架六灯超外差式收音机,无论是灵敏度或选择性以及音质方面,都很令人满意。
线路说明

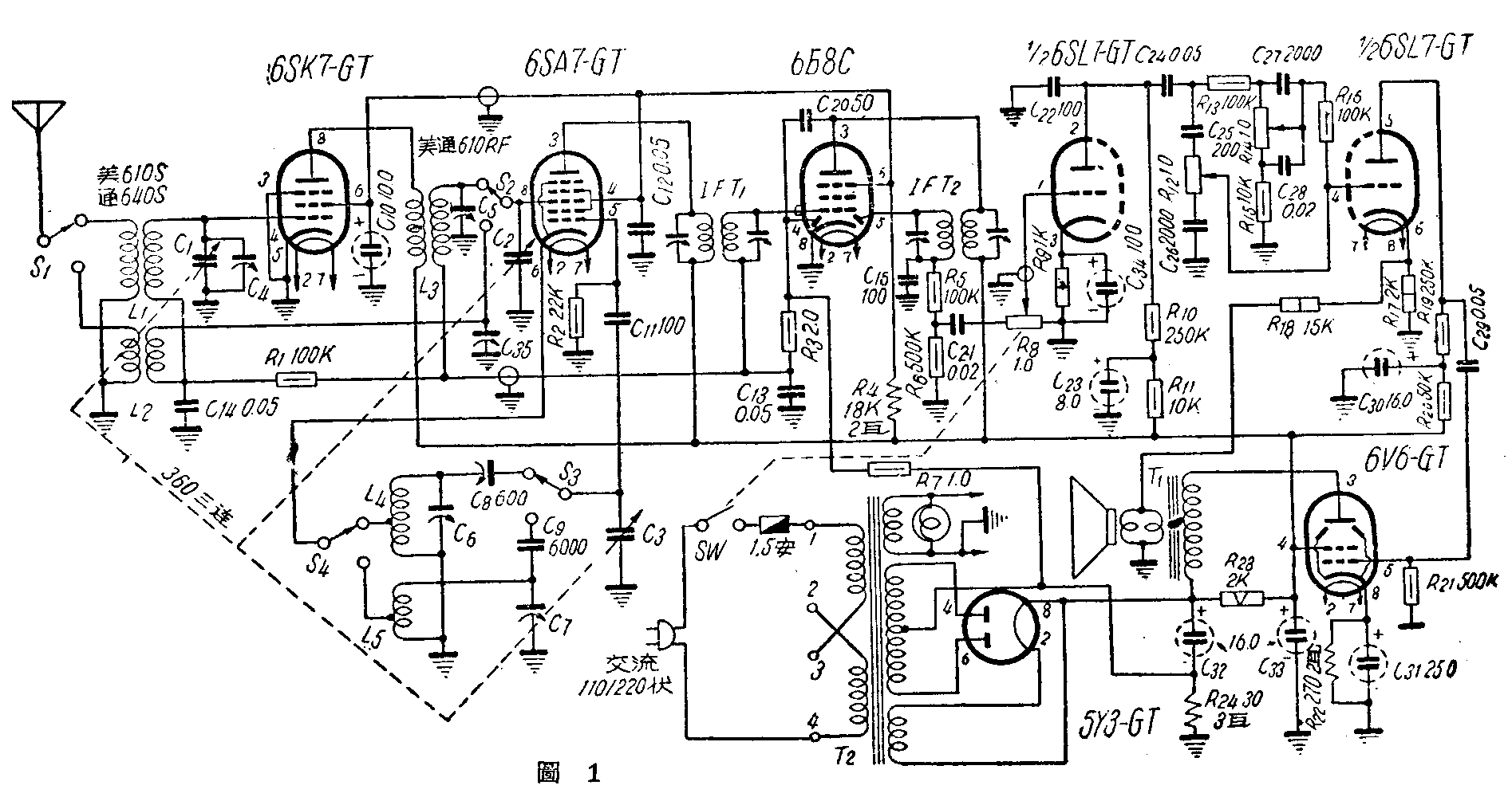
图1是本机的线路图。考虑到一般五灯机的短波段,在白天使用时效率还可应付,中波段则很差,所以本机高频部分的特点只在收听中波段时加一级高放,从而使中波段的灵敏度大增,选择性也有所改善。这样一来,不仅解决了在短波段高放级准确同步的困难,还可利用普通五灯机的四刀波段开关(六刀的不易买到)。低频部分的特点是有分开的高低音调控制(原理见本刊第二期)。
除了上面两点外,本机采用延迟式自动音量控制,使微弱的信号不致被抑制。延迟电压取自乙-电路中的R\(_{24}\),大致可得-2.4伏左右。另外,为了防止低频振荡,和减低失真、交流声和杂音,低频部分加有R11和C\(_{23}\)R20和C\(_{3}\)0组成的退交连电路,以及由输出变压器T1引出加到第二低放管阴极的负回授电路。
另件选择和安装
另件的选择和装接的好坏,对收音机的影响颇大。高频部分的电容器应采用高频损失较小的云母电容器。电阻R\(_{4}\)、R22、R\(_{24}\)和R23最好采用绕线电阻,以防工作中受热变值。其他的电阻最好用炭膜电阻不但不易变值,且杂声较低。中频变压器用股数较多的灵敏度高,不过装置时应注意零件的接线,接线不当容易引起叫声。波段开关可采用大型四刀双掷式的,不但接触可靠,使用寿命也较长。线圈一般市上售品有纸管和胶木管两种,以胶木管的损失较小,尤其是短波线圈,在选购时应注意。喇叭应选用口径较大的(如15—20厘米以上的)方能充分发挥低音。C\(_{5}\)、C6、C\(_{7}\)和C35为半调整电容器,C\(_{4}\)可用三连上原有的一只(另外两个应拆去)。
在装置时,应把天线线圈,高放线圈及振荡线圈三者互成直角。线圈应尽量放在波段开关附近,使接线最短。这部分接线应采用较粗的铜线。灯丝的接线应两股绞合起来,以减少交流感应。电解电容器怕受热漏电,排列时应远离工作中容易发热的零件如:R\(_{4}\)、R23,电源变压器T\(_{2}\)等。装置后如高放及中放部分有自激报荡的趋势时,可考虑在各屏极电路的B+端加入退交连装置。退交连电阻约500—2500欧,电容约O.05—8微法。高放及中放级应注意隔离,其第一脚应可靠接地。各零件的位置及方向,应考虑使接线最短,尤其是各灯座更应注意。底板上零件排列可参考图2照片。

装竣后的检查、试听和调整
装竣后应详细检查,才能进行试听。以免一时马虎造成损失,悔之不及。一般装收音机的步骤是装完以后,按图检查两遍,然后开启电源试听。因为外差机的构造很复杂,装完后一起检查,对经验不足的无线电爱好者来说,不是没有困难的。不妨可以这样来做:每装好一级或两级,就检查试验一次,没什么问题再进行下一级的装配。这样做的优点是检查容易,可说是事半功倍。本机可以装好整流及低放级后,试验一次,装好两级电压放大级后再试验一次,装中放级、变周级和高放级,每装好一级,都应试验一次,这样才能够保证不发生意外。
上面的机件装好后,不经一番细心校验,效率可能很低甚至根本不能收音。调整主要包括中放级,本地报荡,高放部分和天线部分。在没调整前,应先将自动增益控制线路接地,以便在调整中不使其发生控制作用。中放部分的调整,就是调整两支中频变压器上的四支微调电容器,应从第二级的次级开始,依次向前调整,使输出达到最大为止。本地振荡的校准主要是使与信号产生预定的差频和使波段的频率复盖范围准确。主要应在中波段调整,可找接近600千周、900千周和1500千周的三个电台,调整C\(_{8}\)和C6,使对准刻度盘。中波段本地振荡调整好后,短波段一般无需调整了。本地报荡调整好后,就可以调整变频管输入电路中的C\(_{5}\),使声音达到最响(短波调整C35)调整中波段天线线圈时,可把L\(_{1}\)次级接6SK7-GT4脚的线头和6SA7-GT8脚的线头拆去,然后把L1的次级改接到6SA7-GT的8脚,调整C\(_{4}\)至音量最响。调好后把接线改正,再调一下C4。把自动音量控制线和接地点拆开,全机竣工。
收听效果
我所在的收音环境不算好,离电台又远(鸡西市),但只用一付简单的室内天线,除能收听中央及大部分省台外,还收到一些地方电台如:南京、长春、天津、上海、齐齐哈尔等多处,也收到了一些国外电台的广播。(赵勇武)